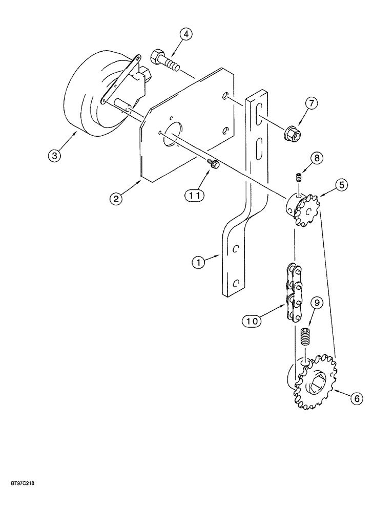
Запчасти Case IH AFS (04-18) - REDUNDANT SWITCH MOUNTING (55) - ELECTRICAL SYSTEMS

Схема запчастей Case IH AFS - (04-18) - REDUNDANT SWITCH MOUNTING (55) - ELECTRICAL SYSTEMS
6
8
5
1
4
2
7
9
10
3
11
FIT
1:1
100%

Артикул

Название

Примечание

Количество

1

190425A1

PLATE

SUPPORT bearing, jackshaft

1шт.

2

253087A1

BRACKET

sensor mounting

2шт.

3

231216A1

SENSOR

1шт.

4

413-620

BOLT,Hex, 3/8" - 16 x 1-1/4", Gr 5

4шт.

5

253088A1

SPROCKET ASSY.

drive, 10 tooth

1шт.

6

103681A1

SPROCKET

18 teeth

1шт.

7

231-5146

FLANGE NUT,3/8"-16

4шт.

8

483-1254

SET SCREW,Hex Soc, 1/4"-20 x 1/4"

hex socket headless, cup point, 1/4 NC x 1/4 inch

2шт.

9

483-1508

SET SCREW,Hex Soc, 1/2"-13 x 1/2"

set, hex socket headless, cup point, 1/2 NC x 1/2 inch

2шт.

10

NSS

NOT SOLD SEPARAT

drive, use 55 links from 1790D bulk chain, (1) 241 - 1314 connecting link and (2) 241-1714 offset links

1шт.

11

280-2448

SELF-TAP SCREW,Hex Wash Hd, #8 x 1/2"

hex washer head, No. 8 NC x 1/2 inch

3шт.

Выбрано товаров: 0