Запчасти Case IH AFS (04-42) - HARNESS (955 TRAILING AFS PLANTER - 1999, CYCLO FERTILIZER 12/23 SRC ONLY) (55) - ELECTRICAL SYSTEMS

Схема запчастей Case IH AFS - (04-42) - HARNESS (955 TRAILING AFS PLANTER - 1999, CYCLO FERTILIZER 12/23 SRC ONLY) (55) - ELECTRICAL SYSTEMS
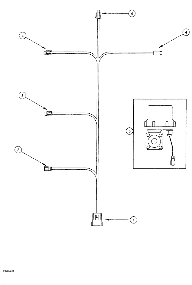
2
4
1
3
4
4
5
FIT
1:1
100%

Артикул

Название

Примечание

Количество

323318A1

HARNESS

Cyclo, fertilizer, 12/23 only, Includes Ref: 1-4

1шт.

1

225388C1

ELEC CONNECTOR,Male, 12 Pin

electrical, type NA, to fertilizer harness

1шт.

2

225316C1

ELEC CONNECTOR,Female, 2 Pin

electrical, to fertilizer rate valve

1шт.

3

276424A1

ELEC CONNECTOR,Female, 3 Pin

electrical, fertilizer feedback

1шт.

4

277904A1

ELEC CONNECTOR,Female, 4 Pin

electrical, 4 pin, to liquid section

3шт.

5

295765A1

VALVE

ball, electric

1шт.

304846A1

BRACKET

gate valve mounting, for mounting Ref. 5, harness connects to this item, not shown

1шт.

225466A1

GAUGE

pressure, pump, harness connects to this item, not shown

1шт.

323288A1

HARNESS

Cyclo MCC, see figure 04-39, harness connects to this item, not shown

1шт.

226734A4

VALVE

proportional flow control, see Figure 04-63, harness connects to this item, not shown

1шт.

296164A1

SENSOR

application rate sensor, see Figure 04-57 Ref. 29

1шт.

Выбрано товаров: 0