Запчасти Case IH AFS (04-44) - HARNESS (955 TRAILING AFS PLANTER - 1999, CYCLO FERTILIZER 12 ROW NARROW AND 16 ROW NARROW ONLY) (55) - ELECTRICAL SYSTEMS

Схема запчастей Case IH AFS - (04-44) - HARNESS (955 TRAILING AFS PLANTER - 1999, CYCLO FERTILIZER 12 ROW NARROW AND 16 ROW NARROW ONLY) (55) - ELECTRICAL SYSTEMS
1
2
4
3
2
FIT
1:1
100%

Артикул

Название

Примечание

Количество

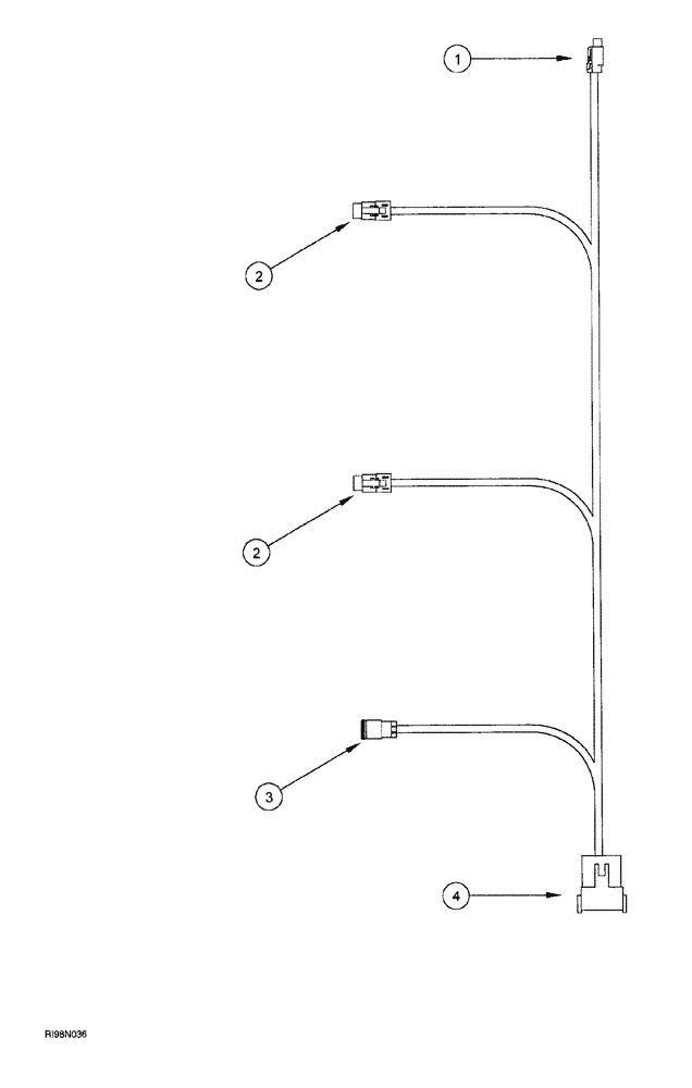
323444A1

HARNESS

Cyclo Fertilizer, 12RN and 16RN only, Includes Ref: 1-4

1шт.

1

276424A1

ELEC CONNECTOR,Female, 3 Pin

electrical, fertilizer feedback

1шт.

2

277904A1

ELEC CONNECTOR,Female, 4 Pin

electrical, 4 pin, to liquid section

2шт.

3

225316C1

ELEC CONNECTOR,Female, 2 Pin

electrical, to fertilizer rate valve

1шт.

4

225388C1

ELEC CONNECTOR,Male, 12 Pin

electrical, type NA, to fertilizer harness

1шт.

295765A1

VALVE

ball, electric, see Figure 04-42, harness connects to this item, not shown

1шт.

225466A1

GAUGE

pressure, pump, harness connects to this item, not shown

1шт.

323288A1

HARNESS

Cyclo MCC, see Figure 04-38, harness connects to this item, not shown

1шт.

226734A4

VALVE

proportional flow control, see Figure 04-62, harness connects to this item, not shown

1шт.

296164A1

SENSOR

application rate sensor, see Figure 04-56 Ref. 29, harness connects to this item, not shown

1шт.

Выбрано товаров: 0