Запчасти Case IH AFS (04-58) - GRANULAR CHEMICAL DRIVE (955 TRAILING AFS PLANTER - 1999, 12 ROW AND 16 ROW NARROW AND 12/23 SRC) (55) - ELECTRICAL SYSTEMS

Схема запчастей Case IH AFS - (04-58) - GRANULAR CHEMICAL DRIVE (955 TRAILING AFS PLANTER - 1999, 12 ROW AND 16 ROW NARROW AND 12/23 SRC) (55) - ELECTRICAL SYSTEMS
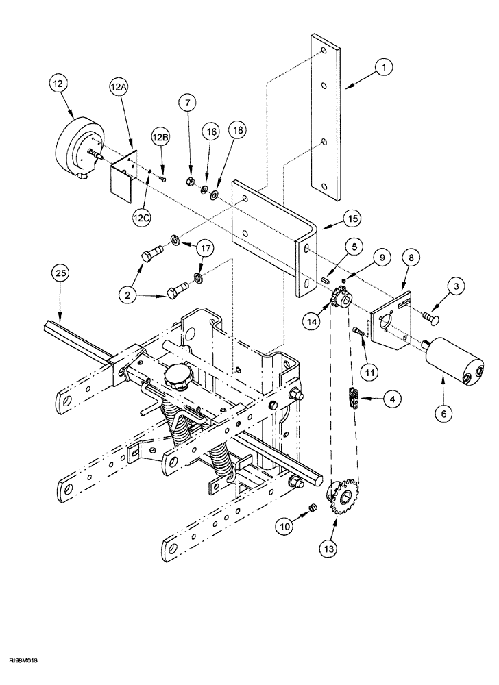
12b
12a
16
13
4
2
8
11
25
17
10
15
6
12c
1
3
7
18
5
12
14
9
FIT
1:1
100%

Артикул

Название

Примечание

Количество

1

336948A1

BAR ASSY.

1шт.

2

413-824

BOLT,Hex, 1/2" - 13 x 1-1/2", Gr 5

4шт.

3

434-620

CARRIAGE BOLT,Sht Sq Nk, 3/8" - 16 x 1 1/4", Gr 5

2шт.

4

NSS

NOT SOLD SEPARAT

roller, use 65 links of 1790D bulk chain, and one connector link 241-1314

1шт.

1790D

CHAIN (AG)

bulk, 10 foot roll

1шт.

241-1314

CHAIN LINK

connecting, single pitch, No. 40, 1/2 inch pitch

1шт.

5

475642R1

KEY,3/16" Sq x 11/16", Par

3/16 square x 11/16 inch long

1шт.

6

284797A1

MOTOR

meter drive

1шт.

6

284797A1R

REMAN-HYD MOTOR

AFS ADVANCED FARMING SYSTEM (NORTH AMERICA), meter drive, 1999, 12 ROW AND 16 ROW NARROW AND 12/23 SRC (5/99-)

1шт.

6

284797A1C

CORE-MOTOR HYDRAULIC

Return Number

1шт.

304296A1

SEAL KIT

motor seal, Eaton, not shown

1шт.

7

425-106

NUT,3/8"-16, Cl 5

2шт.

8

304618A1

BRACKET

motor mount

1шт.

9

483-1254

SET SCREW,Hex Soc, 1/4"-20 x 1/4"

hex socket, headless, cup point, 1/4 NC x 1/4 inch

2шт.

10

483-1508

SET SCREW,Hex Soc, 1/2"-13 x 1/2"

hex socket, headless, cup point, 1/2 NC x 1/2 inch

2шт.

11

62-32512

HEX SOC SCREW,1/4"-28 x 3/4"

3шт.

12

296164A1

SENSOR

KIT application rate sensor, Includes Ref: 12A, 12B, 12C

1шт.

12a

294473A1

BRACKET

anti-rotation

1шт.

12b

260-5448

SELF-TAP SCREW,Cross Pan Hd, #8 x 1/2"

Phillips

3шт.

12b

492-11008

LOCK WASHER,#8

3шт.

13

103681A1

SPROCKET

18 teeth

1шт.

141572C2

COLLAR

HUB sprocket

1шт.

14

232893A1

SPROCKET

drive, 10 tooth

1шт.

15

336950A1

SUPPORT

granular chemical drive

1шт.

16

492-11038

LOCK WASHER,3/8"

2шт.

17

80679

LOCK WASHER,1/20.507 CST ZND

4шт.

18

496-11041

WASHER,13/32" x 13/16" x .065", HDN

13/32 x 133/16 x 1/16 inch, hardened

2шт.

25

117008A1

SHAFT

drive, hex, 22 (7/8) x 1701 mm (67 inch) long

1шт.

25

135382A1

BAR

SHAFT drive, hex, 22 (7/8) x 1440 mm (56-11/16 inch) long

1шт.

26

1254283C1

COUPLING

3-9/16 inch (90 mm) long, not shown

1шт.

27

483-1386

SET SCREW,Hex Soc, 3/8"-16 x 3/8"

set, hex socket headless, cup point, 3/8 NC x 3/8 inch, not shown

1шт.

Выбрано товаров: 0