Запчасти Case IH AFS (05-16) - IMPLEMENT CONNECTOR MOUNTING (7000 AND 8900 SERIES TRACTOR) (55) - ELECTRICAL SYSTEMS

Схема запчастей Case IH AFS - (05-16) - IMPLEMENT CONNECTOR MOUNTING (7000 AND 8900 SERIES TRACTOR) (55) - ELECTRICAL SYSTEMS
3
1
5
4
2
FIT
1:1
100%

Артикул

Название

Примечание

Количество

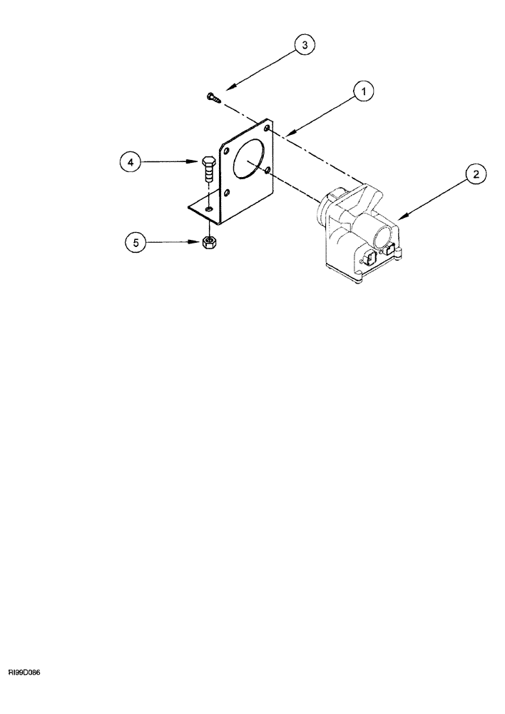
1

311249A1

SUPPORT

implement receptacle

1шт.

2

323597A1

MULTIPOLE CONNECTOR

implement, electrical

1шт.

3

779-34616

SELF-TAP SCREW,Hex Hd, M6.3 x 16

hex head, 6.3 x 16 mm

4шт.

4

614-10025

BOLT,Hex, M10 x 1.5 x 25mm, Cl 8.8

2шт.

L18337

CABLE TIE,9.95"-12.1" lg

CABLE STRAP tie, 15 inch, included in the AFS display installation kit, not shown

1шт.

417-524

BOLT,Sq Hd, 5/16" - 18 x 1-1/2", Gr 2

battery terminal 5/16-18 x 1.5 inch, grd 2, if necessary, included in the AFS display installation kit, not shown

2шт.

425-105

NUT,5/16"-18, G5

Battery terminal, If necessary, Included in the AFS display installation kit, Not shown

2шт.

896-11008

WASHER,9mm ID x 17mm OD x 2mm Thk

flat, hardened, 9 x 17 x 2 mm, included in the AFS display installation kit, not shown

4шт.

245854A1

CLIP

adhesive, included in the AFS display installation kit, not shown

2шт.

5

829-1410

NUT,M10 x 1.5, Cl 10.9

2шт.

Выбрано товаров: 10