Запчасти Case IH AFS (05-28) - IMPLEMENT CONNECTOR MOUNTING (5100, 5200 SERIES, C50-C100 PLATFORM & STRADDLE, MX MAXXUM ROPS/CANOPY (55) - ELECTRICAL SYSTEMS

Схема запчастей Case IH AFS - (05-28) - IMPLEMENT CONNECTOR MOUNTING (5100, 5200 SERIES, C50-C100 PLATFORM & STRADDLE, MX MAXXUM ROPS/CANOPY (55) - ELECTRICAL SYSTEMS
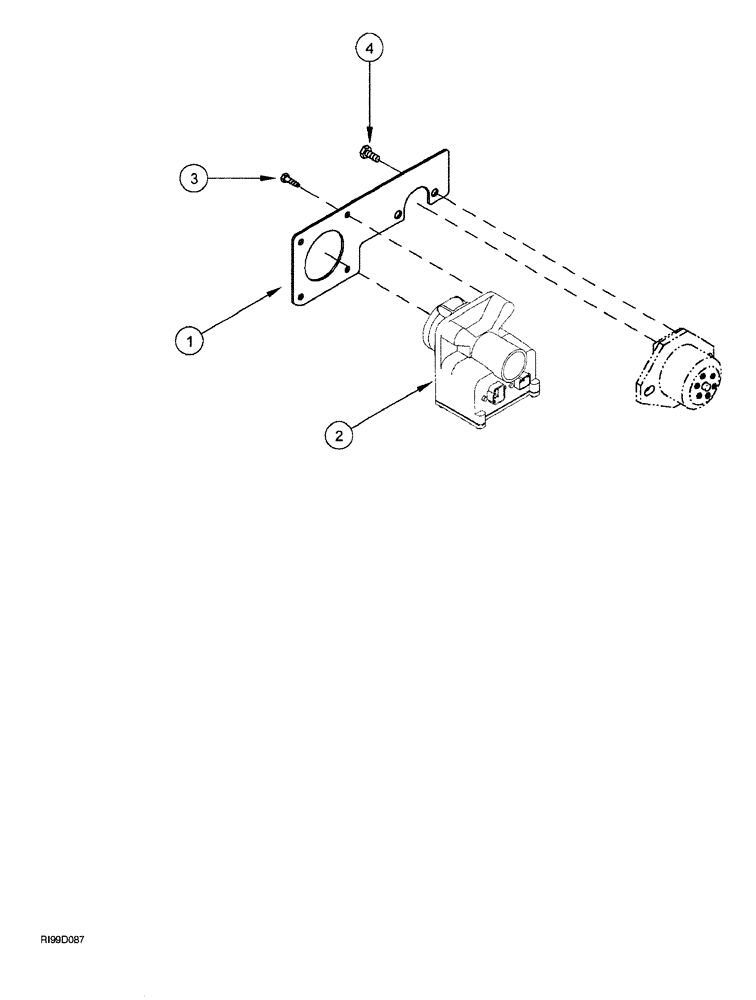
2
4
1
3
FIT
1:1
100%

Артикул

Название

Примечание

Количество

1

320965A1

SUPPORT

MOUNT implement receptacle

1шт.

2

323597A1

MULTIPOLE CONNECTOR

implement, electrical

1шт.

3

779-34616

SELF-TAP SCREW,Hex Hd, M6.3 x 16

hex head, 6.3 x 16 mm

4шт.

4

614-8025

BOLT,Hex, M8 x 1.25 x 25mm, Cl 8.8, Full Thd

2шт.

4

614-8014

BOLT,Hex, M8 x 1.25 x 14mm, Cl 8.8, Full Thd

2шт.

L18337

CABLE TIE,9.95"-12.1" lg

CABLE STRAP tie, 15 inch, included in the AFS display installation kit, not shown

1шт.

245854A1

CLIP

adhesive, included in the AFS display installation kit, not shown

1шт.

417-524

BOLT,Sq Hd, 5/16" - 18 x 1-1/2", Gr 2

battery terminal, 5/16-18 x 1.5 inch grd 2, included in the AFS display installation kit, not shown

2шт.

425-105

NUT,5/16"-18, G5

Battery terminal, Included in the AFS display installation kit, Not shown

2шт.

Выбрано товаров: 9