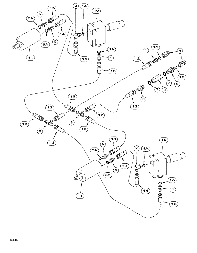
Запчасти Case IH AFS (04-12) - HYDRAULIC CIRCUIT - DUAL MODULE (35) - HYDRAULIC SYSTEMS

Схема запчастей Case IH AFS - (04-12) - HYDRAULIC CIRCUIT - DUAL MODULE (35) - HYDRAULIC SYSTEMS
1
5
14
1a
1a
13
5
12
14
5a
12
1
14
8
5a
4
5a
1
14
12
13
13
11
3
1a
9
13
13
1a
10
6
7
11
7
12
13
1a
5a
10
5
5
2
13
3
2
1a
13
FIT
1:1
100%

Артикул

Название

Примечание

Количество

1

218-5058

HYD CONNECTOR,9/16" - 18 Male JIC x 3/4" - 18 Male ORB

ADAPTER straight, 9/16-18 flare x 3/4-16 inch 0-ring boss

3шт.

1a

237-6008

O-RING,0.087" Thk x 0.644" ID, -908, Cl 6, 90 Duro

6шт.

2

218-5128

ELBOW,90° Elbow, 9/16" - 18 Male JIC x 3/4" - 16 Male ORB

Adj.

2шт.

3

218-593

TEE,9/16"-18, 37 Degree

9/16-18 inch flare branch x flare x flare

1шт.

4

1285718C2

QUICK MALE COUPLING

self-sealing male, 3/4-16 inch thread

2шт.

5

218-5057

HYD CONNECTOR,9/16" - 18 JIC x 9/16" - 18 ORB

4шт.

6

218-5354

HYD CONNECTOR,9/16"-18, 37 Degree x 7/8"-14, O-Ring

1шт.

7

237-6010

O-RING,0.097" Thk x 0.755" ID, -910, Cl 6, 90 Duro

2шт.

8

1279338C1

VALVE

VALVE check

1шт.

9

218-5066

HYD CONNECTOR,7/8" - 14 Male JIC x 3/4" - 16 Male ORB

Straight

1шт.

10

REF

INSTRUCTION

VALVE, see figure 04-25

2шт.

11

232892A2

MOTOR

2шт.

11a

276428A1

SEAL KIT

motor seal, Danafoss, not shown

1шт.

11b

304296A1

SEAL KIT

motor seal, Eaton, not shown

1шт.

12

1277717C1

HYDRAULIC HOSE,6.35 mm ID x 1525.00 mm

For 12 row narrow vertical fold mounted planters

2шт.

12

1261441C1

HYDRAULIC HOSE

5842 mm (230 inch) long, for 12 row narrow vertical fold trailing planters

2шт.

12

1264172C2

HYDRAULIC HOSE,6.40 mm ID x 2665.00 mm, SAE 100R1

2667 mm (105 inch) long, for 6/11 SRC mounted, 8 row narrow 22 inch mounted, 8/15 SRC mounted

2шт.

12

1284316C1

HYDRAULIC HOSE,6.35 mm ID x 6475.00 mm

For 6/11 SRC trailing, 8/15 SRC trailing

2шт.

13

810601C1

HYDRAULIC HOSE,9.53mm ID x 4191mm L

4191 mm (165 inch) long, for 6/11 trailing, 8/15 trailing, 6/11 mounted, 8/15 mounted

4шт.

13

1277717C1

HYDRAULIC HOSE,6.35 mm ID x 1525.00 mm

For 12 row narrow vertical fold trailing, 12 row narrow vertical fold mounted planters

4шт.

14

1277717C1

HYDRAULIC HOSE,6.35 mm ID x 1525.00 mm

For 12 row narrow vertical fold trailing, 12 row narrow vertical fold mounted planters

2шт.

14

810604C1

HYDRAULIC HOSE

735 mm (29 inch) long, for 6/11 SRC trailing, 8/15 SRC trailing, 6/11 SRC mounted, 8 row 22 inch mounted, 8/15 SRC mounted, 12 row 22 inch mounted planters

2шт.

5a

237-6006

O-RING,0.078" Thk x 0.468" ID, -906, Cl 6, 90 Duro

4шт.

Выбрано товаров: 23