Запчасти Case IH 1420 (08-24) - ELECTRICAL, CONTROL REEL SPEED TO GROUND SPEED, S/N 5501 AND ABOVE (06) - ELECTRICAL

Схема запчастей Case IH 1420 - (08-24) - ELECTRICAL, CONTROL REEL SPEED TO GROUND SPEED, S/N 5501 AND ABOVE (06) - ELECTRICAL
5
2
4
18
3
13
7
17
5
9
1
10
15
8
11
16
12
14
FIT
1:1
100%

Артикул

Название

Примечание

Количество

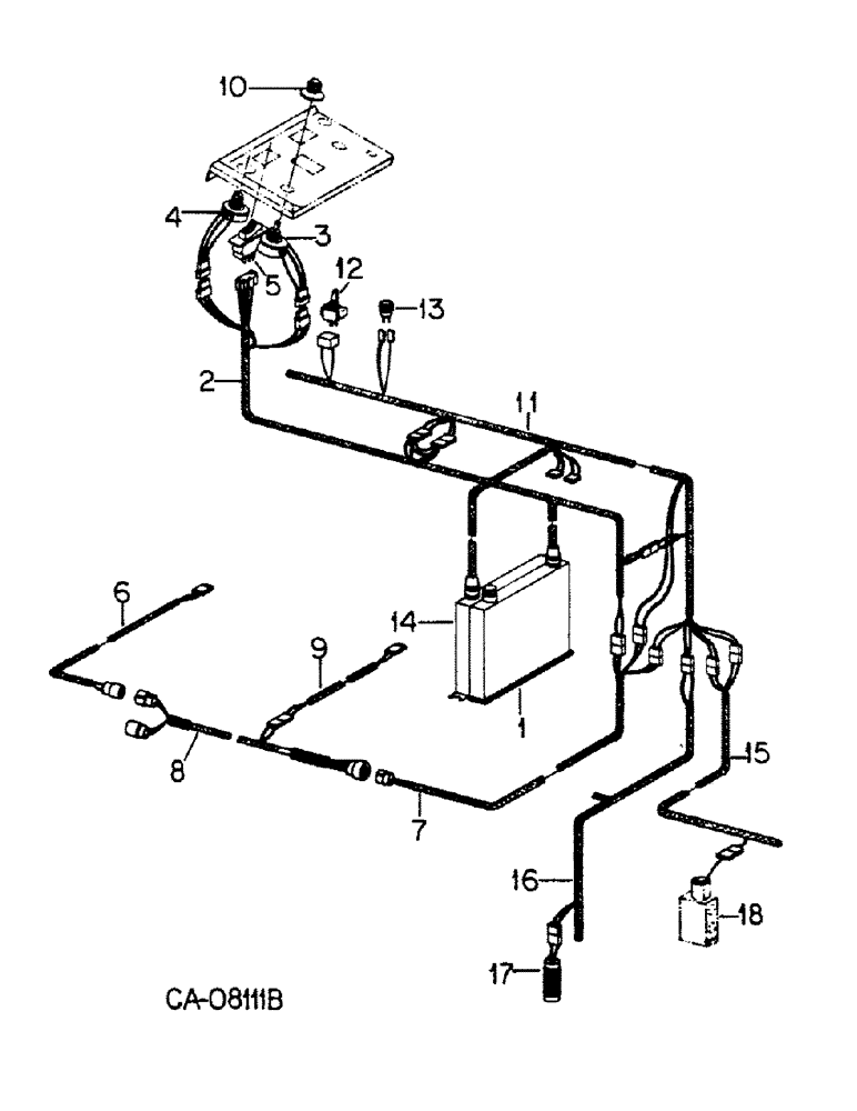
1

1301289C2

CONTROL

ASSY, auto reel speed to groung speed, Includes: nut and washer

1шт.

26110R1

LOCK NUT,1/4"-20, GC

NUT, 1/4 cad p/t lock type 5

1шт.

120392

WASHER,1/4", SAE

.281 x .625 x .051

1шт.

2

1301290C2

HARNESS

ASSY, RH console

1шт.

3

1301443C1

POTENTIOMETER

Reel Speed to Ground Speed Ratio

1шт.

4

1301574C1

POTENTIOMETER

Speed Calibration, Includes, Washer

1шт.

120394

WASHER,3/8", SAE

WASHER, .406 x .812 x .051

1шт.

5

183896C1

SWITCH

POTENTIOMETER CALIBRATION, Includes: screw

1шт.

156664

SCREW,Cross Oval Hd, #6 - 32 x 5/8"

1шт.

6

1301584C1

WIRE HARNESS

HARNESS ASSY, reel speed pickup

1шт.

7

HARNESS ASSY, ahc platform, refer to group 10 under automatic header control

1шт.

8

HARNESS ASSY, ahc feeder, refer to group 10 under automatic header control

1шт.

9

1301419C1

HARNESS

ASSY, feeder transducer

1шт.

10

1301036C1

BUTTON

KNOB, reel to ground speed control

1шт.

11

HARNESS ASSY, console, refer to this group under instrument panel

1шт.

12

1301522C1

SWITCH

ASSY, feeder clutch

1шт.

13

109369C91

LIGHT ASSY.

LAMP ASSY, feeder cut-off indicator

1шт.

71652C1

LENS

E

1шт.

200557H1

BULB,C2V, #1815, 14V

NO. 1815

1шт.

14

1310805C1

CONTROL

ASSY, automatic feeder cut-off, Includes: nut and washer

1шт.

ref #14 (P/N 1310805C1) - connection 2 pcs, 225136C1 & 225154C1. See page 3, ref #1.

1шт.

26110R1

LOCK NUT,1/4"-20, GC

NUT, 1/4 cad p/t lock type 5

1шт.

120392

WASHER,1/4", SAE

.281 x .625 x .051

1шт.

15

HARNESS ASSY, main front left turn, grain tank, unloader, rear light and fuel pump

1шт.

16

HARNESS ASSY, tachometer, refer to this group under right turn signal, headlights, digital read out and slip clutch

1шт.

17

GAGE, reluctance pick up, transducer, refer to group 7 under transmission differential shaft

1шт.

18

SOLENOID, feed clutch valve, refer to group 10 under feeder and separator clutch valve

1шт.

Выбрано товаров: 27