Запчасти Case IH 1420 (10-09) - HYDRAULICS, REEL DRIVE DIAGRAM, S/N 20000 AND BELOW (07) - HYDRAULICS

Схема запчастей Case IH 1420 - (10-09) - HYDRAULICS, REEL DRIVE DIAGRAM, S/N 20000 AND BELOW (07) - HYDRAULICS
10
18
3
9
17
13
12
16
11
2
8
7
6
17
14
1
14
15
5
4
13
19
11
17
FIT
1:1
100%

Артикул

Название

Примечание

Количество

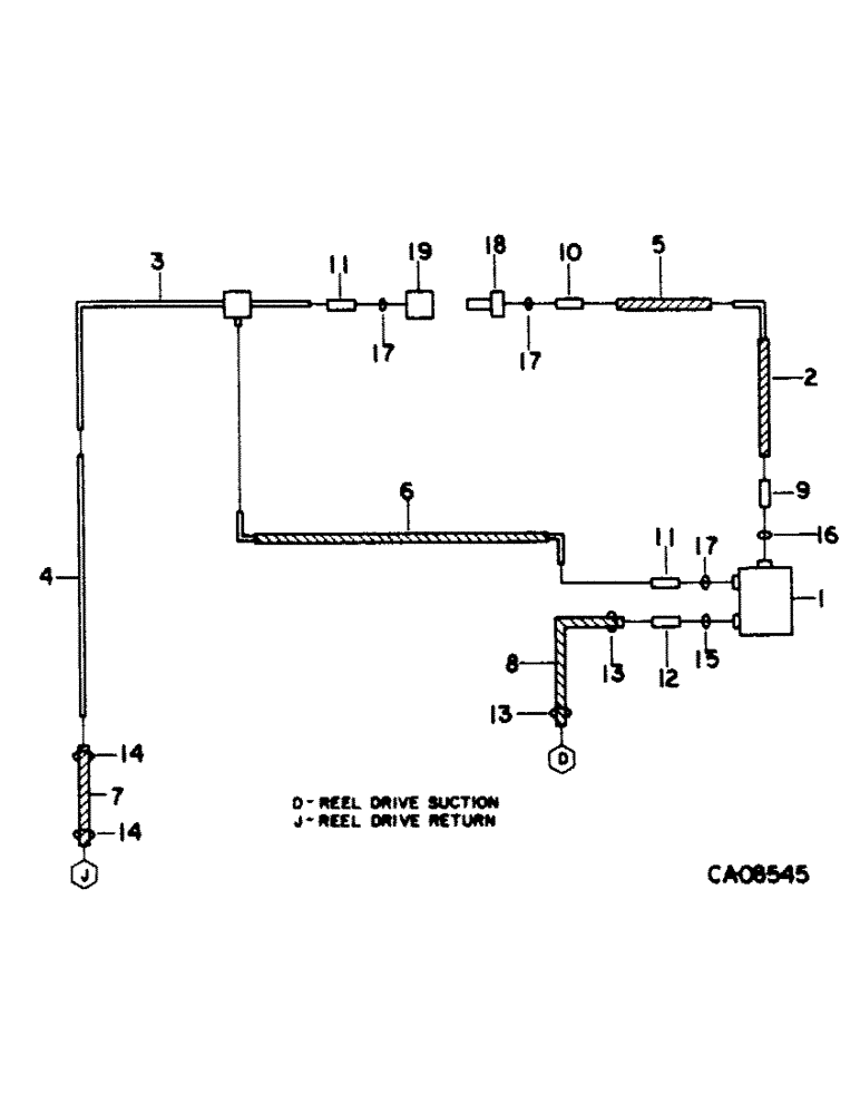
1

PUMP ASSY, reel drive, for details refer to this group under reel drive pump

1шт.

2

1301416C1

HOSE ASSY.

HOSE ASSY, reel drive pressure, 34.02 in., 864.11 mm

1шт.

3

187776C1

HYD TUBE

TUBE ASSY, reel drive return forward

1шт.

4

187777C1

HYD TUBE

TUBE ASSY, reel drive return rearward

1шт.

5

196878C1

HOSE

ASSY, reel drive

2шт.

6

1317078C1

HOSE

ASSY, reel drive pump return, 28.5 in., 724 mm

1шт.

7

HOSE, reel drive return, furnish 18 in. of 5/8 ID hose from 25 ft. roll marked S118576

1шт.

8

183957C1

HOSE

reel drive suction

1шт.

9

9410203

HYD CONNECTOR,3/4"-16, 37 Degree x 3/4"-16, O-Ring

CONNECTOR, 1/2 C-Z hyd fld short swivel

1шт.

10

481352R1

HYD CONNECTOR,3/4"-16, 37 Degree x 7/8"-14, O-Ring

CONNECTOR, 7/8-14 x 3/4-16 37 deg hyd

1шт.

11

9410204

HYD CONNECTOR,7/8"-14, 37 Degree x 7/8"-14, O-Ring

CONNECTOR, 7/8-14 37 deg hyd

2шт.

12

195731C1

CONNECTOR, ELEC

CONNECTOR, 1-5/16-12 x 1 in. flared

1шт.

13

333710R91

HOSE CLAMP,#16, 0.81/1.50 Type F Worm

SWITCH MOUNTING, reel drive suction hose

2шт.

14

122316R91

HOSE CLAMP,#12, 0.69/1.25 Type F Worm

CLAMP, reel drive return hose

2шт.

15

368269R1

O-RING,0.116" Thk x 0.924" ID, -912, Cl 6, 90 Duro

3/4 OD tube class 6

1шт.

16

570828R1

O-RING,0.087" Thk x 0.644" ID, -908, Cl 6, 90 Duro

3/4 OD tube

1шт.

17

364885R1

O-RING,0.097" Thk x 0.755" ID, -910, Cl 6, 90 Duro

5/8 OD tube

1шт.

18

395149R1

QUICK MALE COUPLING

COUPLING ASSY, reel drive hose self-sealing male

1шт.

19

395150R91

COUPLING, QUICK, FEM

COUPLING ASSY, reel drive hose self-sealing remale

1шт.

Выбрано товаров: 19