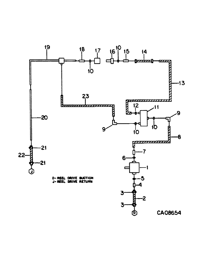
Запчасти Case IH 1420 (10-10) - HYDRAULICS, REEL DRIVE DIAGRAM, S/N 20001 AND ABOVE (07) - HYDRAULICS

Схема запчастей Case IH 1420 - (10-10) - HYDRAULICS, REEL DRIVE DIAGRAM, S/N 20001 AND ABOVE (07) - HYDRAULICS
21
4
1
23
7
16
22
8
10
10
10
6
20
5
21
19
18
10
11
9
12
3
15
2
14
17
13
3
FIT
1:1
100%

Артикул

Название

Примечание

Количество

1

PUMP ASSY, reel drive, refer to this group under reel drive pump

1шт.

2

183957C1

HOSE

reel drive suction, 30 in., 762 mm

1шт.

3

333710R91

HOSE CLAMP,#16, 0.81/1.50 Type F Worm

SWITCH MOUNTING, no. 16 type F

2шт.

4

1282383C1

FITTING,1-5/8" - 12 ORB x

1-5/8-12 x 1 in. beaded tube end

1шт.

5

307915R1

O-RING,0.118" Thk x 1.475" ID, -920, Cl 6, 90 Duro

1-1/4 OD tube class 6

1шт.

6

368269R1

O-RING,0.116" Thk x 0.924" ID, -912, Cl 6, 90 Duro

3/4 OD tube class 6

1шт.

7

573206R1

HYD CONNECTOR,7/8"-14, 37 Degree x 1 1/16"-12, O-Ring

CONNECTOR, 3/4 to 5/8 C-Z hyd fld

1шт.

8

1317078C2

HOSE

ASSY, pump to flow divider

1шт.

9

9410978

ELBOW,90 Degree, 7/8"-14, 37 Degree x 7/8"-14, O-Ring

5/8 C-Z hyd fld adj 90 deg.

2шт.

10

364885R1

O-RING,0.097" Thk x 0.755" ID, -910, Cl 6, 90 Duro

5/8 OD tube class 6

4шт.

11

VALVE ASSY, reel drive, refer to this group under reel valve drive

1шт.

12

570828R1

O-RING,0.087" Thk x 0.644" ID, -908, Cl 6, 90 Duro

1/2 OD tube class 6

1шт.

13

1315462C1

HOSE

ASSY, reel drive pressure

1шт.

14

196878C1

HOSE

ASSY, reel drive, 56 in., 1422.4 mm

1шт.

15

481352R1

HYD CONNECTOR,3/4"-16, 37 Degree x 7/8"-14, O-Ring

CONNECTOR, 5/8 to 1/2 C-Z hyd fld

1шт.

16

395149R1

QUICK MALE COUPLING

COUPLING, reel drive hose, self sealing male

1шт.

17

395150R91

COUPLING, QUICK, FEM

COUPLING, reel drive hose, self sealing female

1шт.

18

9410204

HYD CONNECTOR,7/8"-14, 37 Degree x 7/8"-14, O-Ring

CONNECTOR, 5/8 C-Z hyd fld short swivel

1шт.

19

187776C1

HYD TUBE

TUBE ASSY, reel drive return forward

1шт.

20

187777C1

HYD TUBE

TUBE ASSY, reel drive return rearward

1шт.

21

122316R91

HOSE CLAMP,#12, 0.69/1.25 Type F Worm

CLAMP, no. 12 type F

2шт.

22

HOSE, reel drive return, use 18 in. of 5/8 in. ID hose marked S118576

1шт.

23

1315463C1

HOSE

ASSY, reel drive valve return

1шт.

Выбрано товаров: 23