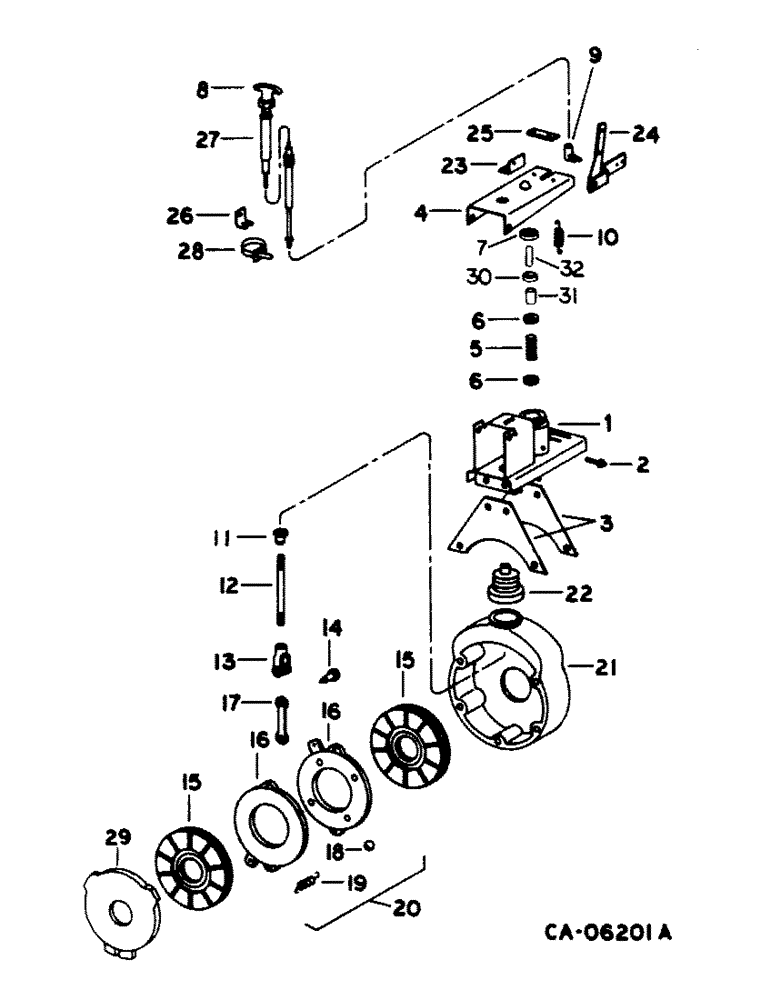
Запчасти Case IH 1420 (04-06) - BRAKE, MASTER AND PARKING BRAKES (5.1) - BRAKES

Схема запчастей Case IH 1420 - (04-06) - BRAKE, MASTER AND PARKING BRAKES (5.1) - BRAKES
13
14
6
23
31
27
9
3
12
16
10
26
28
21
17
8
32
25
18
16
11
29
30
19
2
22
20
1
5
15
6
15
4
7
FIT
1:1
100%

Артикул

Название

Примечание

Количество

1

1303496C1

SUPPORT

BRACKET ASSY, brake cyl LH to 5500

1шт.

1

184317C1

SUPPORT ASSY.

SUPPORT ASSY, brake cylinder LH, Start Serial: 5501

1шт.

1

1303690C1

SUPPORT

BRACKET ASSY, brake cyl RH to 5500

1шт.

1

184318C1

SUPPORT

ASSY, brake cylinder RH, Includes: bolt, nut and washer, Start Serial: 5501

1шт.

495967R1

CARRIAGE BOLT,Short NK, 3/8"-16 x 1", G5, Full Thd

BOLT, 3/8 x 1 crg type 5

1шт.

120377

NUT,3/8" - 16, Gr 5

1шт.

120382

LOCK WASHER,Helical Spring, 3/8"

WASHER, LOCK, 3/8"

1шт.

2

660901R1

VALVE

wheel brake cylinder bleeder

2шт.

3

177688C1

HANGER

brake cyl, Includes: washer

4шт.

120383

LOCK WASHER,Helical Spring, 7/16"

WASHER, LOCK, 7/16"

1шт.

4

177687C3

LEVER

wheel brake cyl, Includes: Nut, 2 pins, screw and 2 washers

2шт.

482256R1

BEARING LOCK NUT,Flg, USR, 3/8"-16

3/8 flange lock

1шт.

648002

KNIFE

1/8" x 3/4"

1шт.

28607R1

HEADED PIN,3/8" x 4"

PIN, 3/8 x 4 znd headed type 5

1шт.

477-73816

SERRATED SCREW,Sl Truss Hd, 3/8" x 1"

3/8 x 1 slt-truss-hd

1шт.

22264R1

WASHER

.406 x 1.000 x .164

1шт.

25709R1

WASHER

.406 x .812 x .051

1шт.

5

662612R1

SPRING

wheel brake cup

2шт.

6

51906H

CUP

wheel brake cyl piston rubber

4шт.

7

662620R1

COVER

BOOT, wheel brake cylinder

2шт.

8

170273C1

HANDLE

brake control cable

1шт.

9

165288C91

JOINT

BALL, joint 1/4-28NF, Includes: nut and washer

1шт.

120367

NUT,Hex, 1/4" - 28, Gr 5

1/4-NF type 5

1шт.

492-11025

LOCK WASHER,1/4"

WASHER, LOCK, 1/4"

1шт.

10

168567C1

SPRING

brake return

2шт.

11

354630R1

NUT

brake pull rod

2шт.

12

665995R1

ROD

brake pull, Includes: nut

2шт.

271506

DISC

7/16-NF type 5

1шт.

13

357043R1

CLEVIS,3/8" - 24

brake pull rod, Includes: nut

2шт.

107762

WASHER,3/32" x 5/8"

PIN, SPLIT, (COTTER), 3/32" x 5/8"

1шт.

16618R1

CLEVIS PIN,7/16" x 1.190"

PIN, 7/16 x 1.190 pln clevis

1шт.

14

354642R1

STUD

actuating disc

4шт.

118624

JAM NUT,Jam, 5/16"-24, G5

5/16-NF pln jam type 5

4шт.

15

121961C92

CLUTCH

DISC ASSY, middle, 4 reqd for serial no. 5500 and below, 6 reqd for serial no. 5501 and above 5501 to 5500

1шт.

16

DISC, not serviced separately, order disc assy, 366182R93

1шт.

17

357113R2

LINK

actuating plain

4шт.

18

17028R1

BALL,7/8" Dia

10шт.

19

619731C1

SPRING

6шт.

20

366182R93

CLUTCH DISC

DISC ASSY, actuating, includes ref nos. 14, 17 thru 19

2шт.

21

574914R2

HOUSING

wheel brake, Includes nut, washer, 2 bolts and a washer to 5500

2шт.

425-107

NUT,7/16"-14, G5

7/16 pln type 5

1шт.

20601R1

WASHER

.531 x 1.250 x .105 pln

1шт.

179873

BOLT,Hex, 7/16" - 14 x 3 3/4", Gr 5

1шт.

25504R1

SCREW,Hex, 7/16"-14 x 4 1/4", G5

BOLT, 7/16 x 4-1/4 pln type 5

1шт.

25846R1

WASHER

.496 x .992 x .051

1шт.

21

184177C2

HOUSING

wheel brake, Includes: 2 bolts and a nut, Start Serial: 5501

2шт.

272406

PLUNGER,Hex, 7/16" - 14 x 5", Gr 5

7/16 x 5 type 5

1шт.

187462

BOLT,Hex, 7/16" - 14 x 5 1/2", Gr 5

7/16 x 5-1/2 type 5

1шт.

NLS

NO LONGER SERVICED

7/16 pln type 5

1шт.

22

381699R1

BOOT

wheel brake housing

2шт.

23

177804C2

SUPPORT

parking brake ratchet, Includes: nut and screw

1шт.

938017R1

FLANGE NUT,Flg, USR, 5/16"-18

5/16 flange lock

1шт.

161945C1

SERRATED SCREW,Sl Truss Hd, 5/16" - 18 x 1"

5/16 x 1 znp slt-truss-hd

1шт.

24

177799C1

SECTOR

ASSY, parking brake, Includes: bolt and nut

1шт.

180124

BOLT,Hex, 3/8" - 16 x 1 1/4", Gr 5

3/8 x 1-1/4 type 5

1шт.

231-1446

NUT,3/8" - 16, Gr 5

NUT, LOCK, 3/8"-16, GB

1шт.

25

177802C1

BAR

parking brake ratchet, Includes: screw and nut

1шт.

161945C1

SERRATED SCREW,Sl Truss Hd, 5/16" - 18 x 1"

5/16 x 1 znp slt-truss-hd

1шт.

938017R1

FLANGE NUT,Flg, USR, 5/16"-18

5/16 flange lock

1шт.

26

184314C1

BRACKET

parking brake cable

1шт.

27

193292C1

BOWDEN CONTROL

CABLE ASSY, parking brake, 79 in., 2007mm

1шт.

28

702093C1

CABLE TIE

STRAP, parking brake cable tie

4шт.

29

188878C1

DISC

intermediate, serial no. 5501 and above

2шт.

30

662616R1

PISTON

wheel brake cylinder

2шт.

31

184304C1

SPACER

wheel brake piston

2шт.

32

665989R91

PISTON

PLUNGER, wheel brake

2шт.

Выбрано товаров: 66