Запчасти Case IH 1470 (08-18) - ELECTRICAL, AUTOMATIC FEEDER CUT OFF CONTROLS (06) - ELECTRICAL

Схема запчастей Case IH 1470 - (08-18) - ELECTRICAL, AUTOMATIC FEEDER CUT OFF CONTROLS (06) - ELECTRICAL
FIT
1:1
100%

Артикул

Название

Примечание

Количество

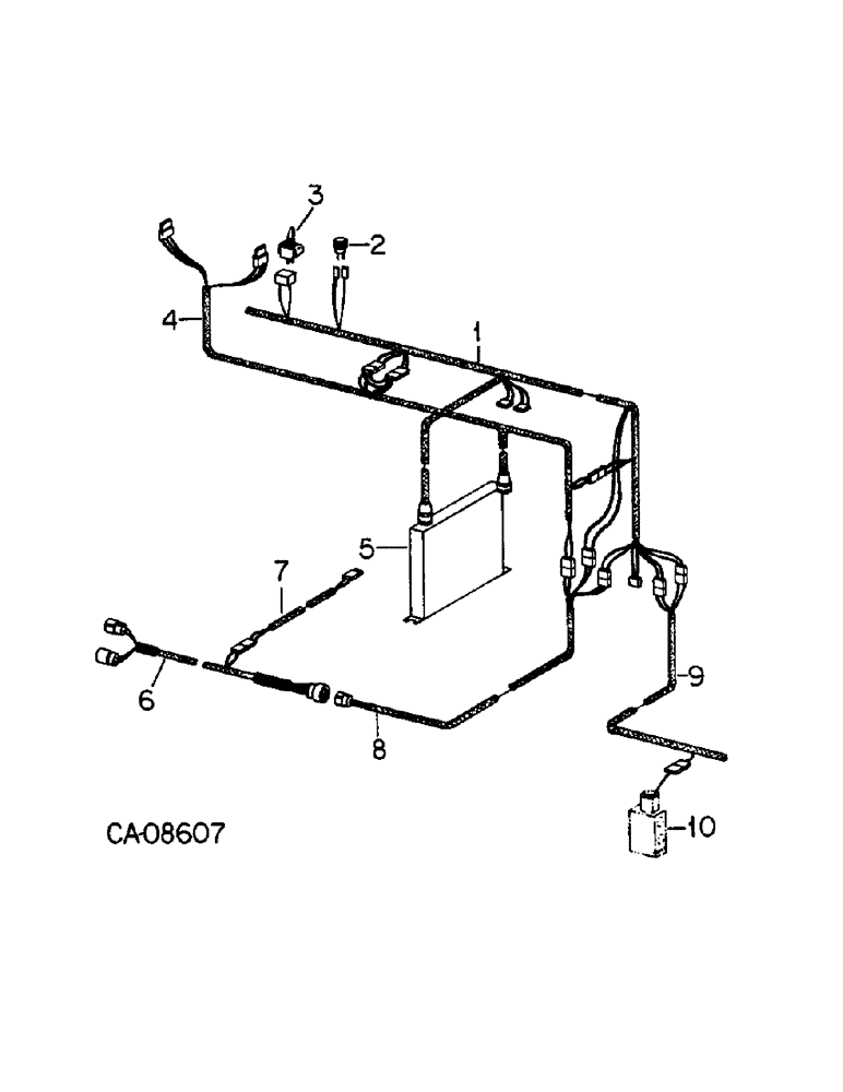
1

HARNESS ASSY, console, refer to this group under wiring diagram for instrument panel, Start Serial: 10001

1шт.

2

109369C91

LIGHT ASSY.

LAMP ASSY, feeder cut off indicator, serviceable items are

1шт.

71652C1

LENS

1шт.

200557H1

BULB,C2V, #1815, 14V

no. 1815

1шт.

3

1304063C1

SWITCH

feeder clutch

1шт.

4

HARNESS ASSY, header height control, refer to this group under wiring diagram for instrument panel, Start Serial: 10001

1шт.

5

1310805C1

CONTROL

ASSY, automatic feeder cut off

1шт.

231-4144

NUT,1/4"-20, GB

NUT, 1/4 cad P/T lock type 5

1шт.

120392

WASHER,1/4", SAE

.281 x .625 x .051

1шт.

6

HARNESS ASSY, automatic header control feeder, refer to this group under wiring diagram for engine and automatic header control

1шт.

7

1301419C1

HARNESS

ASSY, feeder transducer

1шт.

8

HARNESS ASSY, automatic header control to platform, refer to this group under wiring diagram for engine and automatic header control

1шт.

9

HARNESS ASSY, main front, refer to this group under wiring diagram for left turn, grain tank unloader, rear lights and fuel pump, Start Serial: 10001

1шт.

10

SOLENOID, feeder clutch valve, refer to group to under 4 wheel drive, feeder and separator clutch valve

1шт.

Выбрано товаров: 14