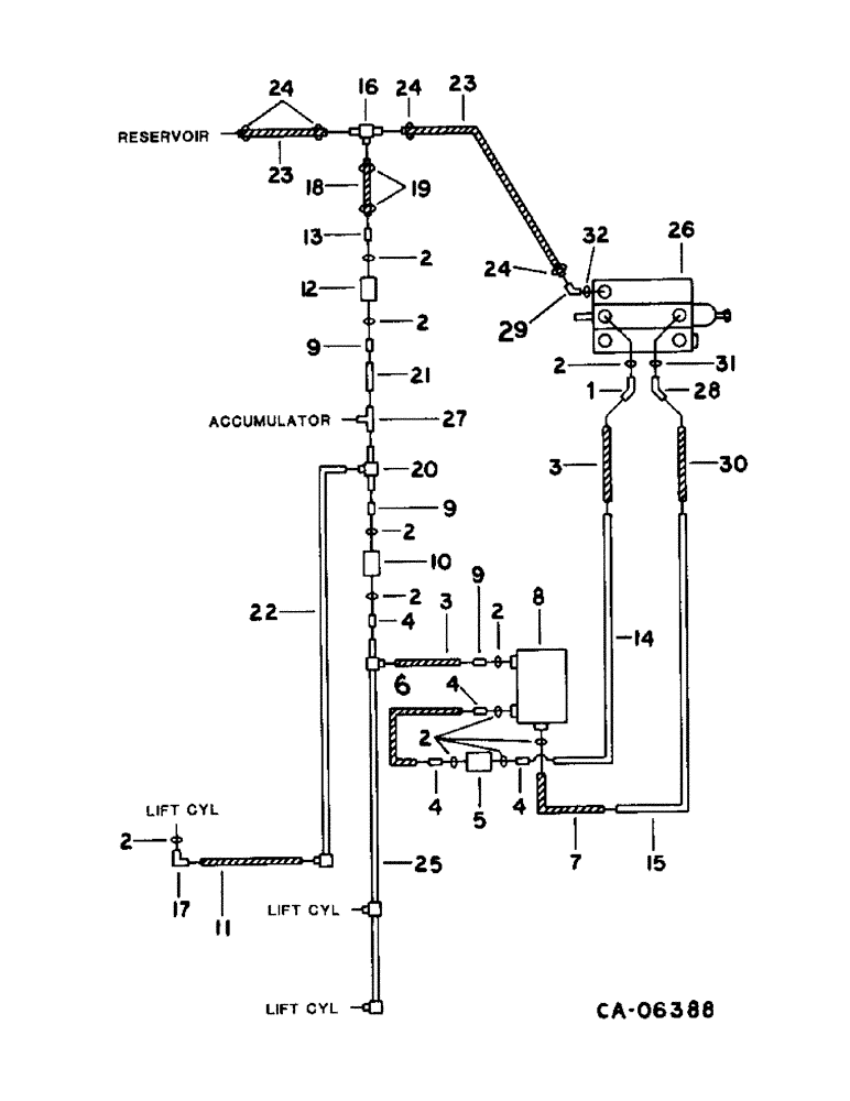
Запчасти Case IH 1470 (10-64) - HYDRAULICS, AUTOMATIC HEADER CONTROL DIAGRAM, SERIAL NO. 10000 AND BELOW (07) - HYDRAULICS

Схема запчастей Case IH 1470 - (10-64) - HYDRAULICS, AUTOMATIC HEADER CONTROL DIAGRAM, SERIAL NO. 10000 AND BELOW (07) - HYDRAULICS
24
2
19
23
2
20
31
29
3
14
24
9
25
22
28
7
10
27
2
16
12
6
4
3
13
18
2
2
15
4
2
2
1
8
17
9
23
26
11
5
2
32
30
24
9
4
21
4
FIT
1:1
100%

Артикул

Название

Примечание

Количество

1

9411105

ELBOW,45 Degree, 3/4"-16, 37 Degree x 3/4"-16, O-Ring

1/2 C-Z hyd fld adj 45D

1шт.

2

570828R1

O-RING,0.087" Thk x 0.644" ID, -908, Cl 6, 90 Duro

for 1/2 in. OD

11шт.

3

574230R91

HOSE ASSY.

HOSE ASSY, pressure

2шт.

4

384539R1

HYD CONNECTOR,7/8"-14, 37 Degree x 3/4"-16, O-Ring

CONNECTOR, C-Z hyd fld 5/8 to 1/2 sht

4шт.

5

174276C1

FITTING

COUPLING, pressure hose

1шт.

6

381173R91

HOSE,12.7mm ID x 209.55mm L, SAE 100R1

ASSY, flow control valve pressure

1шт.

7

HOSE ASSY, return (NSS)

1шт.

8

VALVE ASSY, header auto flow control, refer to this group under automatic flow control valve

1шт.

9

9410203

HYD CONNECTOR,3/4"-16, 37 Degree x 3/4"-16, O-Ring

CONNECTOR, 1/2 C-Z hyd fld short swivel

3шт.

10

187779C1

VALVE

needle, Parker, Hannifin

1шт.

10

183510C1

VALVE

needle, M and M

1шт.

11

144140C1

HOSE,9.53mm ID x 787.4mm L, SAE 100R1

ASSY, third lift cylinder, replaces 587582R91, 31 in., 787 mm

1шт.

12

195990C1

LOCK VALVE

VALVE, check, Parker, Hannifin

1шт.

12

183511C1

VALVE

check, M and M

1шт.

13

178039C1

CONNECTOR, ELEC

FITTING, 3/4-16 x 3/8 OD bead

1шт.

14

196753C1

HYD TUBE

TUBE ASSY, valve pressure

1шт.

15

196754C1

HYD TUBE

TUBE ASSY, valve return

1шт.

16

9411118

TEE,3/4"-16, 37 Degree x 3/4"-16, O-Ring Br

1/2 C-Z hyd fld tube adj

1шт.

17

9410977

ELBOW,90 Degree, 3/4"-16, 37 Degree x 3/4"-16, O-Ring

1/2 C-Z hyd fld adj 90D

1шт.

18

HOSE, third cylinder return, use 26 in. of 3/8 ID hose from 50 ft. roll marked 180730C1

1шт.

19

244713R1

HOSE CLAMP,#4, 0.25/0.62 Type M Worm

CLAMP, third cylinder return hose

2шт.

20

1304802C1

TUBE

ASSY, pressure

1шт.

21

1304801C1

TUBE

ASSY, return upper

1шт.

22

1304804C1

TUBE

ASSY, return

2шт.

23

HOSE, return, use 7 in. of 3/4 ID from 25 ft. roll marked 526603R1

1шт.

24

122316R91

HOSE CLAMP,#12, 0.69/1.25 Type F Worm

CLAMP, hose

4шт.

25

1304803C1

TUBE ASSY.

TUBE ASSY

1шт.

26

VALVE ASSY, header lift control, refer to this group under header lift valve

1шт.

27

9410334

TEE,37 Degree, 7/8"-14 x 7/8"-14, Fem Sw Run

5/8 C-Z hyd fld tube swivel

1шт.

28

ELBOW, 3/4-16 45 deg 37 deg, refer to this group under header lift and unloader swing cylinder diagram

1шт.

29

UNION, 7/8-14 x 3/4 45 deg, refer to this group under header lift and unloader swing cylinder diagram

14шт.

30

HOSE ASSY, header lift, refer to this group under header lift and unloader swing cylinder diagram

1шт.

31

O-RING, for 1/2 in. OD, refer to this group under header lift and unloader swing cylinder diagram

1шт.

32

O-RING, for 5/8 in. OD, refer to this group under header lift and unloader swing cylinder diagram

1шт.

Выбрано товаров: 34