Запчасти Case IH 1470 (10-71) - HYDRAULICS, HYDRAULIC RESERVOIR, RH SIDE (07) - HYDRAULICS

Схема запчастей Case IH 1470 - (10-71) - HYDRAULICS, HYDRAULIC RESERVOIR, RH SIDE (07) - HYDRAULICS
10
15
12
9
14
6
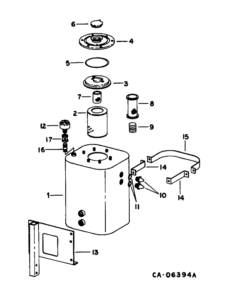
2
14
3
8
13
7
11
16
4
1
17
5
FIT
1:1
100%

Артикул

Название

Примечание

Количество

196824C91

TANK

ASSY, RH hydraulic oil, includes ref. nos. 1 thru 11

1шт.

1

BODY (NSS)

1шт.

2

528493R3

HYDRAULIC OIL FILTER

ELEMENT ASSY

1шт.

3

173131C1

COVER ASSY

filter

1шт.

4

179491C1

COVER

ASSY, tank

1шт.

5

21295R1

O-RING,5.725" ID x 6.275" OD x 0.275"

5-3/4 x 6-1/4 class 5

1шт.

6

361705R91

COVER

CAP ASSY, cover

1шт.

7

179489C1

FILTER, ENGINE OIL

FILTER, cover

1шт.

8

173929C1

STRAINER ELEMENT

STRAINER, port

1шт.

9

173930C1

SPRING

port

1шт.

10

244600R92

SIGHTGLASS

GLASS, oil level sight, includes ref. no. 11

2шт.

11

350429R1

O-RING,0.103" Thk x 0.612" ID, -114, Cl 5, 75 Duro

5/8 x 13/16 class 5

2шт.

12

923745C91

BREATHER ASSY.

BREATHER ASSY, filter

1шт.

13

1304189C1

SUPPORT

ASSY

1шт.

180130

BOLT,Hex, 3/8" - 16 x 2", Gr 5

3/8 x 2 type 5

1шт.

120377

NUT,3/8" - 16, Gr 5

1шт.

120382

LOCK WASHER,Helical Spring, 3/8"

WASHER, LOCK, 3/8"

1шт.

14

180153C1

STRAP

support

2шт.

15

180154C1

STRAP

support

1шт.

9635884

BOLT,Hex, 5/16" - 18 1", Full Thd, Gr 5

5/16 x 1 type 5

1шт.

7770

NUT,Hex, 1/4 - 20, Cl 5

5/16-18 hex.

1шт.

80681

LOCK WASHER,5/16"

WASHER, LOCK, 5/16"

1шт.

16

190723

LUBE NIPPLE,Nipple, 3/4" NPT x 2 1/2

NIPPLE, 3/4 x 2-1/2 pln long pipe, breather extension

1шт.

17

111661

COUPLING,3/4" NPT

3/4 pln pipe, breather extension

1шт.

Выбрано товаров: 24