Запчасти Case IH 1470 (33-14) - FEEDER, ROCK TRAP (13) - FEEDER

Схема запчастей Case IH 1470 - (33-14) - FEEDER, ROCK TRAP (13) - FEEDER
21
23
11
2
20
14
3
22
18
26
10
24
7
1
19
27
28
29
4
6
13
5
9
12
8
25
3
17
16
15
FIT
1:1
100%

Артикул

Название

Примечание

Количество

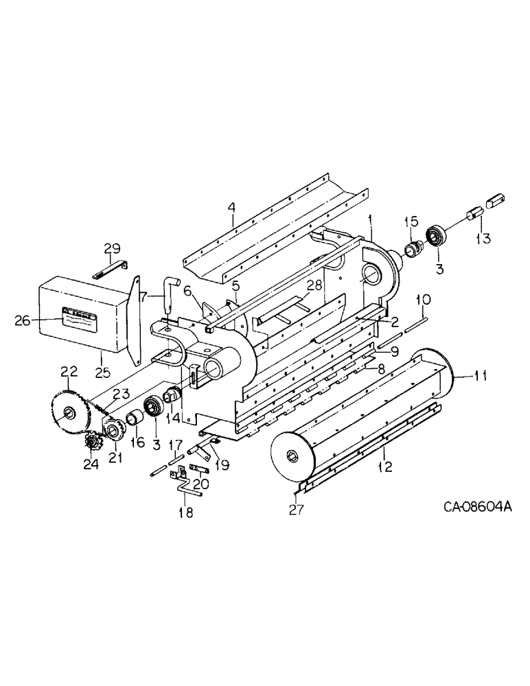
1

1320138C2

HOUSING

ASSY, rock trap

1шт.

155807C1

BOLT,Hex Serr, 5/16" - 18 x 1"

1шт.

938017R1

FLANGE NUT,Flg, USR, 5/16"-18

5/16 flange lock

1шт.

446363

WASHER,5/16"

.375 x .875 x .064

1шт.

2

1320279C1

ANGLE

rock trap wear

1шт.

135270

SERRATED SCREW,5/16" - 18 x 3/4"

5/16 x 3/4 znp slt-truss-hd

1шт.

938017R1

FLANGE NUT,Flg, USR, 5/16"-18

5/16 flange lock

1шт.

3

179665C91

BALL BEARING,38.1mm Hex x 85mm OD x 30mm W

BEARING ASSY, rock trap beater

2шт.

4

1320178C1

SUPPORT

COVER, beater housing

1шт.

161945C1

SERRATED SCREW,Sl Truss Hd, 5/16" - 18 x 1"

5/16 x 1 znp slt-truss-hd

1шт.

938017R1

FLANGE NUT,Flg, USR, 5/16"-18

5/16 flange lock

1шт.

5

1320254C1

PLATE

ASSY, seal back-up

2шт.

938017R1

FLANGE NUT,Flg, USR, 5/16"-18

5/16 flange lock

1шт.

6

195202C1

SEAL

feeder

2шт.

7

192533C2

ROD

PIN, feeder pivot

2шт.

520175R1

CLIP

PIN, quick attachable cot

1шт.

8

1320152C1

DOOR

ASSY, rock trap

1шт.

9

1320154C1

HINGE

rock trap door

1шт.

135270

SERRATED SCREW,5/16" - 18 x 3/4"

5/16 x 3/4 znp slt-truss-hd

1шт.

938017R1

FLANGE NUT,Flg, USR, 5/16"-18

5/16 flange lock

1шт.

10

1320149C1

ROD

trap door hinge

1шт.

11

1324124C1

BEATER

ASSY, rock trap feed, replaces 1320156C1

1шт.

12

1320158C1

SUPPORT ASSY.

BLADE, rock trap extension

4шт.

12

1320921C2

BLADE

rock trap extension serrated, replaces 1316043C91

2шт.

13

1320161C1

BAR

SHAFT, rock trap beater

1шт.

137323

COTTER PIN,5/16" x 2 1/2"

Pin, Split (Cotter), 5/16" x 2 1/2"

1шт.

20705R1

WASHER

1.781 x 2.500 x .054

1шт.

609376R1

WASHER

1.781 x 2.500 x .105

1шт.

14

1320268C1

SPACER

feeder sprocket, LH

1шт.

15

1320269C1

SPACER

feeder sprocket, RH

1шт.

16

162172C1

SPACER

1.81 x 2.25 x 1.94

1шт.

17

1320151C1

ROD

trap door latch

1шт.

18481R1

COTTER PIN,3/16" x 1"

PIN, SPLIT (COTTER), 3/16" x 1"

1шт.

18

1320204C1

HANDLE

rock trap door, LH

1шт.

180171

BOLT,Hex, 1/2" - 13 x 3/4", Gr 5

1/2 x 3/4 type 5

1шт.

9413967

LOCK NUT,1/2"-13, GB

NUT, 1/2 cad P/T lock type 5

1шт.

19

1320148C1

TUBE,560, 180 mm Length

rock trap door

1шт.

174608C2

BOLT,Hex, 3/8" - 16 x 1 1/2"

3/8 x 1-1/2 type 5

1шт.

120377

NUT,3/8" - 16, Gr 5

1шт.

20

1320128C1

LINK

rock trap connecting

1шт.

180122

BOLT,Hex, 3/8" - 16 x 1", Gr 5

3/8 x 1 type 5

1шт.

9411655

LOCK NUT,3/8"-16, GB

NUT, 3/8 cad P/T lock type 5

1шт.

21888R1

HEADED PIN,3/8" x 3/4", G2

PIN, 3/8 x .750 hd type 1

1шт.

648002

KNIFE

1/8" x 3/4"

1шт.

21

1320095C2

SPROCKET ASSY.

SPROCKET ASSY, drive, 16T

1шт.

22

1320095C2

SPROCKET ASSY.

SPROCKET ASSY, driven, 16T

1шт.

22

1320110C2

SPROCKET

ASSY, driven, 33T

1шт.

23

CHAIN ASSY, beater drive, used with 1320095C1 sprockets, use 41 links from 10 ft. roll marked 1793D and 1 connecting link 1786D

2шт.

1786D

LINK

#60H single pitch connecting

1шт.

23

CHAIN ASSY, beater extension, used with 1320095C1 sprocket and 1320110C1 sprocket, use 7 links from 10 ft. roll marked 1793D and 1 connecting link 1786D

1шт.

1786D

LINK

#60H single pitch connecting

1шт.

24

629972R91

DRIVE SPROCKET,15T

SPROCKET, beater driven chain, replaces 582018R1, 15T

1шт.

598819R1

CARRIAGE BOLT,Sq Nk, 5/8" - 11 x 2 1/4", Gr 5

BOLT, 5/18 x 2-1/4 crg type 5

1шт.

124589

BALL STUD,Hex, 5/8" - 11 x 2", Gr 5

5/8 type 5

1шт.

21783R1

SQ HOLE WASHER,41/64" x 1 1/2" x .105", Sq Hole

.656 x 1.500 x .090 sq/h

1шт.

21782R1

WASHER

.656 x 1.500 x .054

1шт.

492-11062

BEARING WASHER,5/8"

WASHER, LOCK, 5/8"

1шт.

25

1320609C92

SHIELD

ASSY, rock trap drive, includes ref. no. 26

1шт.

174985C1

BOLT,Hex Serr, 1/2" - 13 x 1"

SCREW, 1/2-13 x 1.0 hex flange

1шт.

487374R1

BEARING LOCK NUT,Flg, USR, 1/2"-13

1/2 flange lock

1шт.

26

1320694C1

DECAL

PRODUCT GRAPHIC, danger

1шт.

27

1314151C1

ANGLE

beater reinforcing

4шт.

154273C1

BOLT,Hex Serr, 3/8" - 16 x 1", Spcl

SCREW, 3/8-16 x 1 lock

1шт.

9411655

LOCK NUT,3/8"-16, GB

NUT, cad P/T lock type 5

1шт.

28

1320846C1

SUPPORT ASSY.

ANGLE ASSY, rock trap

1шт.

29

1320325C1

SUPPORT ASSY.

BRACKET, drive shield

1шт.

135270

SERRATED SCREW,5/16" - 18 x 3/4"

5/16 x 3/4 znp slt-truss-hd

1шт.

938017R1

FLANGE NUT,Flg, USR, 5/16"-18

5/16 flange lock

1шт.

SB 032.1-87 Rock Trap Door Latch

1шт.

SB 018-87 Rock Trap Beater Shaft Bearing Failures. 10/19/95

1шт.

The 1400 Series Combines had either a 3 or 4 blade beater, depending on the production date and parts replacement. T/S 225-87D. 10/19/95

1шт.

Выбрано товаров: 71