Запчасти Case IH 1470 (07-01) - DRIVE TRAIN, TRANSMISSION, DIFFERENTIAL SHAFT AND GEARS Drive Train

Схема запчастей Case IH 1470 - (07-01) - DRIVE TRAIN, TRANSMISSION, DIFFERENTIAL SHAFT AND GEARS Drive Train
16
19
23
15
6
4
24
27
9
13
9
11
11
8
33
8
10
3
18
25
30
5
26
13
15
22
29
29
21
6
27
17
28
20
31
32
3
10
17
14
7
4
1
12
2
16
14
5
28
12
7
FIT
1:1
100%

Артикул

Название

Примечание

Количество

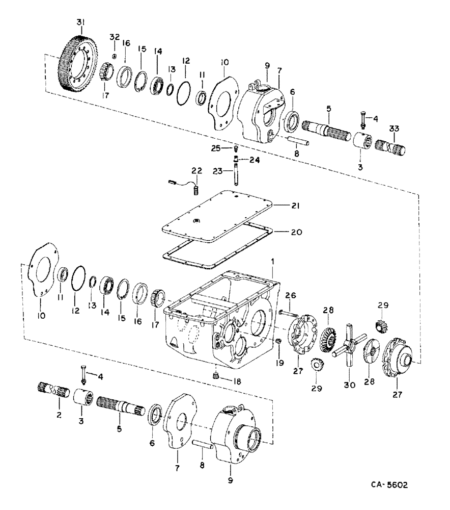
1

401873R2

HOUSING

CASE, transmission

1шт.

161068R1

BOLT,Spcl, Hex, 5/8" - 11 x 1 1/2"

1шт.

432695R1

BOLT,Hex, 5/8" - 11 x 1 3/4", Gr 8

5/8 x 1-3/4 type 8

1шт.

131165

LOCK WASHER,5/8"

WASHER, LOCK, 5/8"

1шт.

25556R1

WASHER,21/32" x 1 1/2" x .188", HDN

.656 x 1.500 x .188 phc hdn

1шт.

54700R1

DOWEL

BUSHING, tapered split dowel

2шт.

2

(Not used this application)

1шт.

Ref #2 - 184439C1 Shaft L. H. (1470 Levelland Only) 1 T/S 20-89D

1шт.

3

(Not used this application)

1шт.

Ref #3 - 184437C1 Coupling (1470 Levelland Only) 4, T/S 20-89D

1шт.

4

(Not used this application)

1шт.

Ref #4 - 219-14 Zerk, Grease (1470 Levelland Only) 4. T/S 20-89D

1шт.

5

184125C1

SHAFT

differential

2шт.

6

SEAL, brake adapter housing cover, refer to group 4 under parking brake and control

2шт.

7

COVER ASSY, brake adapter housing, refer to group 4 under parking brake and control

2шт.

8

PIN, 7/8 x 5 dowel, refer to group 4 under parking brake and control

2шт.

9

HOUSING, brake, refer to group 4 under parking brake and control

2шт.

10

401898R1

SHIM

brake housing, .003

1шт.

10

401899R1

SHIM

brake housing, .005

1шт.

10

401900R1

SHIM

brake housing, .007

1шт.

11

184072C1

OIL SEAL,55.88mm ID x 76.2mm OD x 9.5mm Thk

brake housing oil

2шт.

12

O-RING, 4-3/4 x 5-1/4 class 5, refer to group 4 under parking brake and control

2шт.

13

(Not used this application)

1шт.

14

ST265

BALL BEARING,55mm ID x 100mm OD x 21mm Thk

BEARING, differential shaft

2шт.

15

289134R1

SNAP RING,3.938", Int, #393

Ring, Snap, , brake hsg 3.938", Int, #393

2шт.

16

ST981

BEARING CONE,112.71mm OD x 19.05mm W

CUP, differential bearing

2шт.

17

ST2096

BEARING ASSY,73.03mm ID x 25.4mm W

CONE, differential bearing

2шт.

18

320185C1

PLUG

3/4-14 auto sq-soc mag pipe

1шт.

19

9409947

DRAIN PLUG,Sq Soc, 3/4"-14 NPTF

PLUG, 3/4-14 auto sq-soc pipe

1шт.

20

401860R1

GASKET

transmission case cover

1шт.

21

184167C1

COVER ASSY

transmission case, replaces 198205C1

1шт.

179837

BOLT,Hex, 3/8" - 16 x 3/4", Gr 5

1шт.

22

187855C1

ELECTRICAL GAUGE

GAGE, reluctance pickup, Serial Range: -10000

1шт.

22

1301241C1

SENSOR

CONVERTER, reluctance, Start Serial: 10001

1шт.

107827

NUT,Stamped, 3/4"-16

3/4 C-Z stamped

1шт.

145507

NUT,Stamped, 7/8"-14

7/8NF cad stamped

1шт.

23

121210

PIPE,Nipple, 1/4" NPT x 4 1/2"

1шт.

24

105420

REDUCER FITTING

COUPLING, 1/4 x 1/8 reducing pipe

1шт.

25

61991R91

BREATHER,1/8"-27 NPT, Short, w/washer

ASSY, oil

1шт.

26

404171R1

BOLT,1/4" - 20 x 4"

differential case

12шт.

381368R1

NUT,Hex, 1/2" - 20, Gr 8

1/2 pln thick type 8

1шт.

27

404081R1

CASE ASSY.

CASE ASSY, differential

1шт.

28

404084R1

PINION

GEAR, differential bevel, 28T

2шт.

29

361061R3

PINION

differential bevel, 15T

4шт.

30

393637R2

DIFF. SPIDER

SPIDER, differential

1шт.

31

404085R1

GEAR

differential driven, 66T

1шт.

32

381368R1

NUT,Hex, 1/2" - 20, Gr 8

1/2-20 hex.

12шт.

33

(Not used this application)

1шт.

Ref #33 - 184440C1 Shaft R. H. (1470 Levelland Only) 1 T/S 20-89D.

1шт.

Выбрано товаров: 49