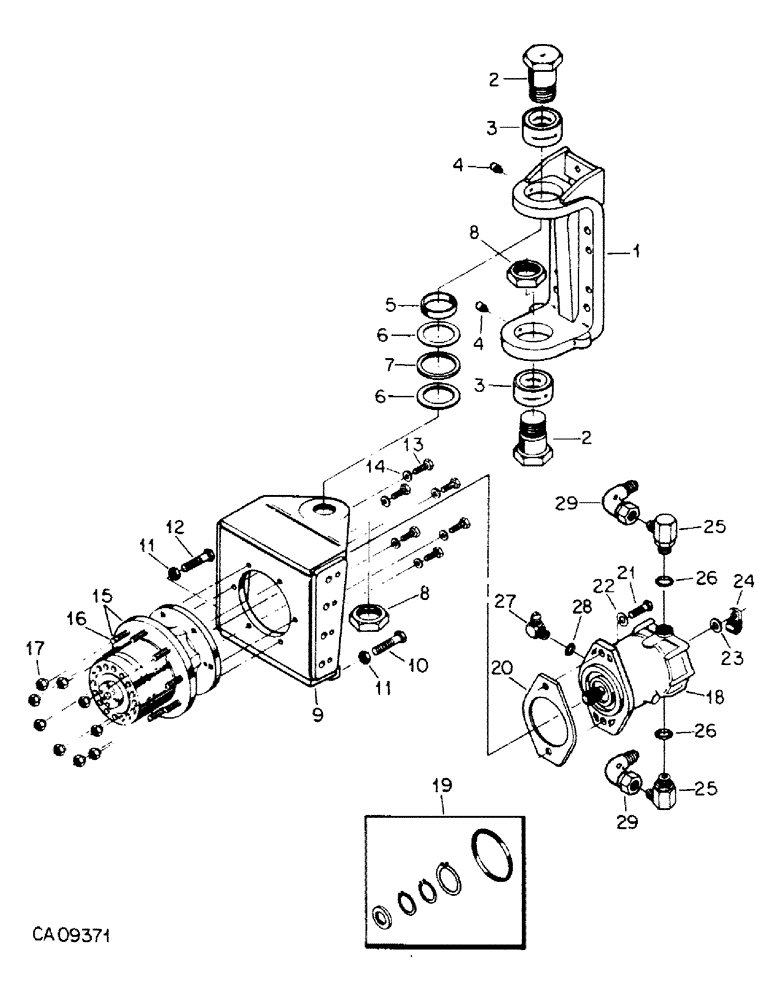
Запчасти Case IH 1440 (15-15) - WHEEL AND TRACTION, POWER GUIDE WHEEL DRIVE, S/N 50025 AND ABOVE Wheels & Traction

Схема запчастей Case IH 1440 - (15-15) - WHEEL AND TRACTION, POWER GUIDE WHEEL DRIVE, S/N 50025 AND ABOVE Wheels & Traction
2
18
1
6
13
22
26
3
11
25
21
12
29
4
28
26
14
29
4
20
11
16
8
19
9
8
23
17
3
27
6
15
5
10
7
25
2
24
FIT
1:1
100%

Артикул

Название

Примечание

Количество

1

1314471C1

SUPPORT

ASSY, frame

2шт.

24875R1

BOLT,Hex, 5/8" - 11 x 2", Gr 8

2шт.

24876R1

BOLT,Hex, 5/8" - 11 x 2 1/4", Gr 8

8шт.

366866C1

LOCK WASHER,5/8"

5/8"

10шт.

24889R1

BOLT,Hex, 3/4" - 10 x 2 1/4", Gr 8

8шт.

24771R1

LOCK WASHER,3/4"

WASHER, LOCK, 3/4"

8шт.

2

1324468C1

BOLT,1 5/8" - 12 x 2.74"

pivot pin

4шт.

3

613524C91

SPHERICAL BEARING,44.44mm ID x 71.44mm OD x 38.89mm W

BEARING, spherical radial

4шт.

4

87414

LUBE NIPPLE,1/4" - 28

FITTING, 1/4 lub

4шт.

5

1310560C1

THRUST WASHER

thrust washer spacer

2шт.

Ref.5 P/N 1324476C3,SB 085 87 Power guide axle high-pressure swivel elbow.

1шт.

6

890477C1

WASHER

4шт.

7

1310562C1

THRUST WASHER

Nylarron thrust

1шт.

8

1310553C1

JAM NUT

1-5/8 jam

4шт.

9

1314472C1

SUPPORT

ASSY, frame

2шт.

10

24877R1

BOLT,Hex, 5/8" - 11 x 2 1/2", Gr 8

2шт.

11

25949R1

JAM NUT,Jam, 5/8"-11, G8

5/8 PHC jam type 8

4шт.

12

24875R1

BOLT,Hex, 5/8" - 11 x 2", Gr 8

2шт.

13

24873R1

BOLT,Hex, 5/8" - 11 x 1 1/2", Gr 8

12шт.

14

1324470C1

WASHER

machinery bushing

12шт.

15

1324465C91

HOUSING

CASE W/STUDS, planetary gear

2шт.

1319387C1

SEAL KIT

seal, consists of (2) O-ring (NSS), retaining ring (NSS), roll pin (NSS), (2) seal (NSS), spindle seal (NSS)

1шт.

16

1310563C1

STUD,5/8" - 18 x 2.15"

wheel

18шт.

17

25676R1

NUT,5/8"-18, G8

5/8-NF PHC type 8

18шт.

25556R1

WASHER,21/32" x 1 1/2" x .188", HDN

.656 x 1.500 x .188 PHC hdn

18шт.

18

1310556C91

MOTOR, ELECTRIC

MOTOR ASSY, fixed axial piston

2шт.

19

1272263C1

KIT

motor, consists of O-ring (NSS), retaining ring (NSS), retaining ring (NSS), shaft seal (NSS)

1шт.

20

1310555C1

GASKET

motor

2шт.

21

24862R1

BOLT,Hex, 1/2" - 13 x 1 1/2", Gr 8

4шт.

22

NLS

NO LONGER SERVICED

.531 x 1.062 x .074

4шт.

23

120393

BEARING WASHER,5/16", SAE

WASHER, .344 x .688 x .051

4шт.

24

28135R1

CLAMP

.938 dia znp coated med cld

2шт.

25

1324476C1

ELBOW

high pressure swivel

4шт.

26

368269R1

O-RING,0.116" Thk x 0.924" ID, -912, Cl 6, 90 Duro

RING, 3/4 OD tube class 6

4шт.

27

935036R91

ELBOW

C-Z hyd fld adj 1/2 to 3/8 90D

2шт.

28

570828R1

O-RING,0.087" Thk x 0.644" ID, -908, Cl 6, 90 Duro

1/2 OD tube class 6

2шт.

29

9410283

ELBOW,90 Degree, 1 1/16"-12, 37 Degree x 1 1/16"-12, 37 Degree Fem Sw

ELBO, 3/4 C-Z hyd fld 90D swivel

2шт.

Выбрано товаров: 37