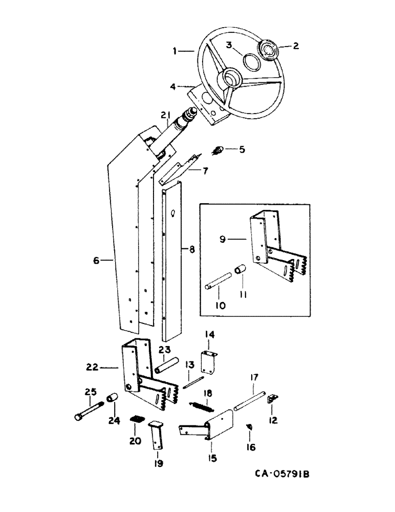
Запчасти Case IH 1440 (05-02) - STEERING, STEERING WHEEL AND POST, S/N 20001 AND ABOVE (04) - STEERING

Схема запчастей Case IH 1440 - (05-02) - STEERING, STEERING WHEEL AND POST, S/N 20001 AND ABOVE (04) - STEERING
11
7
10
25
12
4
24
8
19
1
16
15
22
20
23
9
21
6
14
5
17
2
3
13
18
FIT
1:1
100%

Артикул

Название

Примечание

Количество

1

385156R1

WHEEL (STEERING)

WHEEL, steering

1шт.

1

385156R1GV

STEERING WHEEL

Value, Steering Wheel

1шт.

2

68837C2

CAP

ASSY, steering wheel

1шт.

3

295204R1

O-RING,0.103" Thk x 2.8" ID, -149, Cl 5, 75 Duro

2-13/16 x 3 x 3/32

1шт.

4

1301362C1

SUPPORT

steering pump, for use with Ross steering hand pump, Serial Range: 20001-50000

1шт.

18763R1

BOLT,Hex, 5/16" - 18 x 1/2", Gr 2

5/16 x 1/2 type 1

1шт.

80681

LOCK WASHER,5/16"

WASHER, LOCK, 5/16"

1шт.

120393

BEARING WASHER,5/16", SAE

WASHER, .344 x .688 x .051

1шт.

4

1276302C1

SUPPORT

steering column cap, for use with Danfoss steering hand pump, Start Serial: 50001

1шт.

174856C1

BOLT,Hex Serr, 5/16" - 18 x 1/2"

5/16 x 1/2 hex-hd flange

1шт.

80681

LOCK WASHER,5/16"

WASHER, LOCK, 5/16"

1шт.

180124

BOLT,Hex, 3/8" - 16 x 1 1/4", Gr 5

3/8 x 1-1/4 type 5

1шт.

120382

LOCK WASHER,Helical Spring, 3/8"

WASHER, LOCK, 3/8"

1шт.

20803R1

WASHER

.406 x 1.000 x .105

1шт.

5

INDICATOR LIGHT, refer to group 8 under wiring diagram, left turn, grain tank unloader, rear lights and fuel pump

1шт.

6

215723C3

POST

ASSY, steering

1шт.

598802R1

CARRIAGE BOLT,Short NK, 5/16"-18 x 3/4", G5, Full Thd

BOLT, 5/16 x 3/4 crg type 5

1шт.

938017R1

FLANGE NUT,Flg, USR, 5/16"-18

5/16 flange lock

1шт.

7

210163C1

COVER ASSY

steering column upper

1шт.

167257

SELF-TAP SCREW,Cross Pan Hd, 1/4" x 1/2"

SCREW, 1/4 x 1/2 P/HDCR tap

1шт.

8

215964C2

CHANNEL

steering post cover

1шт.

167257

SELF-TAP SCREW,Cross Pan Hd, 1/4" x 1/2"

SCREW, 1/4 x 1/2 P/HDCR tap

1шт.

9

210087C1

SECTOR

ASSY, steering post pivot, w/5/8 in. pivot hole

1шт.

10

193233C1

PIN

steering column pivot shaft, used w/sector, 210087C1

1шт.

18481R1

COTTER PIN,3/16" x 1"

PIN, SPLIT (COTTER), 3/16" x 1"

1шт.

11

460416R1

SPACER

steering column pivot shaft, used w/sector, 210087C1

1шт.

12

193244C1

ANGLE

steering column pivot

2шт.

13

215665C1

PIN

steering pivot stop

1шт.

648002

KNIFE

1/8" x 3/4"

1шт.

14

193263C1

SUPPORT

steering pivot stop pin

1шт.

135270

SERRATED SCREW,5/16" - 18 x 3/4"

5/16 x 3/4 znp slt-truss-hd

1шт.

938017R1

FLANGE NUT,Flg, USR, 5/16"-18

5/16 flange lock

1шт.

15

193235C2

PIVOT ASSY.

PIVOT ASSY, steering release

1шт.

16

87415

LUBE NIPPLE,90 Degree, 1/4" NPT x 3/4" L, Drive

NIPPLE, LUBE, 90°, 1/4" NPT x .75" lg, Drive, Used with 193235C1 only

1шт.

17

193246C1

PIN

steering release

1шт.

178373R1

WASHER

.531 x 1.000 x .056

1шт.

18481R1

COTTER PIN,3/16" x 1"

PIN, SPLIT (COTTER), 3/16" x 1"

1шт.

18

183608C1

SPRING

steering release pedal return

1шт.

180132

BOLT,Hex, 3/8" - 16 x 2 1/4", Gr 5

3/8 x 2-1/4 type 5

1шт.

482256R1

BEARING LOCK NUT,Flg, USR, 3/8"-16

3/8 flange lock

1шт.

120393

BEARING WASHER,5/16", SAE

WASHER, .344 x .688 x .051

1шт.

19

193238C1

PEDAL ASSY.

PEDAL ASSY, steering release

1шт.

68530C1

BOLT,Hex Serr, 1/4" - 20 x 3/4"

1/4 x 3/4 hex-hd flange

1шт.

938016R1

FLANGE NUT,Flg, USR, 1/4"-20

1/4 flange lock

1шт.

20

357444C1

PEDAL

PAD, foot pedal

1шт.

21

1282041C91

SHAFT ASSY.

SHAFT ASSY, steering hand pump, for use with Danfoss steering hand pump only

1шт.

934727R1

THIN NUT,Thin, M18 x 1.5, Cl 04

18 x 15 mm, steering wheel

1шт.

113-206

BOLT,Hex, 3/8" - 16 x 3/4", Gr 5, Full Thd

3/8 x 3/4 type 5

1шт.

120382

LOCK WASHER,Helical Spring, 3/8"

WASHER, LOCK, 3/8"

1шт.

22

1321449C1

SECTOR

ASSY, steering post pivot, w/3/4 in. pivot hole

1шт.

23

1321442C1

TUBE,13.51 mm ID, 19.05 mm OD

steering post pivot, used w/sector, 1321449C1

1шт.

24

1321441C1

SPACER

steering column pivot bolt, used w/sector, 1321449C1

1шт.

25

25690R1

BOLT,Hex, 1/2" - 13 x 8", Gr 8

1/2 x 8 PHC type 8, used w/sector, 1321449C1

1шт.

9412230

LOCK NUT

1/8 PHC P/T lock type 8

1шт.

25555R1

WASHER,17/32" x 1 1/4" x .188", HDN

.531 x 1.205 x .188 PHC hdn

1шт.

Выбрано товаров: 55