Запчасти Case IH 1440 (13-19) - SUPERSTRUCTURE, CAB ROOF, OPERATORS CAB (05) - SUPERSTRUCTURE

Схема запчастей Case IH 1440 - (13-19) - SUPERSTRUCTURE, CAB ROOF, OPERATORS CAB (05) - SUPERSTRUCTURE
38
52
32
44
36
12
47
21
14
15
6
37
53
41
45
39
25
8
40
18
48
11
13
10
28
35
24
46
16
25
29
2
49
50
3
19
7
27
4
33
35
11
20
51
42
5
46
30
43
26
31
23
9
6
34
34
1
17
22
45
24
FIT
1:1
100%

Артикул

Название

Примечание

Количество

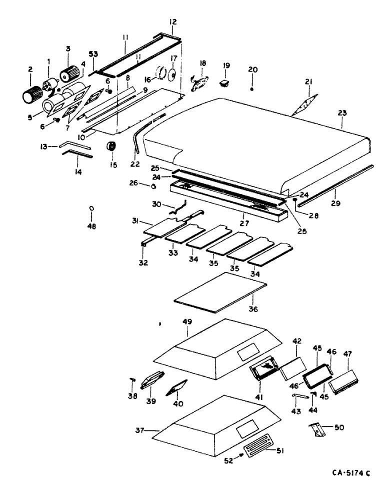
1

MOTOR ASSY, blower, refer to this group under cab blower assy

1шт.

2

WHEEL, blower fan LH, refer to this group under cab blower assy

1шт.

3

WHEEL, blower fan RH, refer to this group under cab blower assy

1шт.

4

127979

GROMMET,3/4" ID x 1 3/8" x .062", Diag Cut

blower cable

1шт.

4

198825C1

GROMMET,15.88mm ID x 41.1mm OD x 26.9mm Thk

blower cable

1шт.

5

BLOWER ASSY, operators cab, refer to this group under cab blower assy

1шт.

6

175578C1

INSULATOR

blower mounting vibration

8шт.

187797C1

BOLT,Hex Serr Flg, 1/4" - 20 x 1"

SCREW, 1/4-20 x 1 hex-hd flange lock

1шт.

7

117645C1

STRIP

blower

2шт.

8

196534C1

SUPPORT

blower mounting

1шт.

938016R1

FLANGE NUT,Flg, USR, 1/4"-20

1/4 flange lock

1шт.

88542

BOLT,Hex, 1/4"-20 x 1/2", Gr 5

1/4 x 1/2 type 5

1шт.

21871R1

WASHER

.281 x 1.000 x .042

1шт.

9

STRIP, heater core, use 34.5 in. from bulk stock marked 198581C1

1шт.

10

198569C2

DOOR

ASSY, pressurizer

1шт.

120614

NUT,Hex, #10 - 32

NUT, #10-32

1шт.

431942

SUPPORT,Hex, #10 - 32 x 1/2"

no. 10NF x 1/2 znp h/hd mach

1шт.

178378

LOCK WASHER,Ext-Int Tooth, #10

WASHER, no. 10 ext-int tooth lock

1шт.

143309C1

SELF-TAP SCREW,Cross Pan Hd, #10 - 16 x 1/2"

SCREW, no. 10-16 x 1/2 polyseal

1шт.

11

STRIP, blower and core chamber front & rear, use 2 pieces 34.5 in. from bulk stock marked 187874C2

1шт.

12

STRIP, blower and core chamber side RH, use 15.75 in. piece from bulk stock marked 187874C2

1шт.

13

STRIP, pressurizer cover end, use 2 pieces 16.5 in. from bulk stock marked 198578C2

1шт.

14

STRIP, roof to pressurizer cover, use 2 pieces 12.5 in. from bulk stock marked 198577C1

1шт.

15

173913C1

DEFLECTOR

ASSY, air

6шт.

16

SEAL, night light, refer to group 8 under lights and mountings

2шт.

17

196700C1

FLANGE

night light mounting

2шт.

120238

JAM NUT,Jam, 1/2"-13, G5

1/2 jam type 5

1шт.

18

LIGHT ASSY, dome, refer to this group under wiring diagram, operators cab

1шт.

19

169850C1

CLIP

wiring stick-on

1шт.

20

188003

PLUG,7/16"

thermostat and wiper switch button

1шт.

21

187993C1

PANEL

switch

1шт.

132718C1

FASTENER

switch panel

1шт.

26664R1

SELF-TAP SCREW,Cross Pan Hd, #8 x 1 1/2"

SCREW, no. 8-18 x 1-1/2 PHC P/HDCR

1шт.

22

STRIP, roof front pinch, red, use 72 in. from bulk stock marked 1327666C1, replaces 196520C1, white

2шт.

23

ROOF, cab, not serviced separately, order cab 198212C96

1шт.

199953C1

SELF-TAP SCREW,HWH, 5/16" - 18 x 13/16"

SCREW, 5/16 x 13/16 fl/hd tap, cab roof to cab bottom

1шт.

24

STRIP, air intake filter long, part of filter 131413C1

2шт.

25

STRIP, air intake filter end, part of filter 131413C1

2шт.

26

432366

HOLE PLUG BUTTON,1 3/8"

PLUG, core and accessories wire hole

2шт.

26

432487

HOLE PLUG BUTTON,11/16"

PLUG, 11/16 in. air cond. light hole

1шт.

27

131413C1

AIR INTAKE TUBE

FILTER, air intake, replaces 109215C1 & 143481C92

1шт.

28

3063674C1

GROMMET, power wire rear upper

1шт.

29

STRIP, cab roof to bottom, use 220 in. from bulk stock marked 182747C2

1шт.

30

117727C2

ROD

air intake filter retaining

3шт.

118084C1

SEALING WASHER

rubber

1шт.

31

198286C1

SHEET

roof front

1шт.

32

198283C1

SUPPORT

front insulation

1шт.

938016R1

FLANGE NUT,Flg, USR, 1/4"-20

1/4 flange lock

1шт.

88542

BOLT,Hex, 1/4"-20 x 1/2", Gr 5

1/4 x 1/2 type 5

1шт.

33

198147C2

STRIP

roof center

1шт.

34

198284C1

SHEET

roof rear

2шт.

35

198285C1

SHEET

roof rear center

2шт.

36

187745C2

LINING

STRIP, headliner top

1шт.

37

117662C2

LINING

INSULATOR, headliner

1шт.

38

187743C1

FASTENER

access cover and switch panel

12шт.

26664R1

SELF-TAP SCREW,Cross Pan Hd, #8 x 1 1/2"

SCREW, no. 8-18 x 1-1/2 PHC P/HDCR tap

1шт.

39

187741C1

COVER

access door

2шт.

132718C1

FASTENER

access door cover

1шт.

26664R1

SELF-TAP SCREW,Cross Pan Hd, #8 x 1 1/2"

SCREW, no. 8-18 x 1-1/2 PHC P/HDCR

1шт.

40

187742C1

INSULATOR

STRIP, access door cover

2шт.

41

198512C1

SCREEN

ASSY, recirculating air filter, Serial Range: -1500

1шт.

42

198150C1

FILTER CARTRIDGE

FILTER, recirculating air, Serial Range: -1500

1шт.

42

183661C1

AIR CLEANER

FILTER, recirculating air, Start Serial: 1501

1шт.

43

198153C1

HANDLE

recirculating air door

1шт.

196922C1

LOCK NUT

no. 10-24 UNC 2B

1шт.

159920

SCREW,Cross Pan Hd, #10 - 24 x 1/2"

1шт.

44

198223C1

SPRING

recirculating air door

1шт.

45

STRIP, recirculating air door top and bottom, use 2 pieces 13 in. from bulk stock marked 198096C1

1шт.

46

STRIP, recirculating air door end, use 2 pieces 3.5 in. from bulk stock marked 198096C1

1шт.

47

198260C2

DOOR

ASSY, recirculating air

1шт.

160515

SCREW,Cross Pan Hd, 1/4" - 20 x 1/2"

1шт.

174916

LOCK WASHER,Ext-Int Tooth, 1/4"

WASHER, 1/4 ext-int tooth lock

1шт.

48

432416

PLUG,5/16"

5/16 button, wiper mounting holes

2шт.

48

192769

PLUG,3/4"

(button), Wiper shaft hole 3/4"

1шт.

49

183682C91

LINING

HEADLINER ASSY, w/insulation

1шт.

456107C1

SELF-TAP SCREW,Cross Pan Hd, #10 x 1/2"

SCREW, no. 10-16 x 1/2 PHC c/r s/d tap

1шт.

50

198248C2

BRACKET

recirculating air door spring

1шт.

160515

SCREW,Cross Pan Hd, 1/4" - 20 x 1/2"

1шт.

174916

LOCK WASHER,Ext-Int Tooth, 1/4"

WASHER, 1/4 ext-int tooth lock

1шт.

51

183662C1

GRILLE

GRILL, recirculating air filter, Start Serial: 1501

1шт.

52

111296C1

BUTTON

KNOB, recirculating air filter grill, Start Serial: 1501

2шт.

1250628C2

SPACER

grill spacer

1шт.

26614R1

SCREW,Cross Pan Hd, 1/4" x 1 1/4"

1/4 x 1-1/4 PHC P/HDCR tap

1шт.

53

STRIP, blower and core chamber side LH,use 15.75 in. piece from bulk stock marked 187874C2, Serial Range: -10000

1шт.

53

STRIP, blower and core chamber side LH, use 10.5 in. piece from bulk stock marked 187874C2, Start Serial: 10001

1шт.

Выбрано товаров: 85