Запчасти Case IH 1440 (08-33) - ELECTRICAL, CONTROL REEL SPEED TO GROUND SPEED, AUTOMATIC FEEDER CUTOFF CONTROLS, S/N 30001 & ABOVE (06) - ELECTRICAL

Схема запчастей Case IH 1440 - (08-33) - ELECTRICAL, CONTROL REEL SPEED TO GROUND SPEED, AUTOMATIC FEEDER CUTOFF CONTROLS, S/N 30001 & ABOVE (06) - ELECTRICAL
11
13
14
4
3
8
7
18
12
17
16
9
5
2
15
10
6
1
FIT
1:1
100%

Артикул

Название

Примечание

Количество

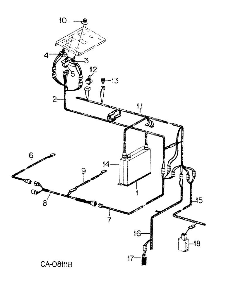
1

1301289C2

CONTROL

ASSY, auto reel speed to ground speed

1шт.

273924

SNAP RING

NUT, 1/4 CAD P/T lock type 5

1шт.

120392

WASHER,1/4", SAE

.281 x .625 x .051

1шт.

2

1301290C2

HARNESS

ASSY, RH console

1шт.

3

1301443C1

POTENTIOMETER

Reel Speed to Ground Speed Ratio

1шт.

4

1301574C1

POTENTIOMETER

Speed Calibration

1шт.

120394

WASHER,3/8", SAE

WASHER, .406 x .812 x .051

1шт.

5

183896C1

SWITCH

potentiometer calibration

1шт.

156664

SCREW,Cross Oval Hd, #6 - 32 x 5/8"

1шт.

6

1301584C1

WIRE HARNESS

HARNESS ASSY, reel speed pickup

1шт.

7

HARNESS ASSY, AHC platform, refer to group 10 under automatic header control

1шт.

8

HARNESS ASSY, AHC feeder, refer to group 10 under automatic header control

1шт.

9

1301419C1

HARNESS

ASSY, feeder transducer

1шт.

10

1301036C1

BUTTON

KNOB, reel to ground speed control

1шт.

11

HARNESS ASSY, console, refer to this group under instrument panel, Start Serial: 20001

1шт.

12

1301522C1

SWITCH

ASSY, feeder clutch, machines w/o feeder reverser

1шт.

12

245634C1

SWITCH

ASSY, feeder reverser, machines w/feeder reverser

1шт.

13

109369C91

LIGHT ASSY.

LAMP ASSY, feeder cut-off indicator

1шт.

71652C1

LENS

1шт.

200557H1

BULB,C2V, #1815, 14V

NO. 1815

1шт.

14

1310805C1

CONTROL

ASSY, automatic feeder cut-off

1шт.

15

HARNESS ASSY, main front left, refer to this group under left turn, grain tank, unloader, rear light and fuel pump, Start Serial: 20001

1шт.

16

HARNESS ASSY, tachometer, refer to this group under right turn signal, head lights, digital read out and slip clutch, Start Serial: 20001

1шт.

17

GAGE, reluctance pickup, transducer, refer to group 7 under transmission, differential shaft and gears

1шт.

18

SOLENOID, feeder clutch valve, refer to group 10 under feeder and separator clutch valve

1шт.

Выбрано товаров: 25