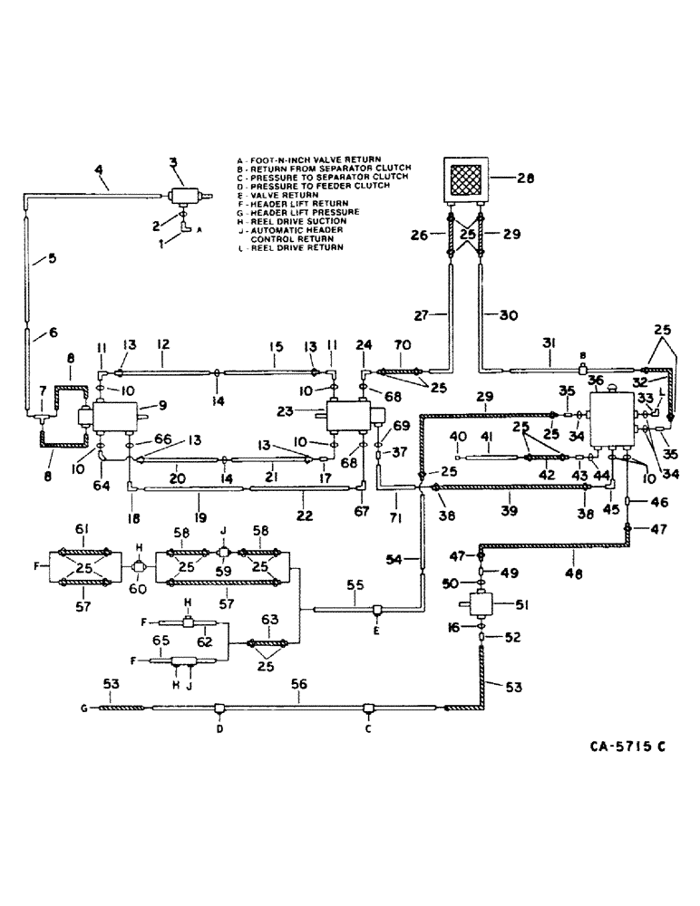
Запчасти Case IH 1440 (10-03) - HYDRAULICS, HYDROSTATIC MOTOR, PUMP AND HEADER LIFT DIAGRAM, S/N 20000 & BELOW (07) - HYDRAULICS

Схема запчастей Case IH 1440 - (10-03) - HYDRAULICS, HYDROSTATIC MOTOR, PUMP AND HEADER LIFT DIAGRAM, S/N 20000 & BELOW (07) - HYDRAULICS
25
14
5
50
10
25
23
25
61
3
13
41
34
13
12
48
6
29
56
19
58
52
2
25
29
68
11
32
31
59
71
57
37
62
7
16
9
30
10
65
69
34
64
47
24
13
35
10
47
35
43
25
28
10
38
66
38
57
49
42
63
27
25
58
67
25
22
33
70
15
54
25
8
13
20
53
11
40
68
8
18
55
1
39
36
26
45
25
60
4
53
10
17
51
25
14
44
46
21
FIT
1:1
100%

Артикул

Название

Примечание

Количество

1

164596C1

ELBOW

9/16-18 37 deg hyd fld tube 90 deg

1шт.

3

VALVE, foot-n-inch, refer to this group under foot-n-inch valve

1шт.

4

187730C1

HYD TUBE

TUBE ASSY, foot-n-inch upper

1шт.

5

187731C1

TUBE

ASSY, foot-n-inch center

1шт.

6

197508C1

HYD TUBE

TUBE ASSY, foot-n-inch lower

1шт.

7

9402979

TEE,7/16"-20, 37 Degree

7/16-20 37 deg flared tube

1шт.

8

175760C1

HOSE ASSY.

HOSE ASSY, foot-n-inch

2шт.

9

MOTOR, hydrostatic, refer to this group under hydrostatic motor

1шт.

10

296247R1

O-RING,16-1, 90 Duro, 1.171" ID x .116" Thk

for 1 in. OD tube

6шт.

11

595408R1

90 ELBOW

1-5/16-12 x 1 in. OD tube end 90 deg

2шт.

12

196533C2

TUBE

ASSY, hydrostatic drive reverse lower pressure, includes ref. no. 13

1шт.

13

165722C1

SLEEVE

tube nut rubber

4шт.

14

343906R1

O-RING,0.139" Thk x 1.296" ID, -219, Cl 6, 90 Duro

1-5/16 x 1-9/16 x 1/8

2шт.

15

196992C2

PIPE

TUBE ASSY, hydrostatic drive reverse upper pressure, includes ref. no. 13

1шт.

20153R1

BOLT,Hex, 3/8" - 16 x 1 1/2", Gr 8

3/8 x 1-1/2 type 8

1шт.

123920

LOCK WASHER,3/8"

WASHER, LOCK, 3/8"

1шт.

16

364885R1

O-RING,0.097" Thk x 0.755" ID, -910, Cl 6, 90 Duro

for 5/8 in. OD tube

1шт.

17

163915C1

FITTING

CONNECTOR, 1-5/16-12 37 deg hyd flared

1шт.

18

9410978

ELBOW,90 Degree, 7/8"-14, 37 Degree x 7/8"-14, O-Ring

7/8-14 37 deg hyd flared tube 90 deg, for Sundstrand

2шт.

18

9410979

ELBOW,90 Degree, 1 1/16"-12, 37 Degree x 1 1/16"-12, O-Ring

1-1/16-12 90 deg hyd flared, for Eaton

1шт.

19

196750C1

HYD TUBE

TUBE ASSY, hydrostatic bleed lower, for Sundstrand

1шт.

19

183763C2

HYD TUBE

TUBE ASSY, hydrostatic bleed lower, for Eaton

1шт.

20

196531C2

TUBE

ASSY, hydrostatic drive forward lower pressure, includes ref. no. 13

1шт.

21

196991C2

PIPE

TUBE ASSY, hydrostatic drive forward upper pressure, includes ref. no. 13

1шт.

20153R1

BOLT,Hex, 3/8" - 16 x 1 1/2", Gr 8

3/8 x 1-1/2 type 8

1шт.

123920

LOCK WASHER,3/8"

WASHER, LOCK, 3/8"

1шт.

22

196749C1

HYD TUBE

TUBE ASSY, hydrostatic bleed upper, for Sundstrand

1шт.

22

183764C1

HYD TUBE

TUBE ASSY, hydrostatic bleed upper, for Eaton

1шт.

23

PUMP, hydrostatic, refer to this group under hydrostatic pump

1шт.

24

173844C1

ELBOW

7/8-14 & 5/8 OD tube end 90 deg, for Sundstrand

1шт.

24

387006R91

ELBOW

1-1/16-12 90 deg hyd flared, for Eaton

1шт.

25

122316R91

HOSE CLAMP,#12, 0.69/1.25 Type F Worm

CLAMP, hose

1шт.

26

HOSE, hydrostatic pump to oil cooler, use 18 in. of 5/8 OD hyd hose from 25 ft roll marked S118576

1шт.

27

196760C1

TUBE

ASSY, hyd pump to cooler, for Sundstrand, Serial Range: -5835

1шт.

27

183832C1

HYD TUBE

TUBE ASSY, hyd pump to cooler, for Sundstrand, Start Serial: 5836

1шт.

27

183831C1

HYD TUBE

TUBE ASSY, hyd pump to cooler, for Eaton, Start Serial: 5836

1шт.

28

OIL COOLER, refer to this group under oil cooler

1шт.

29

HOSE, reservoir to oil cooler & header lift return, use 18 in. of 3/4 ID hyd hose from 25 ft roll marked 180720C2

2шт.

30

196761C1

TUBE

ASSY, reservoir to oil cooler, Serial Range: -5835

1шт.

30

183830C1

HYD TUBE

TUBE ASSY, reservoir to oil cooler, Start Serial: 5836

1шт.

31

196762C1

HYD TUBE

TUBE ASSY, reservoir to oil cooler

1шт.

32

HOSE, reservoir to oil cooler, use 18 in. 3/4 ID hyd hose from 25 ft roll marked 180720C2

1шт.

33

171949C1

ELBOW

90 deg

1шт.

34

368269R1

O-RING,0.116" Thk x 0.924" ID, -912, Cl 6, 90 Duro

3/4 in. OD

3шт.

35

470420R11

FITTING

return and cooler

2шт.

36

RESERVOIR, hydraulic, refer to this group under hydraulic reservoir

1шт.

37

387488R1

CONNECTOR, ELEC

CONNECTOR, 7/8-14 and 3/4 beaded hyd flared tube reducing, for Sundstrand

1шт.

37

9410207

HYD CONNECTOR,1 5/16"-12, 37 Degree x 1 5/16"-12, O-Ring

CONNECTOR, 1-5/16-12 37 deg hyd flared, for Eaton

1шт.

38

333710R91

HOSE CLAMP,#16, 0.81/1.50 Type F Worm

SWITCH MOUNTING, suction hose, for Sundstrand

2шт.

38

279024R91

HOSE CLAMP,#24, 1.06/2.00 Type F Worm

CLAMP, suction hose, for Eaton

2шт.

39

HOSE, charge suction, use 24.5 in. of 3/4 in. ID hose from 25 ft. roll marked S118569, for Sundstrand

1шт.

39

183601C1

HOSE,25.4 mm ID x 355.60 mm, SAE 100R4 CLASS 4, SAE 100R3 CLASS 5

charge suction, for Eaton

1шт.

40

9403373

CAP,37 Degree, 7/8"-14

reservoir drain hose

1шт.

41

187822C1

HYD TUBE,5/8" OD, 14, 1.2" Length

TUBE ASSY, reservoir drain

1шт.

42

HOSE, reservoir drain, use 15 in. of 5/8 I.D. hose from 25 ft roll marked S118576

1шт.

43

196816C1

FITTING

1/2 port 5/8 bead

1шт.

44

570828R1

O-RING,0.087" Thk x 0.644" ID, -908, Cl 6, 90 Duro

for 1/2 in. OD tube

1шт.

45

187631C1

ELBOW

charge pump suction, for Sundstrand

1шт.

45

179379C1

ELBOW

charge pump suction, for Eaton

1шт.

46

180182C1

FITTING

1 in. port pump suction

1шт.

47

27724R1

HOSE CLAMP,#24, 1.06/2.00 Type F Worm, W/liner

CLAMP, header lift suction hose

2шт.

48

187618C2

HOSE

header lift suction

1шт.

49

180182C1

FITTING

CONNECTOR, 1-5/16-12 x 1 in. beaded, for use w/195706C91 pump

1шт.

50

296247R1

O-RING,16-1, 90 Duro, 1.171" ID x .116" Thk

1 in. OD, for use w/195706C91 pump

1шт.

51

PUMP, hydraulic, refer to this group under auxiliary hydraulic pump

1шт.

52

9410204

HYD CONNECTOR,7/8"-14, 37 Degree x 7/8"-14, O-Ring

CONNECTOR, 7/8-14 37 deg flared wheel

1шт.

53

381173R91

HOSE,12.7mm ID x 209.55mm L, SAE 100R1

header lift pressure

2шт.

54

196743C1

TUBE ASSY.

TUBE ASSY, header lift return rear

1шт.

55

196744C1

HYD TUBE

TUBE ASSY, header lift return front

1шт.

56

196747C1

HYD TUBE

TUBE ASSY, header lift pressure

1шт.

57

HOSE, header lift return, use 9 in. of 3/4 in. hose from 25 ft. roll marked 180720C2, Serial Range: -1500

2шт.

58

HOSE, header lift return, use 4.4 in. of 3/4 in. hose from 25 ft. roll marked 180720C2, Serial Range: -1500

2шт.

59

196709C1

TEE

automatic header control return, Serial Range: -1500

1шт.

60

198454C1

TEE

reel drive suction, (Replaces 198545C1), Serial Range: -1500

1шт.

61

530879R1

HYDRAULIC HOSE,0.75" ID x 3.00", SAE 30R2 Type 3 Class 3

Header Lift Return 0.75" ID x 3.00", SAE 30R2 Type 3 Class 3, Serial Range: -1500

1шт.

62

187887C1

TUBE

ASSY, header lift return and reel drive suction, Start Serial: 1501

1шт.

63

HOSE, header lift return, use 9 in. of 3/4 in. I.D. hose from 25 ft. roll marked 180720C2, Start Serial: 1501

1шт.

64

595406R1

ELBOW

45 deg adj

1шт.

65

187888C1

TUBE

ASSY, header lift return and reel drive suction and AHC return, Start Serial: 1501

1шт.

66

364885R1

O-RING,0.097" Thk x 0.755" ID, -910, Cl 6, 90 Duro

for 5/8 in. OD tube, for Sundstrand

1шт.

66

368269R1

O-RING,0.116" Thk x 0.924" ID, -912, Cl 6, 90 Duro

for 3/4 in. OD tube, for Eaton

1шт.

67

9410978

ELBOW,90 Degree, 7/8"-14, 37 Degree x 7/8"-14, O-Ring

7/8-14 90 deg. flared hyd, for Sundstrand

1шт.

67

9410205

HYD CONNECTOR,1 1/16"-12, 37 Degree x 1 1/16"-12, O-Ring

CONNECTOR, 1-1/16-12 hyd flared, for Eaton

1шт.

68

364885R1

O-RING,0.097" Thk x 0.755" ID, -910, Cl 6, 90 Duro

for 5/8 in. OD tube, for Sundstrand

1шт.

68

368269R1

O-RING,0.116" Thk x 0.924" ID, -912, Cl 6, 90 Duro

for 3/4 in. OD tube, for Eaton

1шт.

69

364885R1

O-RING,0.097" Thk x 0.755" ID, -910, Cl 6, 90 Duro

for 5/8 in. OD tube, for Sundstrand

1шт.

69

296247R1

O-RING,16-1, 90 Duro, 1.171" ID x .116" Thk

for 1 in. OD tube, for Eaton

1шт.

70

HOSE, hydrostatic pump to oil cooler, use 18 in. of 5/8 ID hyd hose from 25 ft. roll marked S118576, for Sundstrand

1шт.

70

HOSE, hydrostatic pump to oil cooler, use 18 in. of 3/4 ID hyd hose from 25 ft roll marked 180720C2, for Eaton

1шт.

71

183593C1

HYD TUBE

TUBE ASSY, charge suction, for Eaton

1шт.

2

369384R1

O-RING,0.072" Thk x 0.414" ID, -905, Cl 6, 90 Duro

5-1, 90 Duro, .414" ID x .072" Thk, 5/16 OD tube

1шт.

Выбрано товаров: 91