Запчасти Case IH 1440 (10-73) - HYDRAULICS, HEADER AND REEL LIFT CONTROL, S/N 20000 AND BELOW (07) - HYDRAULICS

Схема запчастей Case IH 1440 - (10-73) - HYDRAULICS, HEADER AND REEL LIFT CONTROL, S/N 20000 AND BELOW (07) - HYDRAULICS
8
15
11
6
4
16
5
5
10
1
8
8
2
3
12
13
7
17
14
7
9
FIT
1:1
100%

Артикул

Название

Примечание

Количество

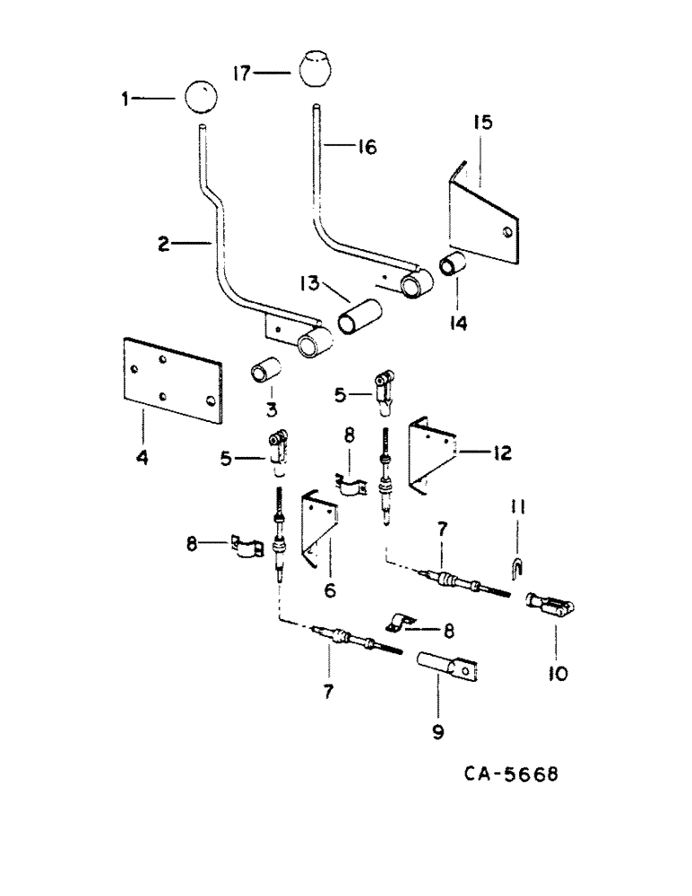
1

198936C1

KNOB

header lift control

1шт.

2

195651C91

LEVER

ASSY, header lift control, includes ref. no. 3

1шт.

3

568920R1

BUSHING

header lift control lever

1шт.

4

193214C1

BAR

header lift control lever LH

1шт.

938017R1

FLANGE NUT,Flg, USR, 5/16"-18

5/16 flange lock

1шт.

135270

SERRATED SCREW,5/16" - 18 x 3/4"

5/16 x 3/4 znp slt-truss-hd

1шт.

5

116383

CLEVIS

upper adjustment rod end

2шт.

121223

COTTER PIN,1/16" x 3/4"

PIN, SPLIT (COTTER), 1/16" x 3/4"

1шт.

138083

PIN

1/4 x .770 clevis

1шт.

6

198879C1

SUPPORT

cable lift control lever LH

1шт.

938017R1

FLANGE NUT,Flg, USR, 5/16"-18

5/16 flange lock

1шт.

135270

SERRATED SCREW,5/16" - 18 x 3/4"

5/16 x 3/4 znp slt-truss-hd

1шт.

120393

BEARING WASHER,5/16", SAE

WASHER, .344 x .688 x .051

1шт.

7

198524C1

CABLE

control lift

2шт.

120613

JAM NUT,Hex, 1/4" - 28, Gr 5

1шт.

8

198605C1

CLAMP

lift control cable

3шт.

174097C1

FLANGE NUT,Flg, USR, #10-24

10-24 C-Z flange lock

1шт.

463-11012

SCREW,Hex Hd, #10-24 x 3/4"

no. 10 x 3/4 znp h/hd mach

1шт.

9

193215C1

ROD

header lift control cable lower

1шт.

121222

COTTER PIN,3/32" x 3/4"

PIN, SPLIT (COTTER), 3/32" x 3/4"

1шт.

21881R1

CLEVIS PIN

PIN, 3/8 x 1.000 clevis

1шт.

10

409852C1

CLEVIS

1/4-28 adj rod end

1шт.

112726

COTTER PIN,1/16" x 1/2"

PIN, SPLIT (COTTER), 1/16" x 1/2"

1шт.

20286R1

SPLIT PIN/SAFETY PIN

PIN, 3/16 x 1.031 clevis

1шт.

120391

WASHER,#10

.219 x .500 x .036

1шт.

11

198525C1

CLAMP

control cable lower

1шт.

938017R1

FLANGE NUT,Flg, USR, 5/16"-18

5/16 flange lock

1шт.

12

198394C1

SUPPORT

control cable upper

2шт.

938017R1

FLANGE NUT,Flg, USR, 5/16"-18

5/16 flange lock

1шт.

135270

SERRATED SCREW,5/16" - 18 x 3/4"

5/16 x 3/4 znp slt-truss-hd

1шт.

120393

BEARING WASHER,5/16", SAE

WASHER, .344 x .688 x .051

1шт.

13

568007R1

SPACER,5/8" Tube x 2 1/8"

lift control lever

1шт.

18784R1

BOLT,Hex, 3/8"-16 x 2 3/4", G2

3/8 x 2-3/4 type 1

1шт.

485256R1

NUT, 3/8 flange lock

1шт.

22258R1

WASHER

.656 x 1.000 x .027

1шт.

14

568921R1

BUSHING,15.9mm ID x 19.02mm OD x 22.23mm L

reel lift control lever

1шт.

15

198397C1

SUPPORT

reel lift control lever

1шт.

938017R1

FLANGE NUT,Flg, USR, 5/16"-18

5/16 flange lock

1шт.

135270

SERRATED SCREW,5/16" - 18 x 3/4"

5/16 x 3/4 znp slt-truss-hd

1шт.

16

193211C91

LEVER

ASSY, reel lift control arm, includes ref. no. 14

1шт.

17

198937C1

KNOB

reel lift control

1шт.

Выбрано товаров: 41