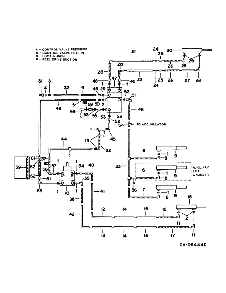
Запчасти Case IH 1460 (10-11) - HYDRAULICS, HEADER LIFT, STEERING AND UNLOADER SWING CYLINDER DIAGRAM, S/N 22001 AND ABOVE (07) - HYDRAULICS

Схема запчастей Case IH 1460 - (10-11) - HYDRAULICS, HEADER LIFT, STEERING AND UNLOADER SWING CYLINDER DIAGRAM, S/N 22001 AND ABOVE (07) - HYDRAULICS
24
15
63
52
61
18
6
61
45
44
14
3
41
22
4
1
29
17
30
15
25
28
27
23
50
1
35
13
51
8
59
56
34
42
32
55
9
25
1
26
33
62
46
1
6
2
9
49
9
20
28
1
47
16
26
24
11
37
20
21
53
58
11
57
40
2
53
7
8
54
31
39
1
60
36
1
62
5
19
10
48
1
12
53
53
2
1
38
53
29
48
8
43
14
FIT
1:1
100%

Артикул

Название

Примечание

Количество

1

570828R1

O-RING,0.087" Thk x 0.644" ID, -908, Cl 6, 90 Duro

1/2 OD tube

1шт.

2

364839R1

O-RING,0.078" Thk x 0.468" ID, -906, Cl 6, 90 Duro

6-1, 90 Duro, .468" ID x .078" Thk, 3/8 tube

1шт.

3

9410202

HYD CONNECTOR,9/16"-18, 37 Degree x 9/16"-18, O-Ring

CONNECTOR, 3/8 C-Z hyd fld short

1шт.

4

155309C91

HYDRAULIC HOSE,0.31" ID x 20.00", SAE 100R1

Reel Lift 0.31" ID x 20.00", SAE 100R1

1шт.

5

187696C1

HOSE

ASSY, strg. pressure, note 1, 30 in.

1шт.

5

1310755C1

HOSE ASSY.

HOSE ASSY, strg. pressure, note 2, 30 in.

1шт.

6

144140C1

HOSE,9.53mm ID x 787.4mm L, SAE 100R1

ASSY, header lift cylinder, replaces 587582R91, 31 in.

1шт.

7

1310709C1

HOSE

ASSY, header lift cyl. 45 in., replaces 196822C1

1шт.

8

9411105

ELBOW,45 Degree, 3/4"-16, 37 Degree x 3/4"-16, O-Ring

1/2 C-Z hyd fld adj 45D

1шт.

9

127779C94

CYLINDER,57.07mm Rod, 520.7mm Stroke

header lift

1шт.

9

127779C94R

REMAN-HYD CYLINDER

1460 CASE IH AXIAL-FLOW COMBINE (NORTH AMERICA), header lift, S/N 22001 AND ABOVE (1/77-12/84)

1шт.

9

127779C94C

CORE-HYD CYLINDER

Return Number

1шт.

224718C92

SEAL KIT

KIT, cylinder service, refer to this group under header lift cylider and cyl-1 section A

1шт.

10

PUMP, steering hand, refer to this group under steering hand pump

1шт.

11

9410976

ELBOW,90 Degree, 9/16"-18, 37 Degree x 9/16"-18, O-Ring

3/8 C-Z hyd fld adj 90D

1шт.

12

196789C1

HYD TUBE

TUBE ASSY, steering intermediate forward upper

1шт.

13

196788C1

HYD TUBE

TUBE ASSY, steering intermediate forward lower

1шт.

14

196790C2

HYD TUBE

TUBE ASSY, steering intermediate rearward upper and lower, w/o feeder reverser

2шт.

14

1321959C1

HYD TUBE

TUBE ASSY, steering intermediate rearward upper and lower, w/ feeder reserver

2шт.

15

196791C1

HYD TUBE,0.375" OD

TUBE ASSY, steering rearward upper and lower

2шт.

16

178961C1

HOSE,7.9 mm ID x 1270.00 mm, SAE 100R1

Steering Rear 7.9 mm ID x 1270.00 mm, SAE 100R1

1шт.

16

179202C1

HOSE,7.94mm ID x 1727.2mm L, SAE 100R1

ASSY, steering rear, 68 in., for use w/92-120 in. axle

1шт.

17

178962C1

HOSE ASSY.

HOSE ASSY, strg. cylinder, 60 in.

1шт.

17

183920C1

HOSE ASSY.

HOSE ASSY, strg. cylinder, 77 in., for use w/92-120 in. axle

1шт.

26613R1

CLAMP,1 7/8", Insul, 1/2" Bolt

1.875 dia znp coated med clo

1шт.

189299

BOLT,Hex, 5/16" - 18 x 4 1/2", Gr 5

5/16 x 4-1/2 type 5

1шт.

120376

NUT,5/16"-18, G5

1шт.

80681

LOCK WASHER,5/16"

WASHER, LOCK, 5/16"

1шт.

134238R1

WASHER

.344 x 1.000 x .054

1шт.

18

548247R91

CYLINDER ASSY.,Double Acting, 22.35mm Rod, 228.6mm Stroke

CYLINDER ASSY, steering, w/o power guide wheels

1шт.

548357R91

SEAL KIT

cylinder service

1шт.

18

127913C92

CYLINDER

ASSY, steering, with power guide wheels

1шт.

73661C92

SEAL KIT

KIT, cylinder service, refer to this group under steering cylinder and to cyl-1 section B

1шт.

19

28085R1

HOSE CLAMP,#08, 0.50/0.91 Type F Worm

CLAMP, hose

2шт.

20

66880C1

HOSE,6.35mm ID x 508mm L, SAE 100R1

Unloader Swing Valve, Replaces 183883C1 0.25" ID x 20.00", SAE 100R1

2шт.

21

196751C1

UNLOADING TUBE

TUBE ASSY, unloader tube swing lower

1шт.

22

HOSE, steering return, use 26 in. of 3/8 ID hose from 50 ft. roll marked S118400

1шт.

S/N 32000 and below

1шт.

22

HOSE, steering return, use 26 in. or 1/2 ID hose from 50 ft. roll marked S118466

1шт.

S/N 32001 and above

1шт.

23

196751C1

UNLOADING TUBE

TUBE ASSY, unloader tube swing upper, replaces 196799C1

1шт.

24

9403291

BHD LOCK NUT,Blkhd, 7/16"-20

NUT, 1/4 znd bulkhead union

2шт.

25

9403252

FITTING,Blkhd, 7/16"-20, 37 Degree x 7/16"-20, 37 Degree

UNION, 1/4 znd bulkhead

2шт.

26

195604C1

HOSE ASSY.

HOSE ASSY, unloader swing cylinder, 15 in.

2шт.

27

196800C1

HYD TUBE

TUBE ASSY, unloader swing cylinder

1шт.

28

9410974

ELBOW,90 Degree, 7/16"-20, 37 Degree x 7/16"-20, O-Ring

7/16-20 37 deg hyd tube

2шт.

29

369751R1

O-RING,0.072" Thk x 0.351" ID, -904, Cl 6, 90 Duro

4-1, 90 Duro, .351" ID x .072" Thk, 1/4 OD tube

1шт.

30

113960C93

CYLINDER ASSY.,Double Acting, 19.05mm Rod, 381mm Stroke

CYLINDER, unloader swing

1шт.

62240C92

SEAL KIT

KIT, cylinder service, for service parts refer to cyl-1 section B

1шт.

137185

COTTER PIN,1/8" x 1"

PIN, SPLIT (COTTER), 1/8" x 1"

1шт.

22754R1

CLEVIS PIN,5/8" x 1.844"

PIN, CLEVIS, 5/8" x 1.844"

1шт.

28196R1

SPLIT PIN/SAFETY PIN

PIN, 5/8 x 2.250 clevis

1шт.

31

187562C1

QUICK MALE COUPLING

COUPLING ASSY, reel lift hose self-sealing male

1шт.

32

1301586C1

HYD TUBE

TUBE ASSY, reel lift

1шт.

33

196785C1

HYD TUBE

TUBE ASSY, header lift cylinder, w/o feeder reverser

1шт.

33

1321493C2

HYD TUBE

TUBE ASSY, header lift cylinder, w/feeder reverser

1шт.

34

587639R1

HYD CONNECTOR,9/16"-18, 37 Degree x 3/4"-18, O-Ring

CONNECTOR, 3/4-16 x 9/16-18 hyd tube

1шт.

35

935036R91

ELBOW

3/4-16 x 9/16-18 90 deg

1шт.

36

9403372

CAP,37 Degree, 3/4"-16

3/4-16 37 deg hyd tube, machines w/two lift cylinders

1шт.

37

183693C1

HOSE

ASSY, hand pump return, note 1, 43.3 in., Serial Range: -32000

1шт.

37

1310761C1

HOSE ASSY.

HOSE ASSY, hand pump return, note 2, 43.3 in., Serial Range: 32001-52000

1шт.

37

1317939C1

HOSE

ASSY, hand pump return, 44.29 in., used with Danfoss pump, Start Serial: 52001

1шт.

38

183694C1

HOSE ASSY.

HOSE ASSY, steering hand pump RH, 41.3 in., used with Ross pump, Serial Range: -52000

1шт.

38

1317971C1

HOSE ASSY.

HOSE ASSY, steering hand pump RH, 43.3 in., used with Danfoss pump, Start Serial: 52001

1шт.

39

1301415C1

HOSE

ASSY, hand pump pressure, note 1, 38.4 in.

1шт.

39

1316829C1

HOSE

ASSY, hand pump pressure, replaces 1310762C1, 38 in., Serial Range: 32001-33196

1шт.

40

1301418C1

HOSE ASSY.

HOSE ASSY, steering hand pump LH, 39.4 in., used with Ross pump, Serial Range: -52000

1шт.

40

1317940C1

HOSE

ASSY, steering hand pump LH, 41.33 in., used with Danfoss pump, Start Serial: 52001

1шт.

41

1301540C1

TUBE ASSY.

TUBE ASSY, steering forward lower, w/o feeder reverser

1шт.

41

1321967C1

HYD TUBE

TUBE ASSY, steering forward lower, w/feeder reverser

1шт.

42

1301541C1

HYD TUBE

TUBE ASSY, steering forward upper, w/o feeder reverser

1шт.

42

1321968C1

HYD TUBE

TUBE ASSY, steering forward upper, w/feeder reverser

1шт.

43

1301542C1

HYD TUBE

TUBE ASSY, steering pressure

1шт.

S/N 32000 and below

1шт.

43

1310765C1

HYD TUBE

TUBE ASSY, steering pressure

1шт.

S/N 32001 and above

1шт.

44

1301543C1

TUBE

ASSY, steering return

1шт.

S/N 32000 and below

1шт.

44

1310764C1

HYD TUBE

TUBE ASSY, steering return

1шт.

S/N 32001 and above

1шт.

45

187888C1

TUBE

ASSY, header lift & steering return

1шт.

S/N 32000 and below

1шт.

45

1310757C1

TUBE

ASSY, header lift & steering return

1шт.

S/N 32001 and above

1шт.

46

1310862C1

HOSE

ASSY, header lift, 29 in., replaces 155225C91

1шт.

47

VALVE ASSY, control, refer to this group under control valve

1шт.

88574

BOLT,Hex, 5/16" - 18 x 1/2", Gr 5, Full Thd

1шт.

80681

LOCK WASHER,5/16"

WASHER, LOCK, 5/16"

1шт.

48

629349R1

HYD CONNECTOR,7/16"-20, 37 Degree x 3/4"-16, O-Ring

UNION, 7/16-20 x 3/4-16 37 deg

2шт.

49

394955R1

HYD CONNECTOR,9/16"-18, 37 Degree x 7/16"-20, O-Ring

UNION, 9/16-18 x 7/16-20 37 deg hyd tube

1шт.

50

9410204

HYD CONNECTOR,7/8"-14, 37 Degree x 7/8"-14, O-Ring

CONNECTOR, 5/8 C-Z hyd fld short

1шт.

S/N 32000 and below

1шт.

50

324273R1

HYD CONNECTOR,3/4"-16, 37 Degree x 9/16"-18, O-Ring

CONNECTOR, 1/2 x 3/8 sht hyd fld

1шт.

S/N 32001 and above

1шт.

51

9410204

HYD CONNECTOR,7/8"-14, 37 Degree x 7/8"-14, O-Ring

CONNECTOR, 5/8 C-Z hyd fld short

1шт.

52

574479R1

HYD CONNECTOR,1 1/16"-12, 37 Degree x 7/8"-14, O-Ring

CONNECTOR, C-Z hyd fld 3/4 to 5/8 sht

1шт.

53

364885R1

O-RING,0.097" Thk x 0.755" ID, -910, Cl 6, 90 Duro

5/8 3D tube

1шт.

54

TEE, refer to this group under accumulator

1шт.

55

9410202

HYD CONNECTOR,9/16"-18, 37 Degree x 9/16"-18, O-Ring

CONNECTOR, 3/8 C-Z hyd fld short swivel, Serial Range: 22001-33196

1шт.

55

1267158C1

CONNECTOR, ELEC

UNION, 7/8-14 o-ring, S/N 33197 and above, Start Serial: 33197

1шт.

56

9410281

ELBOW,90 Degree, 3/4"-16, 37 Degree x 3/4"-16, 37 Degree Fem Sw

1/2 hyd fld 90 deg swivel

1шт.

57

587639R1

HYD CONNECTOR,9/16"-18, 37 Degree x 3/4"-18, O-Ring

CONNECTOR, 1/2 x 3/8 sht hyd fld

1шт.

S/N 32000 and below

1шт.

57

9410203

HYD CONNECTOR,3/4"-16, 37 Degree x 3/4"-16, O-Ring

CONNECTOR, 1/2 hyd sht swivel

1шт.

S/N 32001 and above

1шт.

58

9410978

ELBOW,90 Degree, 7/8"-14, 37 Degree x 7/8"-14, O-Ring

5/8 C-Z hyd fld adj 90 deg, Start Serial: 33197

1шт.

59

1267150C91

FILTER ASSY

valve line pressure, Start Serial: 33197

1шт.

60

1267031C1

HOSE ASSY.

HOSE ASSY, hand pump pressure, 38.39 in., used with Ross pump, Serial Range: 33197-52000

1шт.

60

1327580C1

HOSE

ASSY, steering hand pump pressure, replaces 1279318C1 and 1317941C1, 41 in., 1040mm, used with Danfoss pump, Start Serial: 52001

1шт.

61

9403399

REDUCER,37 Degree, 1/2" x 1/4" Tube

FITTING, 1/2 x 1/4 C-Z hyd fld tube redr, used with Ross pump, Serial Range: 33197-52000

1шт.

62

9403528

TUBE NUT,37 Degree, 3/4"-16, Type B

NUT, 1/2 C-Z hyd fld tube style B, used with Ross pump, Serial Range: 33197-52001

2шт.

63

9410977

ELBOW,90 Degree, 3/4"-16, 37 Degree x 3/4"-16, O-Ring

1/2 C-Z hyd fld adj 90D

1шт.

63

1272100C1

ELBOW

inlet to hand pump orifice reducer

1шт.

S/N 32000 and below, for correction of steering chatter

1шт.

63

1272098C1

ELBOW

inlet to hand pump orifice reducer

1шт.

S/N 32001 and above, for correction of steering chatter

1шт.

1272043C1

KIT

pressure line filter service, consists of bronze element (NSS), spring (NSS), o-ring (NSS), gasket (NSS)

1шт.

Выбрано товаров: 117