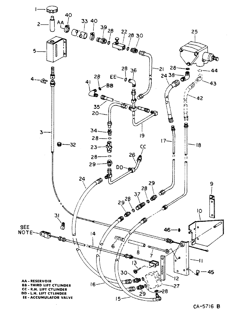
Запчасти Case IH 1460 (10-73) - HYDRAULICS, AUTOMATIC HEADER CONTROL, S/N 1501 THRU 22000 (07) - HYDRAULICS

Схема запчастей Case IH 1460 - (10-73) - HYDRAULICS, AUTOMATIC HEADER CONTROL, S/N 1501 THRU 22000 (07) - HYDRAULICS
45
24
10
34
28
38
30
24
29
40
36
26
21
18
28
1
32
28
39
41
43
28
5
4
28
19
2
44
13
14
22
11
28
6
23
3
20
31
27
7
28
12
28
28
46
29
37
9
17
29
25
28
15
8
33
29
35
40
30
16
42
FIT
1:1
100%

Артикул

Название

Примечание

Количество

1

198941C1

KNOB

height control upper cable

1шт.

2

196989C1

UNION

upper control cable

1шт.

3

196887C1

CABLE

height control upper

1шт.

196922C1

LOCK NUT

upper cable grip

1шт.

159967

SCREW,Cross Pan Hd, #10 - 24 x 1 1/2"

no. 10 x 1-1/2 znp p/hdcr mach

1шт.

120391

WASHER,#10

.219 x .500 x .036

1шт.

4

379187C1

CLIP

upper control cable

1шт.

5

198806C1

SUPPORT

ASSY, upper control cable

1шт.

174097C1

FLANGE NUT,Flg, USR, #10-24

10-24 C-Z flange lock

1шт.

159927

SCREW,Cross Pan Hd, #10 - 24 x 1/2"

1шт.

6

391745R1

SPRING

flow control valve pivot support

1шт.

7

198490C1

ROD

header control

1шт.

87395

COTTER PIN,1/8" OD x 1-1/4" OAL

PIN, SPLIT (COTTER), 1/8" x 1-1/4"

1шт.

25709R1

WASHER

.406 x .812 x .089 hdn

1шт.

8

196621C2

TUBE,0.402" ID, 0.5" OD, 6.88" Length

rod

1шт.

9

198485C1

SUPPORT

flow control valve

1шт.

482256R1

BEARING LOCK NUT,Flg, USR, 3/8"-16

3/8 flange lock

1шт.

154273C1

BOLT,Hex Serr, 3/8" - 16 x 1", Spcl

SCREW, 3/8-16 x 1 lock

1шт.

10

198486C1

SUPPORT

ASSY, flow control valve pivot

1шт.

598809R1

CARRIAGE BOLT,Sht Sq Nk, 3/8" - 16 x 3/4", Gr 5

BOLT, 3/8 x 3/4 crg type 5

1шт.

482256R1

BEARING LOCK NUT,Flg, USR, 3/8"-16

3/8 flange lock

1шт.

18481R1

COTTER PIN,3/16" x 1"

PIN, SPLIT (COTTER), 3/16" x 1"

1шт.

25710R1

WASHER

.531 x 1.062 x .134 hdn

1шт.

11

174235C3

SUPPORT

ASSY, flow control

1шт.

648002

KNIFE

1/8" x 3/4"

1шт.

12

174244C1

BAR

flow valve control

1шт.

13

174230C1

PIN

valve control bar to lower cable connecting

1шт.

14

196884C1

CABLE

height control lower, 98.1 in., for 47 in. feeder and 810 auger w/o rock trap

1шт.

14

189131C1

CABLE PULLING GRIP

CABLE, height control lower, 80.8 in., for 47 and 54. in feeder and 820 header w/o rock trap

1шт.

14

198340C1

CABLE

height control lower, 104.1 in., for 47 in. feeder and 810 header with 20 in. auger w/rock trap, for 47 in. feeder and 810 header with 23.6 in. auger w/o rocktrap, for 54.5 in. feeder and 810 header with 20 in. auger w/o rock trap

1шт.

14

183613C1

CABLE PULLING GRIP

CABLE, height control lower, 86.8 in., for 54.5 in. feeder and 820 header w/rock trap

1шт.

14

174239C1

CABLE

height control lower, 113.6 in., for 47 in. feeder and 810 header with 23.6 in. auger w/rock trap, for 54.5 in. feeder and 810 header with 20 in. auger w/rock trap, for 54.5 in. feeder and 810 header with 23.6 in. auger w/o rock trap

1шт.

14

1314085C1

CABLE

height control lower, 122 in., 54.5 in. feeder and 810 header with 23.6 in. auger w/rock trap

1шт.

15

174269C1

HOSE,0.50" ID x 25.00", SAE 100R1

0.50" ID x 25.00", SAE 100R, Flow Control Valve Return, 25.0 (NSS)

1шт.

16

381173R91

HOSE,12.7mm ID x 209.55mm L, SAE 100R1

ASSY, flow control valve pressure 18.25 in.

1шт.

17

196753C1

HYD TUBE

TUBE ASSY, header control valve pressure

1шт.

18

196754C1

HYD TUBE

TUBE ASSY, header control valve return

1шт.

19

187789C1

HYD TUBE

TUBE ASSY, third cylinder pressure

1шт.

20

187824C1

TUBE

ASSY, accumulator to ahc lift pressure

1шт.

21

196817C1

HYD TUBE

TUBE ASSY, third cylinder return upper

1шт.

22

183511C1

VALVE

check

1шт.

23

183510C1

VALVE

needle

1шт.

24

574230R91

HOSE ASSY.

HOSE ASSY, header control upper return and lower pressure, 29.0 in.

2шт.

25

VALVE ASSY, header lift control, refer to this group under header lift valve

1шт.

26

187823C1

TUBE

ASSY, header lift cylinder pressure

1шт.

27

VALVE ASSY, automatic flow control, refer to this group under automatic flow control valve

1шт.

28

570828R1

O-RING,0.087" Thk x 0.644" ID, -908, Cl 6, 90 Duro

for 1/2 in. OD

1шт.

29

384539R1

HYD CONNECTOR,7/8"-14, 37 Degree x 3/4"-16, O-Ring

CONNECTOR, 7/8-14 x 3/4-16 37 deg

3шт.

30

9410203

HYD CONNECTOR,3/4"-16, 37 Degree x 3/4"-16, O-Ring

CONNECTOR, 3/4-16 37 deg

2шт.

31

299404C1

CLAMP

1шт.

155807C1

BOLT,Hex Serr, 5/16" - 18 x 1"

1шт.

142745

NUT, WING

NUT, 5/16 wing

1шт.

938017R1

FLANGE NUT,Flg, USR, 5/16"-18

5/16 flange lock

1шт.

32

195803C1

GROMMET

cable seal, 3/8 in. ID

1шт.

33

HOSE, third left cylinder, use 26 in. of 3/8 in. from 50 ft. roll marked S118400

1шт.

34

9410203

HYD CONNECTOR,3/4"-16, 37 Degree x 3/4"-16, O-Ring

CONNECTOR, 3/4-16 37 deg

1шт.

35

144140C1

HOSE,9.53mm ID x 787.4mm L, SAE 100R1

ASSY, header lift cylinder replaces 578582R91, 31 in.

1шт.

36

9410977

ELBOW,90 Degree, 3/4"-16, 37 Degree x 3/4"-16, O-Ring

3/4-16 37 deg 90 deg

2шт.

37

174276C1

FITTING

COUPLING, flow control pressure hose

1шт.

38

9411105

ELBOW,45 Degree, 3/4"-16, 37 Degree x 3/4"-16, O-Ring

3/4-16 37 deg

1шт.

39

178039C1

CONNECTOR, ELEC

CONNECTOR, 3/8 beaded

1шт.

40

244713R1

HOSE CLAMP,#4, 0.25/0.62 Type M Worm

CLAMP, return hose

2шт.

41

9410977

ELBOW,90 Degree, 3/4"-16, 37 Degree x 3/4"-16, O-Ring

3/4-16 deg

1шт.

42

HOSE ASSY, header control valve return, refer to this group under header lift, steering and unloader swing diagram

1шт.

43

ELBOW, 3/4-16 45 deg, refer to this group under header, lift, steering and unloader swing diagram

1шт.

44

O-RING, for 1/2 in. OD, refer to this group under header lift, steering and unloader swing diagram

1шт.

45

362120R1

CLAMP,9.53mm ID, 10.32mm Bolt Hole, P Type

CLIP, upper cable

1шт.

161108C1

BOLT,Hex Serr, 1/4" - 20 x 1/2"

1/4 x 1/2 flange lock

1шт.

938016R1

FLANGE NUT,Flg, USR, 1/4"-20

1/4 flange lock

1шт.

46

87414

LUBE NIPPLE,1/4" - 28

FITTING, lub

1шт.

Выбрано товаров: 70