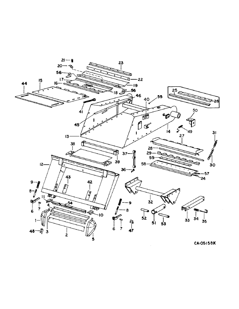
Запчасти Case IH 1460 (33-01) - FEEDER (13) - FEEDER

Схема запчастей Case IH 1460 - (33-01) - FEEDER (13) - FEEDER
8
57
59
45
50
44
58
23
36
19
21
56
34
8
6
2
55
39
27
24
42
31
51
48
25
37
29
35
56
6
53
54
43
15
30
14
9
49
40
33
9
20
22
7
13
10
11
26
12
52
16
47
46
38
28
3
32
4
1
7
18
41
17
5
FIT
1:1
100%

Артикул

Название

Примечание

Количество

1

175909C1

DEFLECTOR

ASSY, feeder front RH, for corn, not draper

1шт.

1

1308267C2

DEFLECTOR

ASSY, feeder front RH, for grain, not draper

1шт.

1

197860C1

DEFLECTOR

ASSY, feeder front RH, for draper

1шт.

1

184854C1

DEFLECTOR

ASSY, feeder front RH, for 20 ft header with 24 in. auger

1шт.

938017R1

FLANGE NUT,Flg, USR, 5/16"-18

5/16 flange lock

1шт.

135270

SERRATED SCREW,5/16" - 18 x 3/4"

5/16 x 3/4 slt-truss-hd

1шт.

2

175955C1

COVER

front lower, not draper

1шт.

2

181672C1

COVER ASSY

COVER, front lower, for draper

1шт.

202107C1

BOLT,Hex Serr Flg, 5/16" - 18 x 3/4"

5/16 x 3/4 znd hex-hd flange

1шт.

9412083

NUT,5/16"-18, GB

NUT, 5/16 CAD prevailing torque lock

1шт.

3

175952C1

BAR

STRIP, front cover backing, not draper

1шт.

3

181671C1

STRIP

front cover backing, for draper

1шт.

202107C1

BOLT,Hex Serr Flg, 5/16" - 18 x 3/4"

5/16 x 3/4 znp hex-hd flange lock

1шт.

9412083

NUT,5/16"-18, GB

NUT, 5/16 CAD p/t lock type 5

1шт.

4

175917C1

COVER

feeder adapter, not draper

1шт.

4

181670C1

COVER ASSY

COVER, feeder adapter, for draper

1шт.

4

1319220C1

SHIELD

COVER, feeder adapter, for 20 ft header with 24 in. auger

1шт.

938017R1

FLANGE NUT,Flg, USR, 5/16"-18

5/16 C-Z flange lock

1шт.

135270

SERRATED SCREW,5/16" - 18 x 3/4"

5/16 x 3/4 znd slt-truss-hd

1шт.

5

175908C1

DEFLECTOR

ASSY, feeder front LH, for corn, not draper

1шт.

5

1308266C2

DEFLECTOR

ASSY, feeder front LH, for grain, not draper

1шт.

5

197859C1

DEFLECTOR

ASSY, front feeder LH, for draper

1шт.

5

184853C1

DEFLECTOR

ASSY, feeder front LH, for 30 ft header with 24 in. auger

1шт.

938017R1

FLANGE NUT,Flg, USR, 5/16"-18

5/16 flange lock

1шт.

135270

SERRATED SCREW,5/16" - 18 x 3/4"

5/16 x 3/4 slt-truss-hd

1шт.

6

179024C1

HINGE

HANDLE ASSY, feeder locking latch

2шт.

7

177141C1

PIN,15.88mm OD x 41mm L

locking latch pivot

2шт.

617057R1

PIN,1/4" x 1", Coiled

1шт.

21471R1

WASHER

.656 x 1.000 x .105

1шт.

8

177138C1

ROD

locking latch

2шт.

25077R1

LOCK NUT,5/16"-18, GB

NUT, LOCK, 5/16"-18, GB

1шт.

18518R1

LOCK PIN,1/8" x 1", Slotted

PIN, 1/8" x 1", Slotted

1шт.

27309R1

WASHER

.344 x .688 x .051 pln

1шт.

9

367833R1

SPRING

locking latch rod

2шт.

10

175913C1

ANGLE

feeder adapter LH, w/o rock trap

1шт.

120378

NUT,Hex, 1/2" - 13, Gr 5

NUT, 1/2"-13, G5

1шт.

120384

WASHER,1/2"

LOCK, 1/2"

1шт.

180175

BOLT,Hex, 1/2" - 13 x 1 1/4", Gr 5

1/2 x 1-1/4 type 5

1шт.

25710R1

WASHER

.531 x 1.062 x .134 hdn

1шт.

11

175914C1

ANGLE

feeder adapter RH, w/o rock trap

1шт.

120378

NUT,Hex, 1/2" - 13, Gr 5

NUT, 1/2"-13, G5

1шт.

120384

WASHER,1/2"

LOCK, 1/2"

1шт.

180175

BOLT,Hex, 1/2" - 13 x 1 1/4", Gr 5

1/2 x 1-1/4 type 5

1шт.

25710R1

WASHER

.531 x 1.062 x .134 hdn

1шт.

12

184738C3

NIPPLE, LUBE

ADAPTER ASSY, feeder, for corn & rice

1шт.

12

1308249C3

ADAPTER

ASSY, feeder, for grain

1шт.

13

1324576C1

PLATE

SHEET, feeder bottom, replaces 185789C2 for 47 in. feeder, not perforated

1шт.

13

185820C1

SHEET

BOTTOM ASSY, feeder, perforated, for 47 in feeder

1шт.

13

1324578C1

PLATE

SHEET, feeder bottom, replaces 185790C1, for 54.5 in. feeder, not perforated

1шт.

13

1313970C1

PANEL

BOTTOM ASSY, feeder, perforated, for 54.5 in. feeder

1шт.

598809R1

CARRIAGE BOLT,Sht Sq Nk, 3/8" - 16 x 3/4", Gr 5

BOLT, 3/8 x 3/4 crg type 5

1шт.

485734R1

CARRIAGE BOLT,Short NK, 1/2"-13 x 1 1/4", G5, Full Thd

BOLT, 1/2 x 1-1/4 crg type 5

1шт.

186852C1

FLANGE NUT,Hex, 1/2"-13, Lock

1/2 flange

1шт.

1319840C1

FLANGE NUT,Flg, 3/8"-16, G8

3/8 PHC flange

1шт.

477-73812

SERRATED SCREW,Truss HD, 3/8" - 16 x 3/4"

3/8 x 3/4 znp slt-truss-hd

1шт.

477-73816

SERRATED SCREW,Sl Truss Hd, 3/8" x 1"

3/8 x 1 slt-truss-hd

1шт.

14

1305366C91

HOUSING

ASSY, feeder, replaces 182519C92, for 47 in. feeder, includes ref. nos. 40, 45 & 46

1шт.

14

1305367C91

HOUSING

ASSY, feeder, replaces 182520C92, for 54.5 in. feeder, includes ref. nos. 40, 45 & 46

1шт.

495967R1

CARRIAGE BOLT,Short NK, 3/8"-16 x 1", G5, Full Thd

BOLT, 3/8 x 1 crg type 5

1шт.

120377

NUT,3/8" - 16, Gr 5

1шт.

120382

LOCK WASHER,Helical Spring, 3/8"

WASHER, LOCK, 3/8"

1шт.

124589

BALL STUD,Hex, 5/8" - 11 x 2", Gr 5

5/8 hex.

1шт.

9413969

NUT,5/8"-11, GB

5/8 prevailing torque hex.

1шт.

271547

STUD,Hex, 5/8" - 11 x 1 1/2", Gr 5

SCREW, 5/8 x 1-1/2 hex-hd cap

1шт.

NLS

NO LONGER SERVICED

SCREW, 5/8 x 1-3/4 hex-hd cap

1шт.

492-11062

BEARING WASHER,5/8"

WASHER, LOCK, 5/8"

1шт.

25976R1

WASHER,21/32" x 1 5/16" x .150", HDN

.656 x 1.312 x .150 PHC hdn

1шт.

938017R1

FLANGE NUT,Flg, USR, 5/16"-18

5/16 flange lock

1шт.

482256R1

BEARING LOCK NUT,Flg, USR, 3/8"-16

3/8 flange lock

1шт.

135270

SERRATED SCREW,5/16" - 18 x 3/4"

5/16 x 3/4 slt-truss-hd

1шт.

477-73812

SERRATED SCREW,Truss HD, 3/8" - 16 x 3/4"

3/8 x 3/4 slt-truss-hd

1шт.

15

185837C1

SUPPORT ASSY.

HINGE ASSY, feeder top, for 47 in. feeder

1шт.

15

185838C1

BRACKET

HINGE ASSY, feeder top, for 54.5 in. feeder

1шт.

598813R1

CARRIAGE BOLT,Sht Sq Nk, 1/2" - 13 x 1", Gr 5

BOLT, 1/2 x 1 crg type 5

1шт.

186852C1

FLANGE NUT,Hex, 1/2"-13, Lock

1/2 flange

1шт.

16

175906C1

ROD

top door hinge

1шт.

17

180555C91

DOOR ASSY.

DOOR ASSY, feeder top, includes ref. no. 18

1шт.

18

179749C2

PRODUCT GRAPHIC

danger instr.

1шт.

19

197426C4

COVER

feeder top

1шт.

598813R1

CARRIAGE BOLT,Sht Sq Nk, 1/2" - 13 x 1", Gr 5

BOLT, 1/2 x 1 znd sq-nk crg type 5

1шт.

186852C1

FLANGE NUT,Hex, 1/2"-13, Lock

1/2 flange

1шт.

20

169129C1

CLIP

top door latch, Serial Range: -1500

1шт.

20

184645C1

CLIP

top door latch, Start Serial: 1501

1шт.

18686R1

CARRIAGE BOLT,Short Nk, 3/8" - 16 x 2 1/4", Gr 2

BOLT, 3/8 x 2-1/4 znd sq-nk-crg

1шт.

120377

NUT,3/8" - 16, Gr 5

1шт.

25709R1

WASHER

.406 x .812 x .089 hdn

1шт.

21

7422T

SPRING

top door latch

1шт.

22

634204R1

SEAL

feeder top

1шт.

23

197418C1

SUPPORT

feeder top seal

1шт.

477-73816

SERRATED SCREW,Sl Truss Hd, 3/8" x 1"

3/8 x 1 slt-truss-hd

1шт.

482256R1

BEARING LOCK NUT,Flg, USR, 3/8"-16

3/8 flange lock

1шт.

24

197429C1

SEALING STRIP

lower door seal

1шт.

155945

SCREW,Cross Flat Hd, #10 - 24 x 3/4"

1шт.

196922C1

LOCK NUT

no. 10 p/t lock

1шт.

25

197428C2

DOOR SEAL

feeder lower door, Serial Range: -52689

1шт.

Rivet for ref #25 (P/N 197427C1) - 187166C1

1шт.

26

197427C1

GUIDE

STRAP, lower door seal spacer, Serial Range: -52689

1шт.

27

193362C2

DOOR

ASSY, feeder bottom

1шт.

28

159012C1

ROD

feeder bottom door hinge

1шт.

29

193364C2

HINGE

feed plate

1шт.

482256R1

BEARING LOCK NUT,Flg, USR, 3/8"-16

3/8 flange lock

1шт.

477-73816

SERRATED SCREW,Sl Truss Hd, 3/8" x 1"

3/8 x 1 slt-truss-hd

1шт.

30

167570C1

CHAIN,203.2mm L

lower door latch

2шт.

31

635503R1

SPRING,148.8mm Free Length

lower door latch

2шт.

32

197382C2

SUPPORT ASSY.

SUPPORT ASSY, feeder lift, for 47 in. feeder

1шт.

32

187102C2

BRACKET

SUPPORT ASSY, feeder lift, for 54.5 in. feeder

1шт.

485734R1

CARRIAGE BOLT,Short NK, 1/2"-13 x 1 1/4", G5, Full Thd

BOLT, 1/2 x 1-1/4 crg type 5

1шт.

465567R1

CARRIAGE BOLT,Sht Sq Nk, 1/2" - 13 x 1 1/2", Gr 5

BOLT, 1/2 x 1-1/2 crg type 5

1шт.

482256R1

BEARING LOCK NUT,Flg, USR, 3/8"-16

3/8-16 flange lock

1шт.

186852C1

FLANGE NUT,Hex, 1/2"-13, Lock

1/2 flange

1шт.

179464C1

SERRATED SCREW,Sl Truss Hd, 3/8" - 16 x 1 1/4"

3/8 x 1-1/4 slt-truss-hd

1шт.

33

197554C3

CHANNEL

lift cylinder lock

1шт.

23948R1

HEADED PIN,3/8" x 3 1/4"

PIN, HEADED, 3/8" x 3 1/4"

1шт.

586591R1

COTTER PIN

PIN, 1/8 QA

1шт.

34

M296

SPRING

lift locking rod

1шт.

35

197849C1

ROD

cylinder lift lock

1шт.

648002

KNIFE

1/8" x 3/4"

1шт.

27309R1

WASHER

.344 x .688 x .051 pln

1шт.

36

179207C1

HOOK

reel lift hose tie down

1шт.

37

179206C1

STRAP

reel lift hose tie down

1шт.

174097C1

FLANGE NUT,Flg, USR, #10-24

10-24 C-Z flange lock

1шт.

455367

SCREW, no. 10 x 1-1/2 znp h/hd mach Hex Hd, #10-24 x 1 1/2"

1шт.

22237R1

WASHER

.203 x .750 x .054

1шт.

38

187187C2

SUPPORT ASSY.

SUPPORT ASSY, feeder bottom, w/rock trap

1шт.

180175

BOLT,Hex, 1/2" - 13 x 1 1/4", Gr 5

1/2 x 1-1/4 type 5

1шт.

120378

NUT,Hex, 1/2" - 13, Gr 5

NUT, 1/2"-13, G5

1шт.

120384

WASHER,1/2"

LOCK, 1/2"

1шт.

25710R1

WASHER

.531 x 1.062 x .134 hdn

1шт.

39

187192C1

SUPPORT ASSY.

SUPPORT ASSY, feeder bottom rear, w/rock trap

1шт.

195312C1

FLANGE NUT,Flg, USR, 1/2"-13, G8

1/2 PHC flange lock type 8

1шт.

40

189922C3

DECAL

PRODUCT GRAPHIC, danger

2шт.

41

185836C1

BOLT,Hex, 5/8" - 11 x 9"

header leveling adjusting

1шт.

280374

NUT,Hex, 5/8" - 11, Gr 5

5/8 type 5

1шт.

25976R1

WASHER,21/32" x 1 5/16" x .150", HDN

.656 x 1.312 x .150 PHC hdn

1шт.

42

181646C1

SUPPORT

FILLER, feeder LH, for rice not draper

1шт.

42

197881C2

FILLER

feeder LH, for rice draper

1шт.

161945C1

SERRATED SCREW,Sl Truss Hd, 5/16" - 18 x 1"

5/16 x 1 znp slt-truss-hd

1шт.

938017R1

FLANGE NUT,Flg, USR, 5/16"-18

5/16 flange lock

1шт.

43

181646C1

SUPPORT

FILLER, feeder RH, replaces 181647C1, for rice not draper

1шт.

43

197882C2

FILLER

feeder RH, for rice draper

1шт.

161945C1

SERRATED SCREW,Sl Truss Hd, 5/16" - 18 x 1"

5/16 x 1 znp slt-truss-hd

1шт.

938017R1

FLANGE NUT,Flg, USR, 5/16"-18

5/16 flange lock

1шт.

44

182317C1

COVER

feeder top front

1шт.

45

182032C2

BAR

feeder upper, for 47 in. feeder

2шт.

45

182030C2

SUPPORT

BAR, feeder upper, for 54.5 in. feeder

2шт.

46

182035C1

SUPPORT

feeder lower

2шт.

47

1338021C1

PIN,7.94mm OD

latch locking replaces 407171R1

2шт.

48

1308306C1

DEFLECTOR

adapter lower, for grain

2шт.

135270

SERRATED SCREW,5/16" - 18 x 3/4"

5/16 x 3/4 znp slt-truss-hd

1шт.

938017R1

FLANGE NUT,Flg, USR, 5/16"-18

5/16 flange lock

1шт.

49

GAGE, reluctance pickup, refer to this group under feed conveyor

1шт.

50

1307486C1

SUPPORT ASSY.

SUPPORT ASSY, transducer mounting

1шт.

68530C1

BOLT,Hex Serr, 1/4" - 20 x 3/4"

1/4 x 3/4 hex-hd flange

1шт.

51

EXTENSION, lift cylinder, refer to group 10 under header lift cylinder

1шт.

52

PIN, lift cylinder, refer to group 10 under header lift cylinder

1шт.

53

PIN, lift cylinder, refer to group 10 under header lift cylinder

1шт.

54

1319744C1

SUPPORT ASSY.

SUPPORT ASSY, bottom stiffener, w/o rock trap

1шт.

55

188456

HOLE PLUG BUTTON,13/16"

PLUG, 13/16 hole dia pln button, to plug hole in rear cross tie tube when not equipped with automatic feeder cut off

1шт.

56

1322144C1

ANGLE

top door stop

2шт.

88542

BOLT,Hex, 1/4"-20 x 1/2", Gr 5

1/4 x 1/2 type 5

1шт.

938016R1

FLANGE NUT,Flg, USR, 1/4"-20

1/4 flange lock

1шт.

57

1319963C1

SEAL

SEAL, feeder rear, Start Serial: 52690

1шт.

58

1319961C1

SUPPORT

feeder bottom rear, Start Serial: 52690

1шт.

59

1319965C1

BAR

feeder bottom rear spacing, Start Serial: 52690

1шт.

184649C1

PRODUCT GRAPHIC

adjusting instructions

1шт.

180121C91

PACKAGE

feeder front LH deflector, not for use with 810 draper header, consists of, (NSS) filler, feeder front LH, (NSS) angle, stripper extension, (NSS) instructions

1шт.

135270

SERRATED SCREW,5/16" - 18 x 3/4"

5/16 x 3/4 znp slt-truss-hd

1шт.

938017R1

FLANGE NUT,Flg, USR, 5/16"-18

5/16 flange lock

1шт.

180122C91

PACKAGE

feeder front LH deflector, for use with 810 draper header, consists of, (NSS) filler, feeder front LH, (NSS) angle, stripper extension, (NSS) instructions

1шт.

135270

SERRATED SCREW,5/16" - 18 x 3/4"

5/16 x 3/4 znp slt-truss-hd

1шт.

938017R1

FLANGE NUT,Flg, USR, 5/16"-18

5/16 flange lock

1шт.

SB5092 - Feeder reverser service parts.

1шт.

Выбрано товаров: 172