Запчасти Case IH 1460 (07-019) - FEEDER DRIVE FORWARD GEAR CASE (04) - Drive Train

Схема запчастей Case IH 1460 - (07-019) - FEEDER DRIVE FORWARD GEAR CASE (04) - Drive Train
23
10
25
9
3
20
1
15
13
21
8
31
22
14
13
5
17
7
27
18
12
11
13
6
2
24
29
28
30
4
26
14
19
16
14
32
FIT
1:1
100%

Артикул

Название

Примечание

Количество

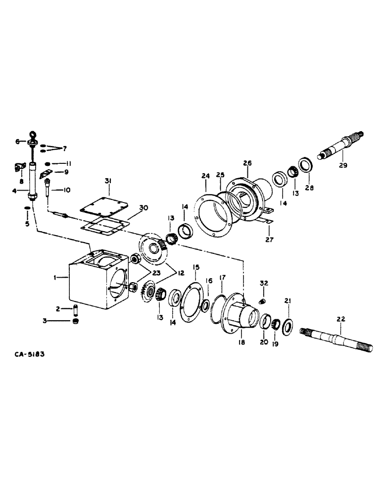
1

191388C1

CASE

FEEDER AND CLEANING FAN DRIVE GEAR

1шт.

180173

BOLT,Hex, 1/2" - 13 x 1", Gr 5

1шт.

120384

WASHER,1/2"

1шт.

2

188126

PIPE,Nipple, 3/8" NPT x 2"

3/8 X 2 ZND GEAR CASE DRAIN PIPE

1шт.

3

221-1524

CAP,3/8" NPT

3/8 ZNP DRAIN PIPE

1шт.

4

195429C1

TUBE

FITTING ASSY, OIL GAUGE

1шт.

5

296247R1

O-RING,16-1, 90 Duro, 1.171" ID x .116" Thk

1шт.

6

195319C91

GAUGE ASSY.

OIL, WITH 7

1шт.

7

350684R1

O-RING,0.139" Thk x 0.734" ID, -210, Cl 5, 75 Duro

2шт.

8

195446C1

CLAMP

BANK LUBE HOSE SUPPORT, USED WITH 171931C1

1шт.

9

195445C1

ANGLE

BANK LUB HOSE, USED WITH 171931C1

1шт.

180077

BOLT,Hex, 5/16" - 18 x 3/4", Gr 5

1шт.

120376

NUT,5/16"-18, G5

1шт.

80681

LOCK WASHER,5/16"

1шт.

10

171931C1

HOSE

BANK LUBE - 16 IN.

1шт.

10

188589C91

HOSE

BANK LUBE - 22 IN.

1шт.

11

581873R1

TUBE NUT,4.8 mm Length

1/8-27 NPSM BANK LUBE HOSE

1шт.

12

191285C1

GEAR-SET

DRIVE - 18T AND 31T

1шт.

13

197609R91

BEARING ASSY,1.375" ID x 3" OD x 1.125"

INPUT AND OUTPUT SHAFT INNER

3шт.

14

197608R1

BEARING ASSY,1.375" ID x 3" OD x 1.1562"

Input and output shaft inner

3шт.

15

195484C2

SHIM KIT

SHIM, PACKAGE REAR BELL HOUSING

1шт.

16

938294R91

OIL SEAL,32.89mm ID x 54.08mm OD x 8mm Thk

INPUT SHAFT INNER OIL

1шт.

17

22414R1

O-RING,0.139" Thk x 4.984" ID, -250, Cl 5, 75 Duro

1шт.

18

191245C1

HUB CAP

REAR BELL

1шт.

180124

BOLT,Hex, 3/8" - 16 x 1 1/4", Gr 5

1шт.

120382

LOCK WASHER,Helical Spring, 3/8"

1шт.

19

618023R91

BEARING ASSY,34.93mm ID x 18.2mm W

INPUT SHAFT OUTER

1шт.

20

618024R1

BEARING CUP,65.113mm OD x 13.97mm W

Input shaft outer

1шт.

21

192527C1

OIL SEAL,44.45mm ID x 69.95mm OD x 7.92mm Thk

INPUT SHAFT OUTER OIL

1шт.

22

191396C1

SHAFT

INPUT

1шт.

23

195428C1

LOCK NUT

7/8-14 ZND INPUT AND OUTPUT SHAFT HEX

2шт.

238633R1

WASHER,23.11mm ID x 52.32mm OD x 4.55mm Thk

.91 X 2.06 X .179 HARD

1шт.

24

195485C1

SHIM KIT

SHIM, PACKAGE R.H. BELL HOUSING

1шт.

25

3061207C1

O-RING, 6.234 X 6.512 X 0.139

1шт.

26

191248C1

HUB

R.H. BELL

1шт.

120382

LOCK WASHER,Helical Spring, 3/8"

1шт.

180124

BOLT,Hex, 3/8" - 16 x 1 1/4", Gr 5

1шт.

27

935915R1

SHIM,33.02mm OD x 0.38mm Thk

R.H. BELL HOUSING SUPPORT

8шт.

487374R1

BEARING LOCK NUT,Flg, USR, 1/2"-13

1шт.

180177

BOLT,Hex, 1/2" - 13 x 1 1/2", Gr 5

1шт.

28

192528C1

OIL SEAL,42.85mm ID x 76.33mm OD x 8mm Thk

OUTPUT SHAFT OIL

1шт.

29

191384C1

SHAFT

OUTPUT

1шт.

9413974

LOCK NUT,7/8"-14, GB

CAD HEX PREVAILING TORQUE

1шт.

238633R1

WASHER,23.11mm ID x 52.32mm OD x 4.55mm Thk

91 X 2.06 X .179 HARD

1шт.

30

191397C1

GASKET

GEAR CASE COVER

1шт.

31

191249C1

COVER

GEAR CASE

1шт.

113-206

BOLT,Hex, 3/8" - 16 x 3/4", Gr 5, Full Thd

1шт.

120382

LOCK WASHER,Helical Spring, 3/8"

1шт.

32

61991R91

BREATHER,1/8"-27 NPT, Short, w/washer

ASSY

1шт.

Выбрано товаров: 0