Запчасти Case IH 1460 (05-004) - STEERING WHEEL AND POST, GERMAN MARKET (04) - STEERING

Схема запчастей Case IH 1460 - (05-004) - STEERING WHEEL AND POST, GERMAN MARKET (04) - STEERING
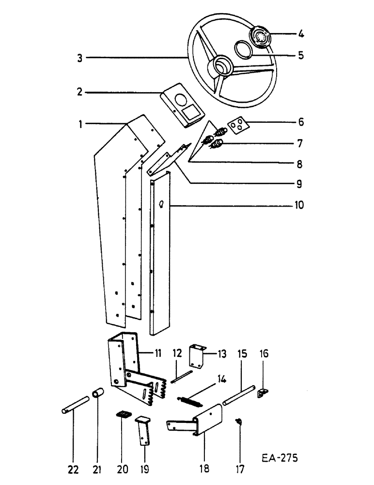
14
7
5
13
1
12
4
2
15
20
6
9
22
11
21
3
8
10
17
18
16
19
FIT
1:1
100%

Артикул

Название

Примечание

Количество

1

1312131C1

PANEL

POST ASSY, STEERING

1шт.

30470R1

CARRIAGE BOLT,Sht Sq Nk, M8 x 1.25 x 20mm, Cl 8.8

6шт.

86505868

SERRATED NUT,Hex, M8 x 1.25, Cl 8

Lock

6шт.

3175726R1

PLUG

1шт.

2

1322031C2

SUPPORT

STEERING HAND PUMP - FOR M/C'S FITTED W/DUAL PUMP

1шт.

2

1322032C2

SUPPORT

STEERING HAND PUMP - FOR M/C'S FITTED W/SINGLE PUMP

1шт.

18763R1

BOLT,Hex, 5/16" - 18 x 1/2", Gr 2

4шт.

80681

LOCK WASHER,5/16"

4шт.

934930R1

WASHER

SPARE PART 9 X 16 X 1.5 MM

4шт.

3

1407455R2

WHEEL

STEERING - FOR M/C'S FITTED W/DUAL PUMP

1шт.

3

385156R1

WHEEL (STEERING)

FOR M/C'S FITTED W/SINGLE PUMP

1шт.

3

385156R1GV

STEERING WHEEL

Value, Steering Wheel

1шт.

4

790680R1

BUTTON

CAP, STEERING WHEE, USED WITH 1407455R2

1шт.

4

68837R1

CAP

ASSY, STEERING WHEEL, USED WITH 385156R1

1шт.

5

295204R1

O-RING,0.103" Thk x 2.8" ID, -149, Cl 5, 75 Duro

- USED WITH/UTILISE AVEC/VERWENDET

1шт.

6

1312790C1

SUPPORT

LIGHT INDICATOR

1шт.

24256R1

SELF-TAP SCREW,Slotted Pan Hd, 1/4" x 5/8"

4шт.

7

245158C1

LIGHT

ASSY, BLUE - MAIN BEAM

1шт.

8

121684C91

LIGHT ASSY.

TURN INDICATOR

2шт.

9

1312787C1

COVER ASSY

STEERING POST UPPER

1шт.

167257

SELF-TAP SCREW,Cross Pan Hd, 1/4" x 1/2"

4шт.

10

1312789C1

COVER ASSY

CHANNEL, STEERING POST COVER

1шт.

168257

SCREW, 1/4 X 1/2 PAN HD CROSS RECESS TAPPING

8шт.

11

210087C1

SECTOR

SPARE PART ASSY, STRG POST PIVOT

1шт.

12

215665C1

PIN

STRG POST PIVOT STOP

1шт.

432-812

COTTER PIN,3/4" OAL x 1/8" W

1шт.

13

193263C1

SUPPORT

PIVOT STOP PIN

1шт.

847-3820

SERRATED SCREW,M8 x 20mm, Cl 10.9

2шт.

86505868

SERRATED NUT,Hex, M8 x 1.25, Cl 8

Lock

2шт.

14

183608C1

SPRING

1шт.

180132

BOLT,Hex, 3/8" - 16 x 2 1/4", Gr 5

1шт.

482256R1

BEARING LOCK NUT,Flg, USR, 3/8"-16

2шт.

120393

BEARING WASHER,5/16", SAE

1шт.

15

193246C1

PIN

STEERING RELEASE

1шт.

178373C1

WASHER, .531 X 1 X .056

2шт.

18481R1

COTTER PIN,3/16" x 1"

1шт.

16

193244C1

ANGLE

STRG POST PIVOT SHAFT RETAINER

2шт.

17

87415

LUBE NIPPLE,90 Degree, 1/4" NPT x 3/4" L, Drive

1шт.

18

193235C2

PIVOT ASSY.

STRG RELEASE

1шт.

19

193238C1

PEDAL ASSY.

STRG RELEASE

1шт.

68530C1

BOLT,Hex Serr, 1/4" - 20 x 3/4"

2шт.

938016R1

FLANGE NUT,Flg, USR, 1/4"-20

2шт.

20

357644C1

PAD, FOOT PEDAL

1шт.

21

460416R1

SPACER

STRG POST PIVOT SHAFT

1шт.

21

193233C1

PIN

STRG PIVOT SHAFT

1шт.

18481R1

COTTER PIN,3/16" x 1"

1шт.

Выбрано товаров: 46