Запчасти Case IH 1460 (08-012) - WIRING DIAGRAM, ENGINE (06) - ELECTRICAL

Схема запчастей Case IH 1460 - (08-012) - WIRING DIAGRAM, ENGINE (06) - ELECTRICAL
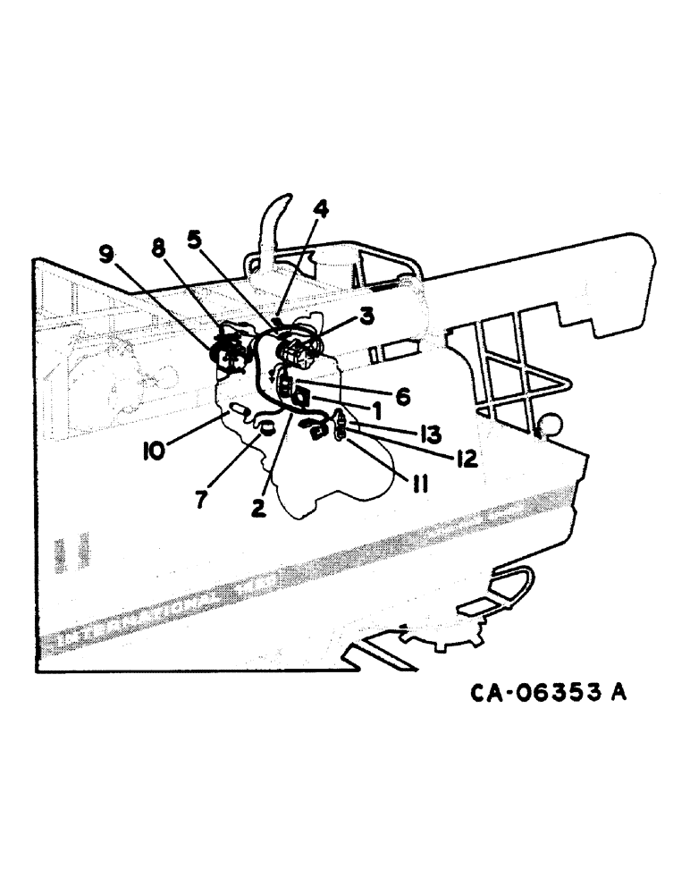
7
8
1
3
2
12
13
10
5
4
11
9
6
FIT
1:1
100%

Артикул

Название

Примечание

Количество

1

RELAY, CRANKING MOTOR SOLENOID - SEE WIRING DIAGRAM MAIN HARNESS, STARTER AND BATTERY

1шт.

2

107643C1

HARNESS

ASSY, ENGINE

1шт.

3

GENERATOR, ALTERNATOR - SEE ALTERNATOR- GENERATOR

1шт.

4

121756C2

SENSOR

TRANSMITTER, WATER TEMPERATURE GAUGE

1шт.

5

130861C1

SWITCH

WATER HI-TEMP LIGHT

1шт.

6

SWITCH, SOLENOID ASSY, ETHER INJECTION, SEE ETHER STARTING

1шт.

7

130707C3

SENDER UNIT

OIL PRESSURE GAUGE

1шт.

444161

ELBOW

ELBOW, 1/8-27 90 DEG.

1шт.

8

SWITCH, HIGH PRESSURE - SEE AIR CONDITIONER COMPRESSOR AND CONDENSER

1шт.

9

CLUTCH ASSY, COMPRESSOR - SEE AIR CONDITIONER COMPRESSOR AND CONDENSER

1шт.

10

681494C92

RELAY

SWITCH, SOLENOID ASSY, INJECTION PUMP

1шт.

11

392249R92

SWITCH

LOW OIL PRESSURE

1шт.

12

9409939

TEE,1/8"-27 NPTF Fem Run x 1/8"-27 NPTF Male Br

PIPE 1/8-27

1шт.

443998

ADAPTER,1/8"-27 Fem NPTF x 1/8"-27 NPTF Male

1/8-27 PLN AUTO PIPE

1шт.

13

131424C1

SWITCH

PRESSURE

1шт.

Выбрано товаров: 0