Запчасти Case IH 1460 (10-084) - CONTROL VALVE (07) - HYDRAULICS

Схема запчастей Case IH 1460 - (10-084) - CONTROL VALVE (07) - HYDRAULICS
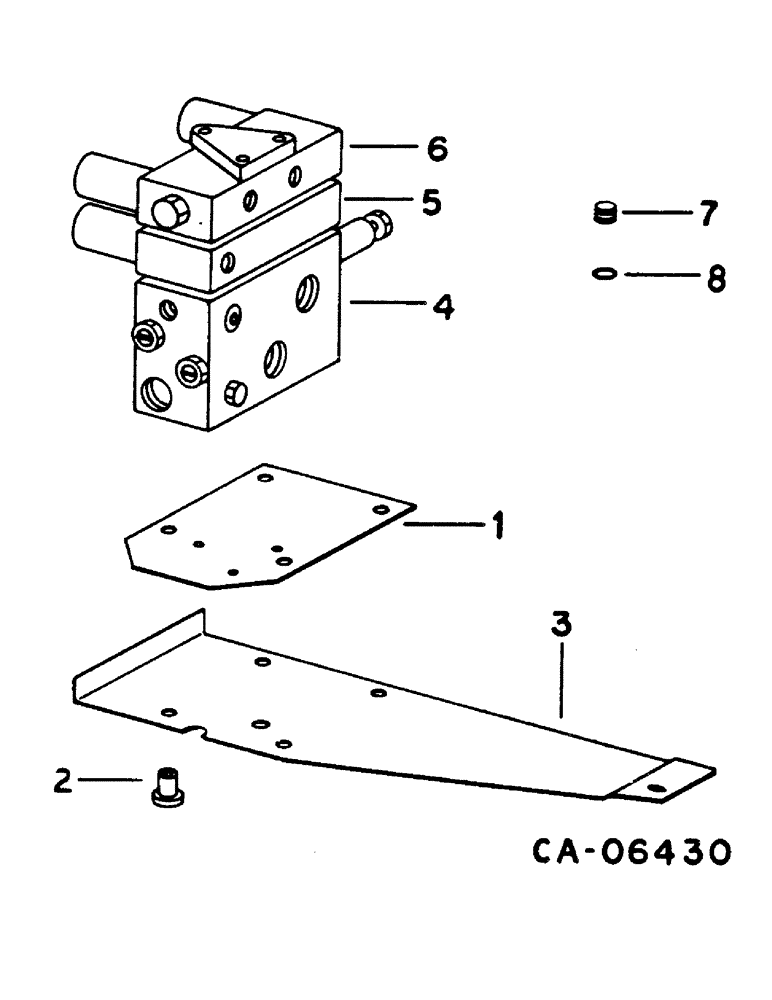
1
7
2
5
3
8
4
6
FIT
1:1
100%

Артикул

Название

Примечание

Количество

1

183683C1

BAR

CONTROL VALVE MOUNTING

1шт.

2

196504C1

BUSHING

HEADER LIFT VALVE

4шт.

366112R1

WASHER

.781 X 1.250 X .105

4шт.

20803R1

WASHER

.406 X 1.000 X .105

1шт.

180126

BOLT,Hex, 3/8" - 16 x 1 1/2", Gr 5

1шт.

120382

LOCK WASHER,Helical Spring, 3/8"

1шт.

120377

NUT,3/8" - 16, Gr 5

1шт.

3

183684C1

SUPPORT

CONTROL VALVE

1шт.

135270

SERRATED SCREW,5/16" - 18 x 3/4"

5/16 X 3/4 ZNP SLT-TRUSS-HD

1шт.

161945C1

SERRATED SCREW,Sl Truss Hd, 5/16" - 18 x 1"

1шт.

938017R1

FLANGE NUT,Flg, USR, 5/16"-18

1шт.

4

SEE HEADER VALVE

1шт.

5

SEE UNLOAD/SINGLE BI-DIRECTIONAL VALVE

1шт.

6

SEE DOUBLE-PILOTED VALVE

1шт.

7

1301634C1

VALVE

CAP, PLUG

2шт.

8

379365R1

O-RING,0.07" Thk x 0.364" ID, -12, Cl 6, 90 Duro

CLASS 6

2шт.

Выбрано товаров: 16