Запчасти Case IH 1460 (04-009) - BRAKE (5.1) - BRAKES

Схема запчастей Case IH 1460 - (04-009) - BRAKE (5.1) - BRAKES
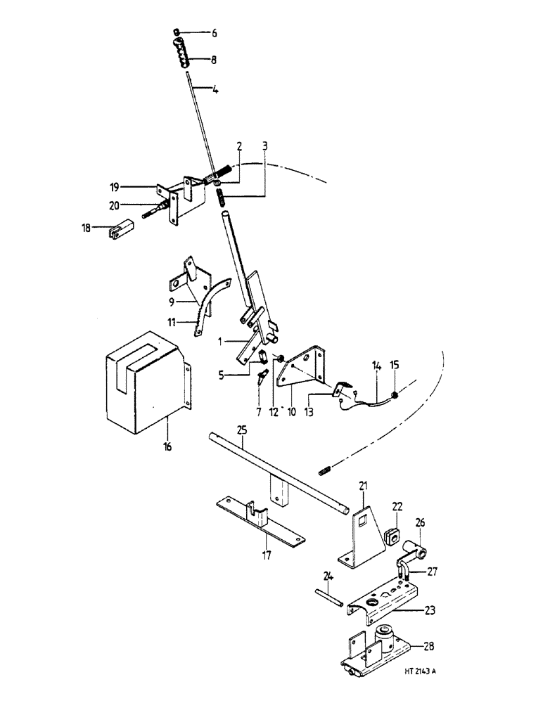
6
1
26
16
18
14
10
24
9
21
15
17
2
20
12
22
3
25
28
4
11
27
7
19
13
8
5
23
FIT
1:1
100%

Артикул

Название

Примечание

Количество

3178909R91

LEVER

CPTE, HANDBRAKE - CONSISTS OF ITEMS 1 - 13

1шт.

1

1311003C1

LEVER

HANDBRAKE

1шт.

3176135R1

WASHER

SPARE PART 21 X 32 X 1.5 MM PLN

1шт.

2

794236R2

WASHER

STOP

1шт.

3

51200184

SPRING

1шт.

4

1311011C1

ROD

LEVER

1шт.

933472R1

JAM NUT

6 MM JAM

1шт.

5

3014148R2

ADJUSTABLE CLEVIS

1шт.

6

790571R1

BUTTON

PUSH

1шт.

7

1311012C1

PAWL

1шт.

938880R1

SHAFT

PIN, 6 X 18 MM HEADED

1шт.

932421R1

PIN

6 X 40 MM HEADED

1шт.

934173R1

WASHER

7 X 14 X 1.2 MM PLN

4шт.

PIN, 2.5 X 12 MM COTTER

2шт.

8

790933R2

HANDLE

1шт.

9

1311015C1

SUPPORT

1шт.

10

1311019C1

SUPPORT

AXLE

1шт.

628-8020

BOLT,Hex, M8 x 20, 10.9, Full Thd

1шт.

934721R1

BOLT,Hex, M8 x 1.25 x 30mm, Cl 8.8, Full Thd

1шт.

934309R1

LOCK WASHER,M8

3шт.

934310R1

NUT,M8, Cl 8

3шт.

11

1311020R1

SECTOR

1шт.

628-8020

BOLT,Hex, M8 x 20, 10.9, Full Thd

1шт.

934321R1

BOLT

8 X 30 MM HEX. HD

1шт.

934309R1

LOCK WASHER,M8

2шт.

934310R1

NUT,M8, Cl 8

2шт.

12

1311021C1

SPACER

2шт.

13

1311022C1

SUPPORT

SWITCH

1шт.

87317695

BOLT,Hex, M6 x 30mm, Cl 10.9, Full Thd

1шт.

933833R1

LOCK WASHER,M6

1шт.

934173R1

WASHER

7 X 14 X 1.2 MM

2шт.

86500688

NUT,Hex, M6 x 1.0, Cl 10.9

1шт.

14

1312021C1

HARNESS

SWITCH

1шт.

15

52118D

GROMMET

RUBBER

1шт.

16

1311023C1

COVER

ASSY

1шт.

931592R1

SELF-TAP SCREW,Hex Hd, M6.3 x 19

4шт.

17

1311084C1

SUPPORT

UPPER CABLE

1шт.

933449R1

JAM NUT

M10 JAM

3шт.

18

3014150R1

CLEVIS

M10 CABLE END

1шт.

932440R1

PIN

10 X 28 MM HEADED

1шт.

30282R1

WASHER,M10 x 20 x 2

1шт.

934792R1

COTTER PIN,M3.2 x 20

3.2 X 20 MM

1шт.

19

1304032C3

SUPPORT

CABLE

1шт.

20

1311091C1

CABLE

1шт.

21

1311078C1

SUPPORT

LEFT

1шт.

21

1311079R1

SUPPORT, RIGHT

1шт.

179840

BOLT,Hex, 3/8" - 16 x 1 1/8", Gr 5

4шт.

3176635R1

WASHER

M12 X 19 X 3

4шт.

22

3173452R1

FLANGED BEARING

2шт.

23

1312660C1

LEVER

BRAKE

2шт.

24

1308992R1

PIN, WHEEL BRAKE PIVOT

2шт.

PIN, 3.2 X 20 MM COTTER

1шт.

25

1311081R1

SHAFT

LOWER DRIVE

1шт.

26

1311075R1

HUB, BRAKE DRIVE

2шт.

Q2932

LOCK PIN,M8 x 36, Slotted

2шт.

Q5164

ROLL PIN,5mm OD x 36mm L, Slotted

2шт.

27

1311351200184C1

U-SHAPED

2шт.

934113R1

LOCK NUT

4шт.

28

1312661C1

SUPPORT

BRAKE ACTUATOR

2шт.

165420C1

BOLT,Hex Serr, 3/8"-16 x 1 1/4", Spcl

4шт.

3176635R1

WASHER

12 X 19 X 3 MM PLN

4шт.

Выбрано товаров: 0