Запчасти Case IH 1460 (17-089) - CHAFFER SIEVE Mounted Equipment

Схема запчастей Case IH 1460 - (17-089) - CHAFFER SIEVE Mounted Equipment
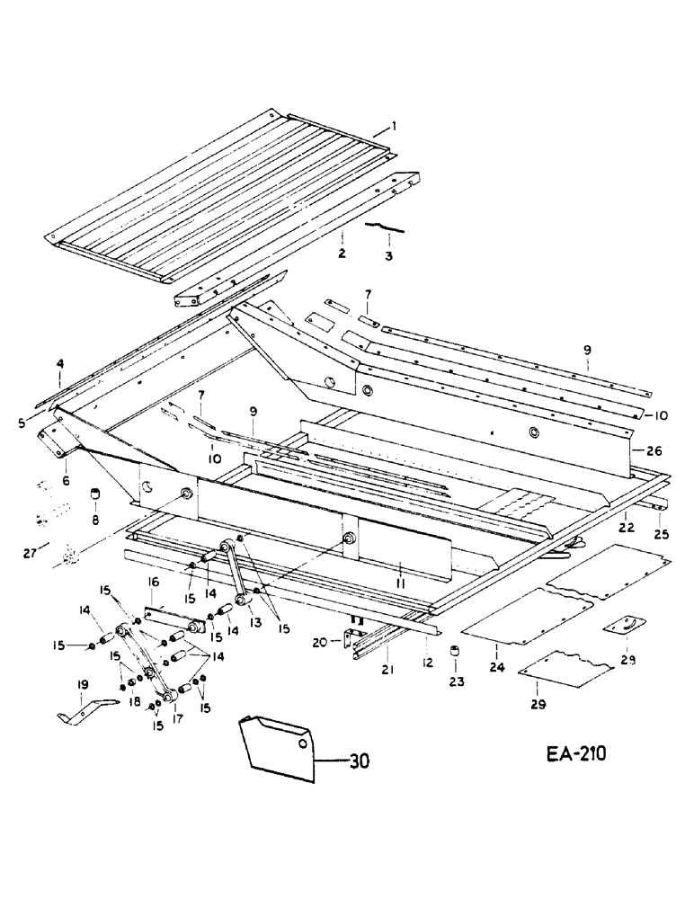
18
12
16
4
14
14
10
29
27
15
13
1
26
7
29
15
15
24
10
14
2
15
11
23
21
15
7
30
20
15
22
5
9
19
17
14
15
8
3
9
15
25
6
FIT
1:1
100%

Артикул

Название

Примечание

Количество

1

1312154C1

SIEVE

PAN ASSY, GRAIN

1шт.

938017R1

FLANGE NUT,Flg, USR, 5/16"-18

1шт.

477-73108

SERRATED SCREW,Sl Truss Hd, 5/16" - 18 x 1/2"

1шт.

2

1312156C1

SUPPORT

CHAFFER PAN SUPPORT

1шт.

135270

SERRATED SCREW,5/16" - 18 x 3/4"

5/16 X 3/4 ZNP SLT-TRUSS-HD

1шт.

938017R1

FLANGE NUT,Flg, USR, 5/16"-18

1шт.

3

1312476C1

FINGER,Formed, 1 Prong, 495.5mm L

AUGER BED

14шт.

4

192048C1

BAR

FRONT CHAFFER FRAME SEAL

1шт.

552897C1

SCREW, 1/4 X 1/2 H/WHD TAP

1шт.

5

192047C1

SEAL,63.5mm W x 1143mm L

CHAFFER FRAME FRONT

1шт.

6

192044C1

SUPPORT

CHAFFER FRAME

1шт.

938017R1

FLANGE NUT,Flg, USR, 5/16"-18

1шт.

202107C1

BOLT,Hex Serr Flg, 5/16" - 18 x 3/4"

1шт.

7

192052C2

BAR

CHAFFER FRAME SEAL

2шт.

552897R1

SELF-TAP SCREW,1/4" - 20 x 1/2"

1шт.

8

186646C1

SPACER,5/8" Tube x 15/16"

Chaffer Sieve Support Front

2шт.

20248R1

BOLT,Hex, 3/8" - 16 x 2 1/4", Gr 8

1шт.

22264R1

WASHER

.406 X 1.000 X .164

1шт.

9413979

LOCK NUT,3/8"-16, GC

1шт.

9

192053C1

BAR

CHAFFER FRAME SEAL

2шт.

552897R1

SELF-TAP SCREW,1/4" - 20 x 1/2"

1шт.

10

192051C3

SEALING STRIP

SEAL, CHAFFER FRAME

2шт.

11

185430C3

RAIL ASSY.

CHAFFER LEFT

1шт.

12

186369C1

ANGLE

CHAFFER SUPPORT L.H.

1шт.

13

175131C91

ARM ASSY.

REAR HANGER - WITH 14

2шт.

25390R1

BOLT,Hex, 5/8" - 11 x 6 1/2", Gr 8

1шт.

22228R1

BOLT,Hex, 5/8" - 11 x 3 1/2", Gr 8

1шт.

9413969

NUT,5/8"-11, GB

1шт.

14

627555R91

BUSHING,16mm ID x 28.96mm OD x 44.45mm L

REAR HANGER ARM

1шт.

15

169256C2

WASHER,16.28mm ID x 31.8mm OD x 3.05mm Thk

REAR HANGER ARM

1шт.

16

188010C91

ARM ASSY.

SHOE REAR, WITH 14

2шт.

17

192941C92

LEVER ASSY.

SHOE, WITH 14

2шт.

22228R1

BOLT,Hex, 5/8" - 11 x 3 1/2", Gr 8

1шт.

18724R1

CARRIAGE BOLT,Sq Nk, 5/8" - 11 x 4", Gr 2

1шт.

21217R1

BOLT,Hex, 5/8" - 11 x 4 1/2", Gr 8

1шт.

22858R1

SQ HOLE WASHER,41/64" x 1 1/4" x .105", Sq Hole

1шт.

9413969

NUT,5/8"-11, GB

1шт.

169256C2

WASHER,16.28mm ID x 31.8mm OD x 3.05mm Thk

21/32 X 1-1/4 X 11 GA GA ZND

1шт.

18

168250C1

RING

SPACER, SHOE AND CHAFFER LEVER

2шт.

19

193107C2

SUPPORT

SHOE LEVER L.H.

1шт.

19

193108C2

SUPPORT

SHOE LEVER R.H.

1шт.

482256R1

BEARING LOCK NUT,Flg, USR, 3/8"-16

1шт.

477-73812

SERRATED SCREW,Truss HD, 3/8" - 16 x 3/4"

3/8 X 3/4 ZNP SLT-TRUSS-HD

1шт.

20

186674C1

ANGLE

REAR DEFLECTOR

2шт.

156466

SCREW,Cross Flat Hd, 5/16" - 18 x 1"

1шт.

120376

NUT,5/16"-18, G5

1шт.

21496R1

WASHER

.344 X .750 X .105

1шт.

80681

LOCK WASHER,5/16"

1шт.

21

192070C2

CHANNEL

REAR

1шт.

80681

LOCK WASHER,5/16"

1шт.

120376

NUT,5/16"-18, G5

1шт.

202107C1

BOLT,Hex Serr Flg, 5/16" - 18 x 3/4"

1шт.

22

172839C2

GRAIN SIEVE

ASSY, 1-1/8 ADJ CHAFFER - GRAIN AND RICE

1шт.

22

172841C1

GRAIN SIEVE

ASSY, 1-5/8 CORN CHAFFER - PARTS ACCESSORY

1шт.

482256R1

BEARING LOCK NUT,Flg, USR, 3/8"-16

1шт.

180122

BOLT,Hex, 3/8" - 16 x 1", Gr 5

1шт.

23

612233R1

SPACER,5/8" Tube x 1 1/8"

CHAFFER SIEVE SUPPORT REAR

2шт.

897520R1

BOLT,Hex, 3/8" - 16 x 2 3/4", Gr 8

1шт.

21333R1

NUT,3/8"-16, G8

1шт.

366862C1

LOCK WASHER,3/8"

1шт.

22264R1

WASHER

.406 X 1.000 X .164

1шт.

24

195186C2

SEAL

CHAFFER

1шт.

18474R1

BOLT,Hex, 5/16" - 18 x 1", Gr 2

1шт.

9412083

NUT,5/16"-18, GB

1шт.

20824R1

WASHER

.344 X 1.500 X .054

1шт.

25

186370C1

ANGLE

CHAFFER SUPPORT R.H.

1шт.

26

185431C3

RAIL ASSY.

CHAFFER RIGHT

1шт.

27

LEVER ASSY, CHAFFER DRIVE HANGER - SEE SHAKER SHAFT AND AUGER DRIVE

2шт.

28

186675C1

ADJUSTING PLATE

CHAFFER LEVER

1шт.

18626R1

CARRIAGE BOLT,Short Sq Nk, 1/4" - 20 x 1/2", Gr 2

1шт.

86627130

WING NUT,1/4"-20

1/4

1шт.

29

1302784C1

STRIP

CHAFFER EXTENSION FLAP

1шт.

30

1311130C1

SHIELD

SHOE LEVER

1шт.

Выбрано товаров: 73