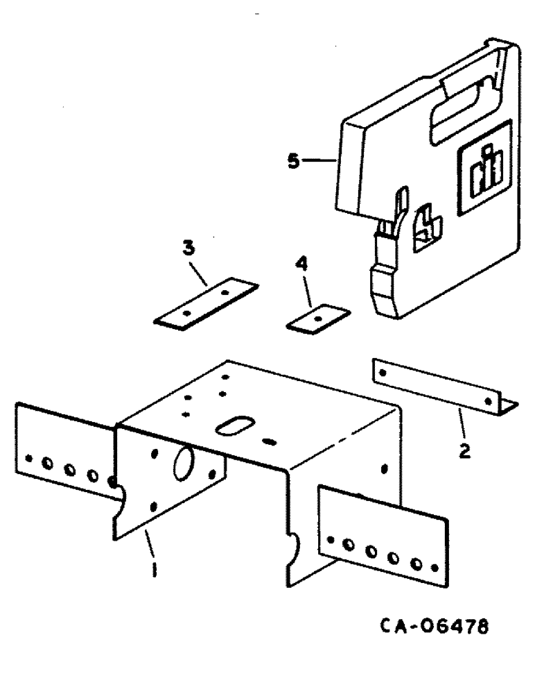
Запчасти Case IH 1480 (14-06) - SUSPENSION, COUNTER WEIGHTS AND SUPPORTS Suspension

Схема запчастей Case IH 1480 - (14-06) - SUSPENSION, COUNTER WEIGHTS AND SUPPORTS Suspension
1
5
4
3
2
FIT
1:1
100%

Артикул

Название

Примечание

Количество

1

185365C1

SUPPORT

ASSY

1шт.

2

1308872C1

BRACKET

ANGLE, side retainer

2шт.

3

178434C1

CLAMP

top RH

1шт.

180185

BOLT,Hex, 1/2" - 13 x 2 1/2", Gr 5

1/2 x 2-1/2 type 5

1шт.

120378

NUT,Hex, 1/2" - 13, Gr 5

NUT, 1/2"-13, G5

1шт.

120384

WASHER,1/2"

LOCK, 1/2"

1шт.

4

561838R1

PLATE

CLAMP, top LH

1шт.

445608

BOLT,Hex, 1/2" - 13 x 5 1/2", Gr 5

1/2 x 5-1/2 type 5

1шт.

120378

NUT,Hex, 1/2" - 13, Gr 5

NUT, 1/2"-13, G5

1шт.

120384

WASHER,1/2"

LOCK, 1/2"

1шт.

5

WEIGHT, 100 lbs, serviced only as a machine attachment

1шт.

Выбрано товаров: 11