Запчасти Case IH 1480 (05-01) - STEERING, STEERING WHEEL, SERIAL NO. 24000 AND BELOW (04) - STEERING

Схема запчастей Case IH 1480 - (05-01) - STEERING, STEERING WHEEL, SERIAL NO. 24000 AND BELOW (04) - STEERING
11
18
5
12
4
24
2
16
17
6
19
7
3
14
10
1
22
21
13
9
23
20
8
15
23
FIT
1:1
100%

Артикул

Название

Примечание

Количество

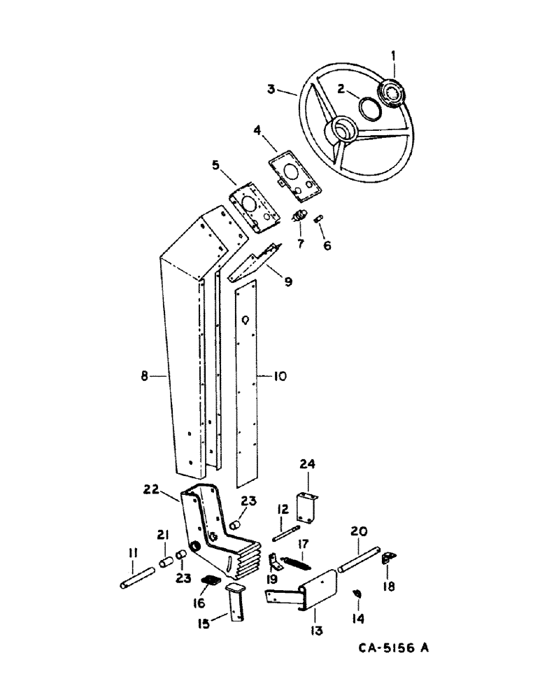
1

68837C2

CAP

ASSY, steering wheel

1шт.

2

295204R1

O-RING,0.103" Thk x 2.8" ID, -149, Cl 5, 75 Duro

2-13/16 x 3 x 3/32

1шт.

3

385156R1

WHEEL (STEERING)

WHEEL, steering

1шт.

3

385156R1GV

STEERING WHEEL

Value, Steering Wheel

1шт.

4

198772C1

SUPPORT

ASSY, steering column

1шт.

143306C1

SELF-TAP SCREW,Cross Pan Hd, #10 x 1/2"

SCREW, 10-16 x 1/2 p/hdcr tap

1шт.

5

198774C1

SUPPORT

ASSY, steering hand pump

1шт.

938017R1

FLANGE NUT,Flg, USR, 5/16"-18

5/16 flange lock

1шт.

18673R1

CARRIAGE BOLT,Short Sq Nk, 5/16" - 18 x 1/2", Gr 2

BOLT, 5/16 x 1/2 crg type 1

1шт.

6

INDICATOR LIGHT, refer to group 8 under wiring diagram, left turn, grain tank, unloader, rear lights & fuel pump

1шт.

7

BULB, no. 1815, refer to group 8 under wiring diagram, left turn, grain tank, unloader, rear lights & fuel pump

1шт.

8

193228C1

SUPPORT

ASSY, steering

1шт.

598802R1

CARRIAGE BOLT,Short NK, 5/16"-18 x 3/4", G5, Full Thd

BOLT, 5/16 x 3/4 crg type 5

1шт.

938017R1

FLANGE NUT,Flg, USR, 5/16"-18

5/16 flange lock

1шт.

9

193231C1

CHANNEL

steering column upper

1шт.

178974

SCREW,Sl Pan Hd, 1/4" - 14 x 1/2"

1/4-14 x 1/2 p/hds tap

1шт.

477-73108

SERRATED SCREW,Sl Truss Hd, 5/16" - 18 x 1/2"

5/16 x 1/2 slt-truss-hd

1шт.

10

193232C1

BAR

steering column

1шт.

178974

SCREW,Sl Pan Hd, 1/4" - 14 x 1/2"

1/4-14 x 1/2 p/hds tap

1шт.

11

193233C1

PIN

steering column pivot

1шт.

18481R1

COTTER PIN,3/16" x 1"

PIN, SPLIT (COTTER), 3/16" x 1"

1шт.

12

193234C1

PIN

steering pivot stop

1шт.

648002

KNIFE

1/8" x 3/4"

1шт.

27309R1

WASHER

.344 x .688 x .051 pln

1шт.

13

193235C2

PIVOT ASSY.

PIVOT ASSY, steering release

1шт.

14

87415

LUBE NIPPLE,90 Degree, 1/4" NPT x 3/4" L, Drive

NIPPLE, LUBE, 90°, 1/4" NPT x .75" lg, Drive, Used with 193235C1 only

1шт.

15

193238C1

PEDAL ASSY.

PEDAL ASSY, steering release

1шт.

938016R1

FLANGE NUT,Flg, USR, 1/4"-20

1/4 flange lock

1шт.

937875R1

SCREW,Serr, 1/4" - 20

no. 1/4 x 3/4 t/hds

1шт.

16

357444C1

PEDAL

PAD, foot pedal

1шт.

17

183608C1

SPRING

pedal return

1шт.

18

193244C1

ANGLE

steering column pivot

2шт.

19

193245C1

ANGLE

SUPPORT, steering release spring

1шт.

598802R1

CARRIAGE BOLT,Short NK, 5/16"-18 x 3/4", G5, Full Thd

BOLT, 5/16 x 3/4 crg type 5

1шт.

938017R1

FLANGE NUT,Flg, USR, 5/16"-18

5/16 flange lock

1шт.

20

193246C1

PIN

steering release

1шт.

18481R1

COTTER PIN,3/16" x 1"

PIN, SPLIT (COTTER), 3/16" x 1"

1шт.

178373R1

WASHER

.531 x 1.000 x .056

1шт.

21

460416R1

SPACER

steering column pivot shaft

1шт.

22

198528C91

PIVOT

w/bushings, steering column

1шт.

23

568921R1

BUSHING,15.9mm ID x 19.02mm OD x 22.23mm L

pivot

2шт.

24

193263C1

SUPPORT

steering pivot stop pin

1шт.

938017R1

FLANGE NUT,Flg, USR, 5/16"-18

5/16 flange lock

1шт.

135270

SERRATED SCREW,5/16" - 18 x 3/4"

5/16 x 3/4 znp slt-truss-hd

1шт.

Refer to S-4508 dated 2-23-83 for info on Power Steering hose and fitting combinations.

1шт.

Выбрано товаров: 45