Запчасти Case IH 1480 (13-19) - SUPERSTRUCTURE, CAB ROOF, OPERATORS CAB (05) - SUPERSTRUCTURE

Схема запчастей Case IH 1480 - (13-19) - SUPERSTRUCTURE, CAB ROOF, OPERATORS CAB (05) - SUPERSTRUCTURE
11
1
34
45
29
12
2
47
14
53
10
27
9
35
36
23
43
45
3
24
50
34
51
52
24
48
7
39
13
44
19
8
26
33
21
6
41
25
16
22
42
35
38
40
11
46
31
18
37
49
17
4
32
6
25
5
28
20
30
15
46
FIT
1:1
100%

Артикул

Название

Примечание

Количество

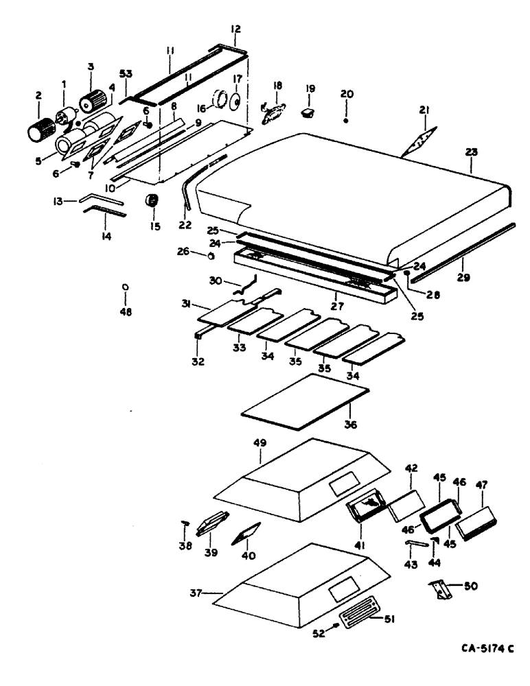
1

MOTOR, 12 V DC permanent magnet, refer to this group under cab blower assy

1шт.

2

WHEEL, blower fan LH, refer to this group under cab blower assy

1шт.

3

WHEEL, blower fan RH, refer to this group under cab blower assy

1шт.

4

127979

GROMMET,3/4" ID x 1 3/8" x .062", Diag Cut

blower cable, 3/4 in. ID

1шт.

4

198825C1

GROMMET,15.88mm ID x 41.1mm OD x 26.9mm Thk

blower cable, 5/8 in. ID

1шт.

5

BLOWER ASSY, operator cab, refer to this group under cab blower assy

1шт.

6

175578C1

INSULATOR

blower mounting vibration

8шт.

187797C1

BOLT,Hex Serr Flg, 1/4" - 20 x 1"

SCREW, 1/4-20 x 1 hex-hd flange lock

1шт.

7

117645C1

STRIP

blower

2шт.

8

196534C1

SUPPORT

blower mounting

1шт.

938016R1

FLANGE NUT,Flg, USR, 1/4"-20

1/4 flange lock

1шт.

88542

BOLT,Hex, 1/4"-20 x 1/2", Gr 5

1/4 x 1/2 type 5

1шт.

282328C1

WASHER

.281 x 1.125 x .054

1шт.

9

STRIP, heater core, use 34.5 in. from bulk stock marked 198581C1

1шт.

10

198569C2

DOOR

ASSY, pressurizer

1шт.

120614

NUT,Hex, #10 - 32

NUT, #10-32

1шт.

463-6108

BOLT,Hex, #10 - 32 x 1/2"

no. 10NF x 1/2 znp h/hd mach

1шт.

178378

LOCK WASHER,Ext-Int Tooth, #10

WASHER, no. 10 ext-int tooth lock

1шт.

143309C1

SELF-TAP SCREW,Cross Pan Hd, #10 - 16 x 1/2"

SCREW, no. 10-16 x 1/2 polyseal

1шт.

11

STRIP, blower and core chamber front and rear, use 2 pieces 34.5 in,. from bulk stock marked 187874C1

1шт.

12

STRIP, blower and core chamber side RH, use 15.75 in. piece from bulk stock marked 187874C1

1шт.

13

STRIP, pressurizer cover end, use 2 pieces 16.5 in. from bulk stock marked 198578C1

1шт.

14

STRIP, roof to pressurizer cover, use 2 pieces 12.5 in. from bulk stock marked 198577C1

1шт.

15

173913C1

DEFLECTOR

ASSY, air

6шт.

16

SEAL, night light, refer to group 8 under lights and mountings

2шт.

17

196700C1

FLANGE

night light mounting

2шт.

25933R1

JAM NUT,Jam, 1/2"-13, G8

1/2 PHC jam type 8

1шт.

18

LIGHT ASSY, dome, refer to this group under wiring diagram, operators cab

1шт.

19

169850C1

CLIP

wiring stick-on

1шт.

20

188003

PLUG,7/16"

thermostat and wiper switch button

1шт.

20

432487

HOLE PLUG BUTTON,11/16"

PLUG, air conditioner light hole, 11/16 dia

1шт.

21

187993C1

PANEL

switch

1шт.

132718C1

FASTENER

switch panel

1шт.

26664R1

SELF-TAP SCREW,Cross Pan Hd, #8 x 1 1/2"

SCREW, no. 8-18 x 1-1/2 PHC p/hdcr

1шт.

22

STRIP, roof front pinch, red, use 72 in. from bulk stock marked 1327666C2, replaces 196520C1, white

1шт.

23

ROOF, cab, not serviced separately, order cab 198212C96

1шт.

199953C1

SELF-TAP SCREW,HWH, 5/16" - 18 x 13/16"

SCREW, 5/16 x 13/16 fl/hd tap, cab roof to cab bottom

1шт.

24

STRIP, air intake filter long, part of filter 131413C1

2шт.

25

STRIP, air intake filter end, part of filter 131413C1

2шт.

26

432366

HOLE PLUG BUTTON,1 3/8"

PLUG, core and accessories wire hole

2шт.

27

131413C1

AIR INTAKE TUBE

FILTER, air intake, replaces package, 143481C92

1шт.

28

3063674R1

GROMMET

power wire rear upper

1шт.

29

STRIP, cab roof to bottom, use 220 in. from bulk stock marked 182747C1

1шт.

30

117727C2

ROD

air intake filter retaining

3шт.

118084C1

SEALING WASHER

rubber

1шт.

31

198286C1

SHEET

roof front

1шт.

32

198283C1

SUPPORT

front insulation

1шт.

938016R1

FLANGE NUT,Flg, USR, 1/4"-20

1/4 flange lock

1шт.

88542

BOLT,Hex, 1/4"-20 x 1/2", Gr 5

1/4 x 1/2 type 5

1шт.

33

198147C2

STRIP

roof center

1шт.

34

198284C1

SHEET

roof rear

2шт.

35

198285C1

SHEET

roof rear center

2шт.

36

187745C2

LINING

STRIP, headliner top

1шт.

37

117662C2

LINING

INSULATOR, headliner

1шт.

38

187743C1

FASTENER

access cover and switch panel

12шт.

26664R1

SELF-TAP SCREW,Cross Pan Hd, #8 x 1 1/2"

SCREW, no. 8-18 x 1-1/2 PHC p/hdcr tap

1шт.

39

187741C1

COVER

access door

2шт.

132718C1

FASTENER

access door cover

1шт.

26664R1

SELF-TAP SCREW,Cross Pan Hd, #8 x 1 1/2"

SCREW, no. 8-18 x 1-1/2 PHC p/hdcr tap

1шт.

40

187742C1

INSULATOR

STRIP, access door cover

2шт.

41

(Not used in this application)

1шт.

42

183661C1

AIR CLEANER

FILTER, recirculating air

1шт.

43

198153C1

HANDLE

recirculating air door

1шт.

196922C1

LOCK NUT

no. 10-24 UNC 2B

1шт.

159927

SCREW,Cross Pan Hd, #10 - 24 x 1/2"

1шт.

44

198223C1

SPRING

recirculating air door

1шт.

45

STRIP, recirculating air door top and bottom, use 2 pieces 13 in. from bulk stock marked 198096C1

1шт.

46

STRIP, recirculating air door end, use 2 pieces 3.5 in. from bulk stock marked 198096C1

1шт.

47

198260C2

DOOR

ASSY, recirculating air

1шт.

160515

SCREW,Cross Pan Hd, 1/4" - 20 x 1/2"

1шт.

174916

LOCK WASHER,Ext-Int Tooth, 1/4"

WASHER, 1/4 ext-int tooth lock

1шт.

48

432416

PLUG,5/16"

5/16 button, wiper mounting holes

2шт.

48

192769

PLUG,3/4"

(button), Wiper shaft hole 3/4"

1шт.

49

183682C91

LINING

HEADLINER ASSY, w/insulation

1шт.

143309C1

SELF-TAP SCREW,Cross Pan Hd, #10 - 16 x 1/2"

SCREW, 10-16 x 1/2 polyseal

1шт.

50

198248C2

BRACKET

recirculating air door spring

1шт.

160515

SCREW,Cross Pan Hd, 1/4" - 20 x 1/2"

1шт.

174916

LOCK WASHER,Ext-Int Tooth, 1/4"

WASHER, 1/4 ext-int tooth lock

1шт.

51

183662C1

GRILLE

recirculating air filter

1шт.

52

111296C1

BUTTON

KNOB, recirculating air grill

2шт.

1276096C1

SELF-TAP SCREW,Cross Pan Hd, 1/4" x 1 1/4"

SCREW, knob

1шт.

1250628C2

SPACER

grill spacer

1шт.

53

STRIP, blower and core chamber LH, use 15.75 in. piece from bulk stock marked 187874C1, Serial Range: -14000

1шт.

53

STRIP, blower and core chamber LH, use 10.5 in. piece from bulk stock marked 187874C1, Start Serial: 14001

1шт.

Выбрано товаров: 0