Запчасти Case IH 1480 (10-09) - HYD, HEADER LIFT, STEERING & UNLOADER SWING CYL DIAGRAM, S/N 24000 & BELOW (07) - HYDRAULICS

Схема запчастей Case IH 1480 - (10-09) - HYD, HEADER LIFT, STEERING & UNLOADER SWING CYL DIAGRAM, S/N 24000 & BELOW (07) - HYDRAULICS
6
37
39
35
40
16
26
41
7
27
23
8
20
5
16
11
25
33
15
5
7
31
21
24
6
27
4
7
5
49
17
38
12
36
14
43
7
6
7
28
39
45
32
7
1
26
33
5
40
19
29
12
6
32
7
34
48
2
3
32
2
47
10
30
9
16
5
13
6
44
5
18
35
5
13
46
22
19
6
8
7
42
8
20
38
32
20
11
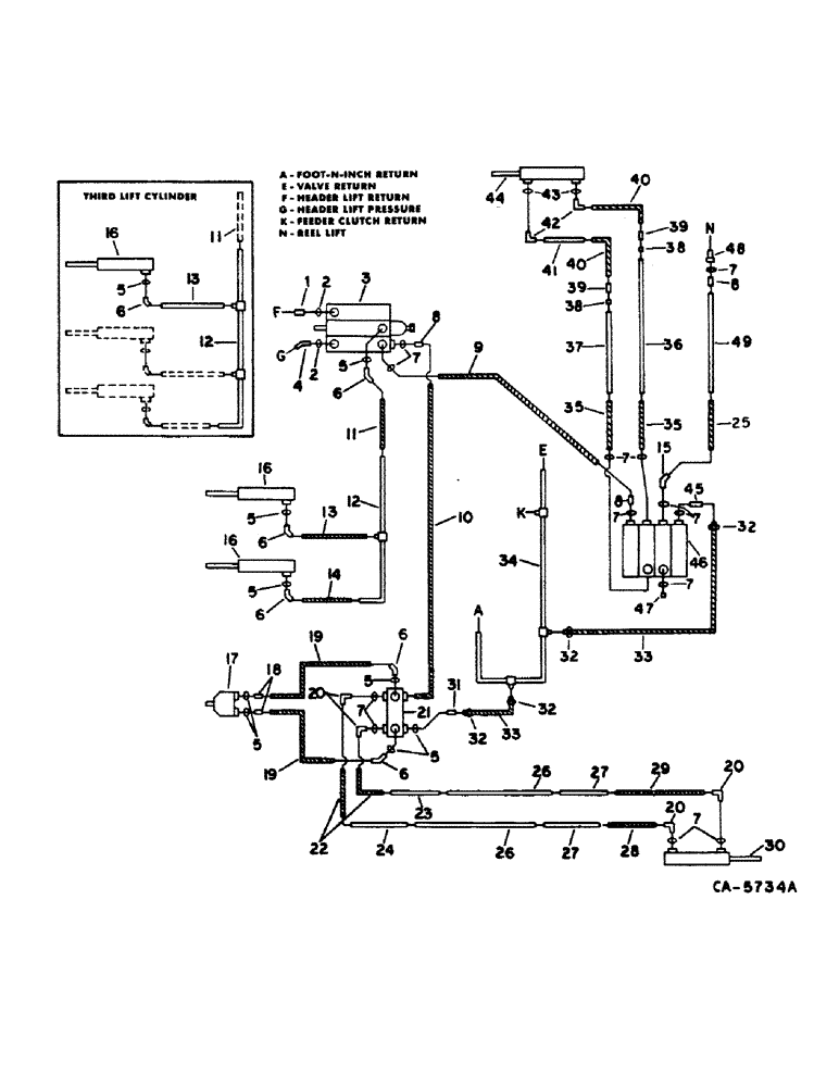
FIT
1:1
100%

Артикул

Название

Примечание

Количество

1

574479R1

HYD CONNECTOR,1 1/16"-12, 37 Degree x 7/8"-14, O-Ring

CONNECTOR, 7/8-14 37 deg hyd flared

1шт.

2

364885R1

O-RING,0.097" Thk x 0.755" ID, -910, Cl 6, 90 Duro

5/8 OD tube

2шт.

3

VALVE, header lift, refer to this group under header lift valve

1шт.

4

288830C1

ELBOW

7/8-14 hyd flared 45 deg

1шт.

5

570828R1

O-RING,0.087" Thk x 0.644" ID, -908, Cl 6, 90 Duro

1/2 OD tube

1шт.

6

9411105

ELBOW,45 Degree, 3/4"-16, 37 Degree x 3/4"-16, O-Ring

3/4-16 45 deg hyd 37 deg flared

5шт.

7

364839R1

O-RING,0.078" Thk x 0.468" ID, -906, Cl 6, 90 Duro

6-1, 90 Duro, .468" ID x .078" Thk, 3/8 tube

1шт.

8

9410202

HYD CONNECTOR,9/16"-18, 37 Degree x 9/16"-18, O-Ring

CONNECTOR, 9/16-18 37 deg flared

1шт.

9

548745R1

HYDRAULIC HOSE,0.38" ID x 12.00", SAE 100R1

0.38" ID x 12.00", Reel Lift Unloader Swing Valve Pressure

2шт.

10

187696C1

HOSE

ASSY, steering pressure, 30 in., 762.0mm

1шт.

11

574230R91

HOSE ASSY.

HOSE ASSY, header lift, 29 in., 736.6mm

1шт.

12

196786C1

TUBE

ASSY, header lift cylinder, for use w/2 lift cylinders

1шт.

12

196785C1

HYD TUBE

TUBE ASSY, header lift cylinder, for use w/3 lift cylinders and not A.H.C

1шт.

13

144140C1

HOSE,9.53mm ID x 787.4mm L, SAE 100R1

ASSY, header lift cylinder, replaces 587582R91, 31 in., 787.4mm, 1 used for 2 lift cylinders, 2 used for 3 lift cylinders

1шт.

14

813610C1

HOSE

ASSY, header lift cylinder, 50 in., 1270mm, replaces 347186R91 and 1317976C1

1шт.

15

9411104

ELBOW,45 Degree, 9/16"-18, 37 Degree x 9/16"-18, O-Ring

9/16-18 hyd tube 45 deg

1шт.

16

127779C94

CYLINDER,57.07mm Rod, 520.7mm Stroke

header lift, refer to this group under header lift cylinder and cyl-1 section A

1шт.

16

127779C94R

REMAN-HYD CYLINDER

1480 CASE IH AXIAL-FLOW COMBINE, S/N 24000 & BELOW, header lift (1/78-12/84)

1шт.

16

127779C94C

CORE-HYD CYLINDER

Return Number

1шт.

224718C92

SEAL KIT

KIT, cylinder service

1шт.

17

PUMP, steering hand, refer to this group under steering hand pump

1шт.

18

9410203

HYD CONNECTOR,3/4"-16, 37 Degree x 3/4"-16, O-Ring

CONNECTOR, 3/4-16 37 deg hyd flared

3шт.

19

196584C2

HYDRAULIC HOSE

HOSE ASSY, steering hand pump, 94 in., 2387.6mm

2шт.

20

9410976

ELBOW,90 Degree, 9/16"-18, 37 Degree x 9/16"-18, O-Ring

9/16-18 37 deg hyd tube 90 deg

4шт.

21

VALVE, steering, refer to this group under steering valve

1шт.

22

155309C91

HYDRAULIC HOSE,0.31" ID x 20.00", SAE 100R1

0.31" ID x 20.00", Steering

2шт.

23

187813C1

TUBE

ASSY, steering forward upper

1шт.

24

187814C1

TUBE

ASSY, steering intermediate forward lower

1шт.

25

632455R91

HOSE

ASSY, reel lift

1шт.

26

196790C2

HYD TUBE

TUBE ASSY, steering intermediate rearward upper and lower

2шт.

27

187825C1

TUBE

ASSY, steering rearward upper and lower

2шт.

28

178961C1

HOSE,7.9 mm ID x 1270.00 mm, SAE 100R1

Steering Cylinder, For narrow adjustable axle 7.9 mm ID x 1270.00 mm, SAE 100R1

1шт.

28

179202C1

HOSE,7.94mm ID x 1727.2mm L, SAE 100R1

steering cylinder, 68 in., 1727.2mm, for wide adjustable axle

1шт.

29

178962C1

HOSE ASSY.

HOSE ASSY, steering cylinder, 60 in., 1524.0mm, for narrow adjustable axle

1шт.

29

183920C1

HOSE ASSY.

HOSE, steering cylinder, 77 in., 1955.8mm, for wide adjustable axle

1шт.

30

548247R91

CYLINDER ASSY.,Double Acting, 22.35mm Rod, 228.6mm Stroke

CYLINDER ASSY, steering, w/o power guide wheels

1шт.

548357R91

SEAL KIT

cylinder service

1шт.

30

127913C92

CYLINDER

ASSY, steering, with power guide wheels

1шт.

73661C92

SEAL KIT

KIT, cylinder service, refer to this group under steering cylinder and to cyl-1 section B

1шт.

31

178039C1

CONNECTOR, ELEC

CONNECTOR, 3/8 beaded tube

1шт.

32

244713R1

HOSE CLAMP,#4, 0.25/0.62 Type M Worm

CLAMP, hose

4шт.

33

HOSE, steering and unloader swing valve return, use 12.5 in. of 3/8 ID hyd hose from 50 ft roll marked S118400

2шт.

34

187806C1

TUBE

ASSY, foot-n-inch return

1шт.

35

939480R91

HOSE

ASSY, unloader swing valve, 20 in., 508.0mm

2шт.

36

196751C1

UNLOADING TUBE

TUBE ASSY, unloader tube swing lower

1шт.

37

196751C1

UNLOADING TUBE

TUBE ASSY, unloader tube swing upper, replaces 196799C1

1шт.

38

9403291

BHD LOCK NUT,Blkhd, 7/16"-20

NUT, 1/4 znd bulkhead union

2шт.

39

9403252

FITTING,Blkhd, 7/16"-20, 37 Degree x 7/16"-20, 37 Degree

UNION, 1/4 znd bulkhead

2шт.

40

195604C1

HOSE ASSY.

HOSE ASSY, unloader swing cylinder, 15 in., 381.0mm

2шт.

41

196800C1

HYD TUBE

TUBE ASSY, unloader swing cylinder

1шт.

42

9410974

ELBOW,90 Degree, 7/16"-20, 37 Degree x 7/16"-20, O-Ring

7/16-20 37 deg hyd tube

2шт.

43

369751R1

O-RING,0.072" Thk x 0.351" ID, -904, Cl 6, 90 Duro

4-1, 90 Duro, .351" ID x .072" Thk, 1/4 OD tube

2шт.

44

113960C93

CYLINDER ASSY.,Double Acting, 19.05mm Rod, 381mm Stroke

CYLINDER, unloader swing

1шт.

62240C92

SEAL KIT

KIT, cylinder service, for service parts refer to cyl-1 section B

1шт.

137185

COTTER PIN,1/8" x 1"

PIN, SPLIT (COTTER), 1/8" x 1"

1шт.

22754R1

CLEVIS PIN,5/8" x 1.844"

PIN, CLEVIS, 5/8" x 1.844"

1шт.

28196R1

SPLIT PIN/SAFETY PIN

PIN, 5/8 x 2.250 clevis

1шт.

45

178036C1

CONNECTOR, ELEC

CONNECTOR, unloader swing return

1шт.

46

VALVE, unloader swing, refer to this group under unloader swing valve

1шт.

47

9410358

PLUG

3/8

1шт.

48

187562C1

QUICK MALE COUPLING

COUPLING ASSY, reel lift hose self-sealing male

1шт.

49

187821C1

HYD TUBE,.375" OD, 24.2, 10, 7.6" Length

TUBE ASSY, reel lift

1шт.

Выбрано товаров: 62