Запчасти Case IH 1480 (10-67) - HYDRAULICS, AUTOMATIC HEADER CONTROL, SERIAL NO. 24000 AND BELOW (07) - HYDRAULICS

Схема запчастей Case IH 1480 - (10-67) - HYDRAULICS, AUTOMATIC HEADER CONTROL, SERIAL NO. 24000 AND BELOW (07) - HYDRAULICS
8
28
13
32
28
26
24
28
6
5
22
44
25
17
2
1
20
3
14
42
29
21
27
18
28
37
7
29
40
36
28
15
40
46
30
30
41
23
28
19
10
43
9
45
4
24
28
12
39
38
34
28
28
31
35
29
11
28
16
29
33
FIT
1:1
100%

Артикул

Название

Примечание

Количество

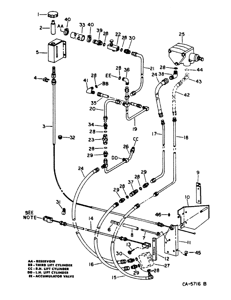
1

198941C1

KNOB

height control upper cable

1шт.

2

196989C1

UNION

upper control cable

1шт.

3

196887C1

CABLE

height control upper

1шт.

196922C1

LOCK NUT

upper cable grip

1шт.

159967

SCREW,Cross Pan Hd, #10 - 24 x 1 1/2"

no. 10 x 1-1/2 znp p/hdcr mach

1шт.

120391

WASHER,#10

.219 x .500 x .036

1шт.

4

379187C1

CLIP

upper control cable

1шт.

5

198806C1

SUPPORT

ASSY, upper control cable

1шт.

174097C1

FLANGE NUT,Flg, USR, #10-24

10-24 C-Z flange lock

1шт.

159927

SCREW,Cross Pan Hd, #10 - 24 x 1/2"

1шт.

6

391745R1

SPRING

flow control valve pivot support

1шт.

7

198490C1

ROD

header control

1шт.

87395

COTTER PIN,1/8" OD x 1-1/4" OAL

PIN, SPLIT (COTTER), 1/8" x 1-1/4"

1шт.

25709R1

WASHER

.406 x .812 x .089 HDN

1шт.

8

196621C2

TUBE,0.402" ID, 0.5" OD, 6.88" Length

rod

1шт.

9

198485C1

SUPPORT

flow control valve

1шт.

482256R1

BEARING LOCK NUT,Flg, USR, 3/8"-16

3/8 flange lock

1шт.

154273C1

BOLT,Hex Serr, 3/8" - 16 x 1", Spcl

SCREW, 3/8-16 x 1 lock

1шт.

10

198486C1

SUPPORT

ASSY, flow control valve pivot

1шт.

598809R1

CARRIAGE BOLT,Sht Sq Nk, 3/8" - 16 x 3/4", Gr 5

BOLT, 3/8 x 3/4 crg type 5

1шт.

482256R1

BEARING LOCK NUT,Flg, USR, 3/8"-16

3/8 flange lock

1шт.

18481R1

COTTER PIN,3/16" x 1"

PIN, SPLIT (COTTER), 3/16" x 1"

1шт.

25710R1

WASHER

.531 x 1.062 x .134 HDN

1шт.

11

174235C3

SUPPORT

ASSY, flow control

1шт.

648002

KNIFE

1/8" x 3/4"

1шт.

12

174244C1

BAR

flow valve control

1шт.

13

174230C1

PIN

valve control bar to lower cable connecting

1шт.

14

198340C1

CABLE

height control lower, 104 in., 2641.6mm, for use w/54.5 in. feeder w/o stone trap beater, used w/810 header w/20 in., 508.0mm OD auger

1шт.

14

174239C1

CABLE

height control lower, 113.6 in., 2885.4mm

1шт.

For use w/54.5 in. feeder w/o stone trap beater, used w/810 header w/23.6 in., 600.0mm OD auger, for use w/54.5 in. feeder w/stone trap beater, used w/810 header w/20 in., 508.0mm OD auger, for use w/60 in. feeder w/o stone trap beater, used w/810 header w/20 in., 508.0mm OD auger

1шт.

14

189131C1

CABLE PULLING GRIP

CABLE, height control lower, 80.8 in., 2052.3mm, for use w/54.5 in. feeder w/o stone trap beater, used w/820 header

1шт.

14

183613C1

CABLE PULLING GRIP

CABLE, height control lower, 86.8 in., 2204.7mm, for use w/54.5 in. feeder w/stone trap beater, used w/820 header, for use w/60 in. feeder w/o stone trap beater, used w/820 header

1шт.

14

174240C1

CABLE PULLING GRIP

CABLE, height control lower, 136.1 in., 3456.9mm, for use w/60 in. feeder w/stone trap beater, used w/810 header w/23.6 in., 600.0mm OD auger

1шт.

14

1314085C1

CABLE

height control lower, 122 in., 3098.8mm

1шт.

For use w/54.5 in. feeder w/stone trap beater, used w/810 header w/23.6 in., 600.0mm OD auger, for use w/60 in. feeder w/o stone trap beater, used w/810 header w/23.6 in., 600.0mm OD auger, for use w/60 in. feeder w/stone trap beater, used w/810 header w/20 in., 508.0mm OD auger

1шт.

14

1314086C1

CABLE

height control lower, 98 in., 2489.2mm, for use w/60 in. feeder w/stone trap beater, used w/820 header

1шт.

28020R1

PIN

1/4 x 1-1/4 hd type 5

1шт.

473443R1

COTTER PIN

quick attachable cot.

1шт.

15

HOSE ASSY, flow control valve return, 25.0 in., 635.0mm (NSS)

1шт.

PART # IS 174269C1 FOR ITEM #15 PER ELLIOTT

1шт.

16

381173R91

HOSE,12.7mm ID x 209.55mm L, SAE 100R1

ASSY, flow control valve pressure, 18.25 in., 463.6mm

1шт.

17

196753C1

HYD TUBE

TUBE ASSY, header control valve pressure

1шт.

18

196754C1

HYD TUBE

TUBE ASSY, header control valve return

1шт.

19

187789C1

HYD TUBE

TUBE ASSY, third cylinder pressure

1шт.

20

187824C1

TUBE

ASSY, accumulator to A.H.C. pressure

1шт.

21

196817C1

HYD TUBE

TUBE ASSY, third cylinder return upper

1шт.

22

183511C1

VALVE

check

1шт.

23

183510C1

VALVE

needle

1шт.

24

574230R91

HOSE ASSY.

HOSE ASSY, header control upper return and lower pressure, 29.0 in., 736.6mm

2шт.

25

VALVE ASSY, header lift control, refer to this group under header lift valve for automatic header control

1шт.

26

187823C1

TUBE

ASSY, lift cylinder pressure, for two lift cylinders

1шт.

26

187789C1

HYD TUBE

TUBE ASSY, lift cylinder pressure, for three lift cylinders

1шт.

27

VALVE ASSY, automatic flow control, refer to this group under automatic flow control valve

1шт.

28

570828R1

O-RING,0.087" Thk x 0.644" ID, -908, Cl 6, 90 Duro

for 1/2 in. OD

1шт.

29

384539R1

HYD CONNECTOR,7/8"-14, 37 Degree x 3/4"-16, O-Ring

CONNECTOR, 7/8-14 x 3/4-16 37 deg

3шт.

30

9410203

HYD CONNECTOR,3/4"-16, 37 Degree x 3/4"-16, O-Ring

CONNECTOR, 3/4-16 37 deg

2шт.

31

299404C1

CLAMP

1шт.

155807C1

BOLT,Hex Serr, 5/16" - 18 x 1"

1шт.

142745

NUT, WING

NUT, 5/16 wing

1шт.

938017R1

FLANGE NUT,Flg, USR, 5/16"-18

5/16 flange lock

1шт.

32

195803C1

GROMMET

cable seal, 3/8 in. ID

1шт.

33

HOSE, third lift cylinder, use 26 in. of 3/8 in. from 50 ft roll marked S118400

1шт.

34

9410203

HYD CONNECTOR,3/4"-16, 37 Degree x 3/4"-16, O-Ring

CONNECTOR, 3/4-16 37 deg

1шт.

35

144140C1

HOSE,9.53mm ID x 787.4mm L, SAE 100R1

ASSY, header lift cylinder, replaces 587582R91, 31 in., 787.4mm

1шт.

36

9410977

ELBOW,90 Degree, 3/4"-16, 37 Degree x 3/4"-16, O-Ring

3/4-16 37 deg 90 deg

1шт.

37

174276C1

FITTING

COUPLING, flow control pressure hose

1шт.

38

9411105

ELBOW,45 Degree, 3/4"-16, 37 Degree x 3/4"-16, O-Ring

3/4-16 45 deg

1шт.

39

178039C1

CONNECTOR, ELEC

CONNECTOR, 3/8 beaded

1шт.

40

244713R1

HOSE CLAMP,#4, 0.25/0.62 Type M Worm

CLAMP, return hose

2шт.

41

9411105

ELBOW,45 Degree, 3/4"-16, 37 Degree x 3/4"-16, O-Ring

3/4-16 45 deg

1шт.

42

HOSE ASSY, header control valve return, refer to this group under header lift, steering and unloader swing diagram

1шт.

43

ELBOW, 3/4-16 45 deg, refer to this group under header lift, steering and unloader swing diagram

1шт.

44

O-RING, for 1/2 in. OD, refer to this group under header lift, steering and unloader swing diagram

1шт.

45

365120R1

CLIP, upper cable

1шт.

161108C1

BOLT,Hex Serr, 1/4" - 20 x 1/2"

1/4 x 1/2 flange lock

1шт.

938016R1

FLANGE NUT,Flg, USR, 1/4"-20

1/4 flange lock

1шт.

46

87414

LUBE NIPPLE,1/4" - 28

FITTING, lub

1шт.

Выбрано товаров: 0