Запчасти Case IH 1480 (07-01) - DRIVE TRAIN, TRANSMISSION, DIFFERENTIAL SHAFT AND GEARS Drive Train

Схема запчастей Case IH 1480 - (07-01) - DRIVE TRAIN, TRANSMISSION, DIFFERENTIAL SHAFT AND GEARS Drive Train
9
5
2
16
10
30
5
13
3
33
20
12
14
28
26
24
8
29
11
17
13
23
17
15
18
28
4
34
15
8
7
1
9
22
6
7
14
10
6
16
31
34
25
19
3
21
29
27
11
27
12
4
32
FIT
1:1
100%

Артикул

Название

Примечание

Количество

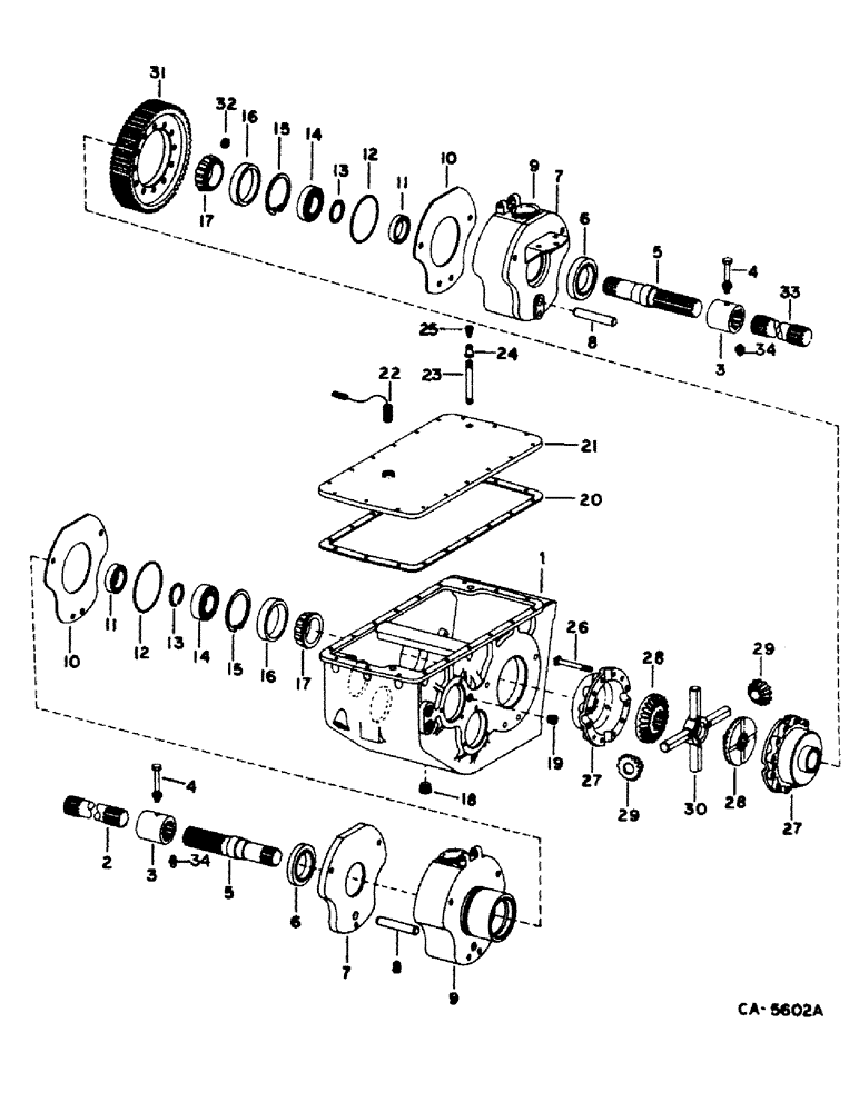
1

401873R2

HOUSING

CASE, transmission

1шт.

24873R1

BOLT,Hex, 5/8" - 11 x 1 1/2", Gr 8

1шт.

131165

LOCK WASHER,5/8"

WASHER, LOCK, 5/8"

1шт.

2

130841C1

SHAFT

final drive LH, 35.26 in., 895.6mm, Serial Range: -34000

1шт.

2

184189C1

SHAFT

final drive LH, 32.79 in., 833.0mm, Start Serial: 34001

1шт.

2

186009C1

SHAFT

final drive LH, 36.01 in., 914.7mm, Serial Range: -34000

1шт.

2

184225C1

SHAFT

final drive LH, 33.6 in., 852.3mm, Start Serial: 34001

1шт.

3

401875R5

SLEEVE

axle drive shaft, Serial Range: -34000

2шт.

3

184341C1

SLEEVE

axle drive shaft, Start Serial: 34001

2шт.

4

27653R1

BOLT,Hex, 3/8" - 16 x 3 1/2", Gr 8

3/8 x 3-1/2 DLD type 8

2шт.

654049R1

LOCK NUT

3/8-16 pln slt-hex

1шт.

21864R1

COTTER PIN

.114 dia. S type cot.

1шт.

5

130879C1

SHAFT

differential, Serial Range: -34000

2шт.

5

184178C1

SHAFT

differential, Start Serial: 34001

2шт.

6

SEAL, brake adapter housing cover, refer to group 4 under master and parking brakes

2шт.

7

COVER ASSY, brake adapter housing, refer to group 4 under master and parking brakes

2шт.

8

PIN, 7/8 x 5 dowel, refer to group 4 under master and parking brakes

2шт.

9

HOUSING, brake, refer to group 4 under master and parking brakes

2шт.

10

401898R1

SHIM

brake housing, .003

1шт.

10

401899R1

SHIM

brake housing, .005

1шт.

10

401900R1

SHIM

brake housing, .007

1шт.

11

184072C1

OIL SEAL,55.88mm ID x 76.2mm OD x 9.5mm Thk

brake housing oil, replaces 406902R91

2шт.

12

O-RING, refer to group 4 under master and parking brakes

1шт.

13

358059R1

SNAP RING

RING, differential shaft snap

4шт.

14

ST265

BALL BEARING,55mm ID x 100mm OD x 21mm Thk

BEARING, differential shaft

2шт.

15

289134R1

SNAP RING,3.938", Int, #393

Ring, Snap, , brake hsg 3.938", Int, #393

2шт.

16

ST981

BEARING CONE,112.71mm OD x 19.05mm W

CUP, differential bearing

2шт.

17

ST2096

BEARING ASSY,73.03mm ID x 25.4mm W

CONE, differential bearing

2шт.

18

320185C1

PLUG

3/4-14 sq-soc mag pipe

1шт.

19

217-470

DRAIN PLUG,Sq Soc, 3/4" - 14 NPTF

PLUG, 3/4-14 auto sq-soc pipe

1шт.

20

401860R1

GASKET

transmission case cover

1шт.

21

198205C1

COVER

ASSY, transmission case, Serial Range: -24000

1шт.

21

184167C1

COVER ASSY

transmission case, Start Serial: 24001

1шт.

24839R1

BOLT,Hex, 3/8" - 16 x 3/4", Gr 8

1шт.

22

187855C1

ELECTRICAL GAUGE

GAGE, reluctance pickup, Serial Range: -24000

1шт.

145507

NUT,Stamped, 7/8"-14

7/8-NF CAD stamped

1шт.

22

1301241C1

SENSOR

CONVERTOR, reluctance pickup, Start Serial: 24001

1шт.

107827

NUT,Stamped, 3/4"-16

3/4-16 ZN stamped

1шт.

23

121210

PIPE,Nipple, 1/4" NPT x 4 1/2"

Case vent Nipple, 1/4" NPT x 4 1/2"

1шт.

24

144098

REDUCER

COUPLING, 1/4 x 1/8 reducing pipe

1шт.

25

61991R91

BREATHER,1/8"-27 NPT, Short, w/washer

VENT, case oil

1шт.

26

404171R1

BOLT,1/4" - 20 x 4"

differential case

12шт.

27

404081R1

CASE ASSY.

CASE ASSY, differential

1шт.

28

404084R1

PINION

GEAR, differential bevel, 28T

2шт.

29

361061R3

PINION

differential bevel, 15T

4шт.

30

393637R2

DIFF. SPIDER

SPIDER, differential

1шт.

31

404085R1

GEAR

differential driven, 66T

1шт.

32

381368R1

NUT,Hex, 1/2" - 20, Gr 8

1/2-20 hex. type 8

12шт.

33

130841C1

SHAFT

final drive RH, 35.26 in., 895.6mm, Serial Range: -34000

1шт.

33

184189C1

SHAFT

final drive RH, 32.79 in., 833.0mm, Start Serial: 34001

1шт.

33

186009C1

SHAFT

final drive RH, 36.01 in., 914.7mm, Serial Range: -34000

1шт.

33

184225C1

SHAFT

final drive RH, 33.6 in., 852.3mm, Start Serial: 34001

1шт.

34

86504104

LUBE NIPPLE,1/4" x .56" lg, Drive

FITING, 1/4

2шт.

Выбрано товаров: 53