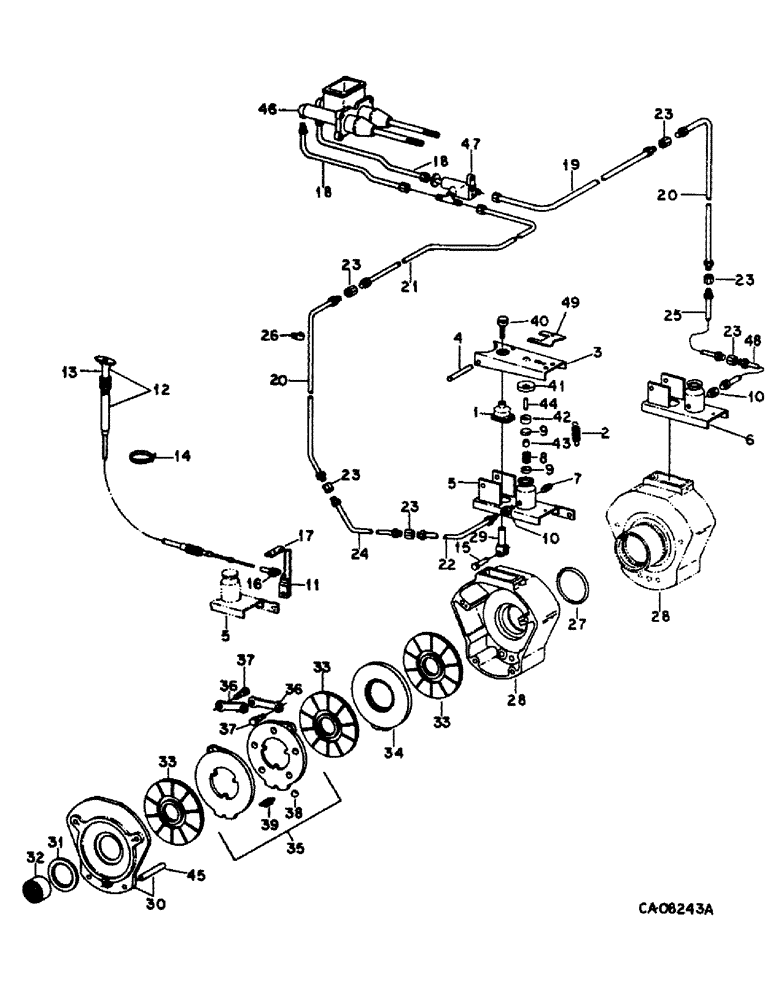
Запчасти Case IH 1480 (04-07) - BRAKE, MASTER AND PARKING BRAKE, SERIAL NO. 34001 AND ABOVE (5.1) - BRAKES

Схема запчастей Case IH 1480 - (04-07) - BRAKE, MASTER AND PARKING BRAKE, SERIAL NO. 34001 AND ABOVE (5.1) - BRAKES
38
45
17
4
18
7
29
32
9
22
41
5
28
10
33
30
37
25
2
23
21
10
46
27
23
20
44
5
15
39
16
40
23
13
8
23
1
12
42
36
20
47
48
24
34
23
26
23
11
35
3
31
9
6
49
37
33
19
14
28
36
33
43
18
FIT
1:1
100%

Артикул

Название

Примечание

Количество

1

184321C1

COVER

BOOT, brake housing

2шт.

2

312824R1

SPRING

brake lever return

2шт.

3

196495C2

SUPPORT ASSY.

SUPPORT ASSY, brake

2шт.

938016R1

FLANGE NUT,Flg, USR, 1/4"-20

1/4 flange lock

1шт.

4

1308992C1

PIN,9.53mm OD x 102mm L

brake lever pivot

2шт.

648002

KNIFE

1/8" x 3/4"

1шт.

5

196487C3

SUPPORT

ASSY, LH

1шт.

113-206

BOLT,Hex, 3/8" - 16 x 3/4", Gr 5, Full Thd

3/8 x 3/4 type 5

1шт.

142619H

WASHER

.406 x .750 x .105

1шт.

6

196488C2

SUPPORT ASSY.

SUPPORT ASSY, RH

1шт.

113-206

BOLT,Hex, 3/8" - 16 x 3/4", Gr 5, Full Thd

3/8 x 3/4 type 5

1шт.

142619H

WASHER

.406 x .750 x .105

1шт.

7

660901R1

VALVE

cylinder bleeder

2шт.

8

662612R1

SPRING

cup

2шт.

9

51906H

CUP

cylinder piston

4шт.

10

442362

PIPE FITTING

CONNECTOR, 1/8-27 inverted flare

2шт.

11

188797C1

SECTOR

ASSY, parking brake

1шт.

648002

KNIFE

1/8" x 3/4"

1шт.

22445R1

PIN

3/8 x .812 clevis

1шт.

12

166149C91

CABLE

ASSY, parking brake, 125 in., 3175.0mm

1шт.

13

170273C1

HANDLE

brake control cable

1шт.

14

702093C1

CABLE TIE

STRAP, parking brake cable

5шт.

15

40545V

CLEVIS PIN,5/8" x 1 3/8"

PIN, CLEVIS, 5/8" x 1 3/8"

2шт.

103385

COTTER PIN,1/8" x 1"

PIN, SPLIT (COTTER), 1/8" x 1"

1шт.

16

117824

YOKE

CLEVIS, no. 10-32 adjusting rod

1шт.

137159

COTTER PIN

3/32" x 5/8"

1шт.

20286R1

SPLIT PIN/SAFETY PIN

PIN, 3/16 x 1.031 clevis

1шт.

17

188763C1

BAR

parking brake ratchet

1шт.

938017R1

FLANGE NUT,Flg, USR, 5/16"-18

5/16 flange lock

1шт.

135270

SERRATED SCREW,5/16" - 18 x 3/4"

5/16 x 3/4 znp slt-truss-hd

1шт.

18

1310637C1

TUBE,0.25" OD, 11.8, 2.4" Length

ASSY, cylinder to equalizer valve

2шт.

19

1310639C1

TUBE

ASSY, RH, Serial Range: upper-equalizer

1шт.

20

1301862C2

TUBE

ASSY, RH center

2шт.

21

1310638C1

TUBE

ASSY, LH, Serial Range: upper-equalizer

1шт.

22

1310851C2

HYD TUBE,0.25" OD, 393, 89 mm Length

TUBE ASSY, LH lower

1шт.

23

442336

SUPPORT TUBE

UNION, 1/4 inv. flared tube

6шт.

24

1310852C1

HYD TUBE

TUBE ASSY, LH lower to wheel cylinder

1шт.

25

1310850C1

HYD TUBE

TUBE ASSY, RH lower to wheel cylinder

1шт.

26

515-2863

CLAMP,1/4", 3/8" Bolt

CLIP, brake tube, replaces 573674R1

6шт.

155807C1

BOLT,Hex Serr, 5/16" - 18 x 1"

1шт.

938017R1

FLANGE NUT,Flg, USR, 5/16"-18

1шт.

27

22292R1

O-RING,4.725" ID x 5.275" OD x 0.275"

-427, 70 Duro, 4.725" ID x .275" Thk

2шт.

28

188882C92

HOUSING ASSY.

HOUSING, brake, replaces 184165C2

2шт.

180181

BOLT,Hex, 1/2" - 13 x 2", Gr 5

1шт.

120384

WASHER,1/2"

LOCK, 1/2"

1шт.

20020R1

DOWEL,5/16" x 1"

PIN, 5/16 x 1"

1шт.

26145R1

12 PT SCREW,Flg, 5/8" - 11 x 1 3/4"

SCREW, 12 Pt Flg, 5/8"-11 x 1 3/4"

1шт.

29

1321923C1

CLEVIS

YOKE ASSY, pull, replaces 184283C2

2шт.

425-117

NUT,7/16"-20, G5

7/16"-20, G5

1шт.

30

184330C91

CAP

ASSY, housing, includes ref. no. 45

2шт.

20027R1

PIN,5/16" x 1 1/4"

5/16 x 1 1/4"

1шт.

31

401872R91

SEAL,73.03mm ID x 110.24mm OD x 11.1mm Thk

cover

2шт.

32

184214C1

SPLINED COUPLING

COUPLING, differential shaft seal

2шт.

33

184204C2

DISC

ASSY, middle

6шт.

34

184203C1

DISC

intermediate

2шт.

35

184202C92

DISC

ASSY, actuating, includes ref nos. 36 thru 39

2шт.

36

369237R1

LINK

actuating, Serial Range: -34000

4шт.

36

1276923C1

LINK

actuating, Start Serial: 34001

4шт.

124925

JAM NUT,Jam, 3/8"-24, G5

1шт.

25-158

JAM NUT,Jam, 1/2"-20, G5

1шт.

37

369238R1

BOLT,3/8" - 24 x 1 3/8", HT

STUD, Serial Range: -34000

4шт.

37

1276924C1

STUD

, Start Serial: 34001

4шт.

38

17028R1

BALL,7/8" Dia

10шт.

39

619731C1

SPRING

extension, Serial Range: -34000

6шт.

39

359859R1

SPRING

extension, Start Serial: 34001

1шт.

40

184324C1

ROD

pull

2шт.

41

662620R1

COVER

BOOT, cylinder

2шт.

42

662616R1

PISTON

cylinder

2шт.

43

662617R1

SPACER

piston

2шт.

44

184325C1

PLUNGER

piston

2шт.

45

28333R1

DOWEL,7/8" x 6"

PIN, 7/8 x 6 HDN dowel

2шт.

46

CYLINDER ASSY, master brake, refer to this group under master brake control

1шт.

47

VALVE ASSY, equalizer, refer to this group under master brake control

1шт.

48

1310849C2

HYD TUBE

TUBE ASSY, RH lower

1шт.

49

184282C2

BAR

KEEPER, brake adjustment

1шт.

Выбрано товаров: 75