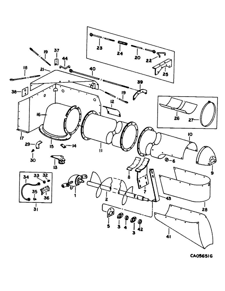
Запчасти Case IH 1480 (26-11) - GRAIN TANK, GRAIN TANK UNLOADER UPPER Grain Tank

Схема запчастей Case IH 1480 - (26-11) - GRAIN TANK, GRAIN TANK UNLOADER UPPER Grain Tank
17
25
37
20
23
13
6
34
27
26
7
40
8
28
35
5
22
3
10
42
18
39
9
12
33
19
11
4
41
36
44
3
31
30
16
21
43
38
32
2
19
14
15
29
1
24
FIT
1:1
100%

Артикул

Название

Примечание

Количество

1

HOUSING ASSY, unloader upper gears, refer to this group under unloader upper gear case assy

1шт.

2

192845C2

AUGER

ASSY, unloader horizontal, standard, 142 in.

1шт.

2

191107C2

AUGER

ASSY, unloader horizontal, long, for use w/20 ft, 22.5 ft, 24 ft or 30 ft header, 178 in., for use w/874, 884 and 984 corn head

1шт.

3

571424R1

FLANGE

unloader auger outer brg, 3 bolt

2шт.

3

R9417

FLANGE, unloader auger outer brg, 2 bolt, replaces 612031R1

2шт.

598802R1

CARRIAGE BOLT,Short NK, 5/16"-18 x 3/4", G5, Full Thd

BOLT, 5/16 x 3/4 crg type 5

1шт.

120376

NUT,5/16"-18, G5

1шт.

80681

LOCK WASHER,5/16"

WASHER, LOCK, 5/16"

1шт.

4

160796C91

BALL BEARING,25.4mm ID x 51.99mm OD x 16.56mm W

BEARING, unloader auger outer ball

1шт.

5

564853R11

COLLAR

w/set screw, auger outer bearing

1шт.

part listed as ref #5 should be listed as ref #42.

1шт.

6

106969R1

WASHER

rear tube downspout, replaces 2 strips 178168C1

10шт.

938017R1

FLANGE NUT,Flg, USR, 5/16"-18

5/16 flange lock

1шт.

135270

SERRATED SCREW,5/16" - 18 x 3/4"

5/16 x 3/4 slt-truss-hd

1шт.

151446C1

SERRATED SCREW,Flg Lock, Sl Truss Hd, 5/16" - 18 x 1 1/4"

5/16 x 1-1/4 slt-truss-hd

1шт.

7

195188C1

SADDLE ASSY.

SADDLE ASSY, unloader tube

1шт.

482256R1

BEARING LOCK NUT,Flg, USR, 3/8"-16

3/8 flange lock

1шт.

179464C1

SERRATED SCREW,Sl Truss Hd, 3/8" - 16 x 1 1/4"

3/8 x 1-1/4 slt-truss-hd

1шт.

477589R1

WASHER

.406 x 1.500 x .105

1шт.

8

195191C1

STRIP

unloader tube saddle

1шт.

938016R1

FLANGE NUT,Flg, USR, 1/4"-20

1/4 flange lock

1шт.

937875R1

SCREW,Serr, 1/4" - 20

no. 1/4 x 3/4 t/hds

1шт.

9

178159C1

CAP

unloader rear tube, for use w/3 bolt bearing

1шт.

9

182837C1

SUPPORT TUBE

CAP, unloader rear tube, for use w/2 bolt bearing and ref. no. 42

1шт.

938017R1

FLANGE NUT,Flg, USR, 5/16"-18

5/16 flange lock

1шт.

161945C1

SERRATED SCREW,Sl Truss Hd, 5/16" - 18 x 1"

5/16 x 1 znp slt-truss-hd

1шт.

10

195342C1

TUBE

ASSY, horizontal auger rear, not perforated

1шт.

10

195344C1

TUBE

ASSY, horizontal auger rear, perforated

1шт.

11

192838C1

TUBE

ASSY, horizontal auger front, standard

1шт.

11

192089C1

UNLOADING TUBE

TUBE ASSY, horizontal auger front, long, for use w/20 ft, 22.5 ft, 24 ft or 30 ft header, for use w/874 and 884 corn head

1шт.

163850C1

SCREW, 3/8 x 1 slt-truss-hd

1шт.

938017R1

FLANGE NUT,Flg, USR, 5/16"-18

5/16 flange lock

1шт.

482256R1

BEARING LOCK NUT,Flg, USR, 3/8"-16

3/8 flange lock

1шт.

477-73812

SERRATED SCREW,Truss HD, 3/8" - 16 x 3/4"

3/8 x 3/4 slt-truss-hd

1шт.

12

178158C1

PLATE

unloader front tube inspection

1шт.

13

191121C2

SUPPORT ASSY.

SUPPORT ASSY, cylinder front

1шт.

21901R1

BOLT,Hex, 7/16" - 14 x 2", Gr 8

7/16 x 2 type 8

1шт.

25524R1

NUT,7/16"-14, G8

7/16 PHC type 8

1шт.

366863C1

LOCK WASHER

WASHER, 7/16 rib lock

1шт.

25960R1

JAM NUT,Jam, 7/16"-14, G8

7/16 PHC jam type 8

1шт.

14

193472C2

PLATE

BAR, unloader tube keeper

2шт.

120377

NUT,3/8" - 16, Gr 5

1шт.

120382

LOCK WASHER,Helical Spring, 3/8"

WASHER, LOCK, 3/8"

1шт.

180126

BOLT,Hex, 3/8" - 16 x 1 1/2", Gr 5

3/8 x 1-1/2 type 5

1шт.

15

193418C3

FLANGE

upper tube elbow

1шт.

16

193417C93

TUBE

ELBOW ASSY, unloader upper tube, includes ref. no. 15

1шт.

17

188006C2

SUPPORT

left center extension

1шт.

938017R1

FLANGE NUT,Flg, USR, 5/16"-18

5/16 flange lock

1шт.

135270

SERRATED SCREW,5/16" - 18 x 3/4"

5/16 x 3/4 slt-truss-hd

1шт.

18

193625C1

ROD

unloader tube front lower

1шт.

482256R1

BEARING LOCK NUT,Flg, USR, 3/8"-16

3/8 flange lock

1шт.

165420C1

BOLT,Hex Serr, 3/8"-16 x 1 1/4", Spcl

3/8 x 1-1/4 hex-hd lock

1шт.

120378

NUT,Hex, 1/2" - 13, Gr 5

NUT, 1/2"-13, G5

1шт.

19

193626C1

ROD

unloader tube RH front lower

2шт.

482256R1

BEARING LOCK NUT,Flg, USR, 3/8"-16

3/8 flange lock

1шт.

165420C1

BOLT,Hex Serr, 3/8"-16 x 1 1/4", Spcl

3/8 x 1-1/4 hex-hd lock

1шт.

120378

NUT,Hex, 1/2" - 13, Gr 5

NUT, 1/2"-13, G5

1шт.

20

193527C1

BOLT

unloader tube rear support, standard, Serial Range: -14000

1шт.

20

191057C1

BOLT

unloader tube rear support, long, for use w/20, 22.5 ft, 24 ft header, for use w/874 and 884 corn head, Serial Range: -14000

1шт.

25933R1

JAM NUT,Jam, 1/2"-13, G8

1/2 PHC jam type 8

1шт.

21

186020C2

BRACKET

SUPPORT, unloader tube rod anchor

1шт.

482256R1

BEARING LOCK NUT,Flg, USR, 3/8"-16

3/8 flange lock

1шт.

154273C1

BOLT,Hex Serr, 3/8" - 16 x 1", Spcl

SCREW, 3/8-16 x 1 lock

1шт.

22

193534C1

ROD

unloader tube support, rear, Serial Range: -14000

1шт.

20328R1

COTTER PIN,3/16" x 1 1/2"

3/16" x 1 1/2"

1шт.

23

193624C1

BOLT,1/2" - 13 x 10", LH Thd

unloader tube front support, Serial Range: -14000

1шт.

24

628698R1

TURNBUCKLE

unloader tube support rod, Serial Range: -14000

1шт.

25

193532C2

ANGLE

unloader tube support rod outer, Serial Range: -14000

1шт.

26

178165C2

COVER

SUPPORT, auger tube section, for use w/perforated tube

1шт.

27

178166C1

CLAMP

auger tube section, for perforated

4шт.

18766R1

BOLT,Hex, 5/16"-18 x 1 3/4", G2

5/16 x 1-3/4 type 1

1шт.

120376

NUT,5/16"-18, G5

1шт.

80681

LOCK WASHER,5/16"

WASHER, LOCK, 5/16"

1шт.

28

186677C1

SPOUT, DISCHARGE

SPOUT, unloader rear tube down

1шт.

29

186657C2

SUPPORT

front keeper

1шт.

180126

BOLT,Hex, 3/8" - 16 x 1 1/2", Gr 5

3/8 x 1-1/2 type 5

1шт.

120377

NUT,3/8" - 16, Gr 5

1шт.

120382

LOCK WASHER,Helical Spring, 3/8"

WASHER, LOCK, 3/8"

1шт.

30

(Not used this application)

1шт.

31

BANK LUB, includes ref nos. 32 thru 36

1шт.

32

219-8

LUBE NIPPLE,1/4" - 28 NPTF

FITTING, 1/4-28 str lub

1шт.

33

F53473

LOCK NUT,1/8-27 NPSM

lub hose

4шт.

34

937779R91

HOSE,1/8" ID x 22" L

FLEXIBLE HOSE, , Lube 0.14" ID x 22.00"

2шт.

34

937781R91

HOSE

lub, 27 in., 685.8mm

1шт.

34

937782R91

HOSE

lub, 31 in., 787.4mm

1шт.

35

21347R1

ADAPTER,45 Degree, 1/4"-1/8 NPTF

FITTING, 1/4-28 SAE 45 deg

4шт.

36

185134C1

SUPPORT

lub fitting

1шт.

37

186690C1

BRACKET

SEAL, corner

1шт.

135270

SERRATED SCREW,5/16" - 18 x 3/4"

5/16 x 3/4 znp slt-truss-hd

1шт.

938017R1

FLANGE NUT,Flg, USR, 5/16"-18

5/16 flange lock

1шт.

38

186691C1

PLATE

SEAL, support rod

3шт.

135270

SERRATED SCREW,5/16" - 18 x 3/4"

5/16 x 3/4 slt-truss-hd

1шт.

938017R1

FLANGE NUT,Flg, USR, 5/16"-18

5/16 flange lock

1шт.

39

181614C1

ANCHOR

unloader tube rod, Start Serial: 14001

1шт.

40

1302183C1

EYEBOLT,1/2" - 20 x 56.90mm

BOLT, unloader tube rear support, standard, Start Serial: 14001

1шт.

40

181613C1

BOLT,1/2" - 20 x 2360mm

unloader tube rear support, long, Start Serial: 14001

1шт.

120371

NUT,1/2"-20, G5

1шт.

69657H

NUT, 1/2-NF lub

1шт.

41

186602C1

SPOUT, DISCHARGE

DOWNSPOUT, unloader, for use w/30 ft header

1шт.

42

182838C1

SUPPORT

cap outer bearing, for use w/2 bolt bearing

1шт.

part listed as ref #42 should be listed as ref #5.

1шт.

161945C1

SERRATED SCREW,Sl Truss Hd, 5/16" - 18 x 1"

5/16 x 1 znp slt-truss-hd

1шт.

938017R1

FLANGE NUT,Flg, USR, 5/16"-18

5/16 flange lock

1шт.

43

1319221C1

SUPPORT

SADDLE

1шт.

202107C1

BOLT,Hex Serr Flg, 5/16" - 18 x 3/4"

5/16 x 3/4 znp hex/hd flg lock

1шт.

938017R1

FLANGE NUT,Flg, USR, 5/16"-18

5/16 flange lock

1шт.

44

193534C1

ROD

unloader tube support, front

1шт.

Выбрано товаров: 107