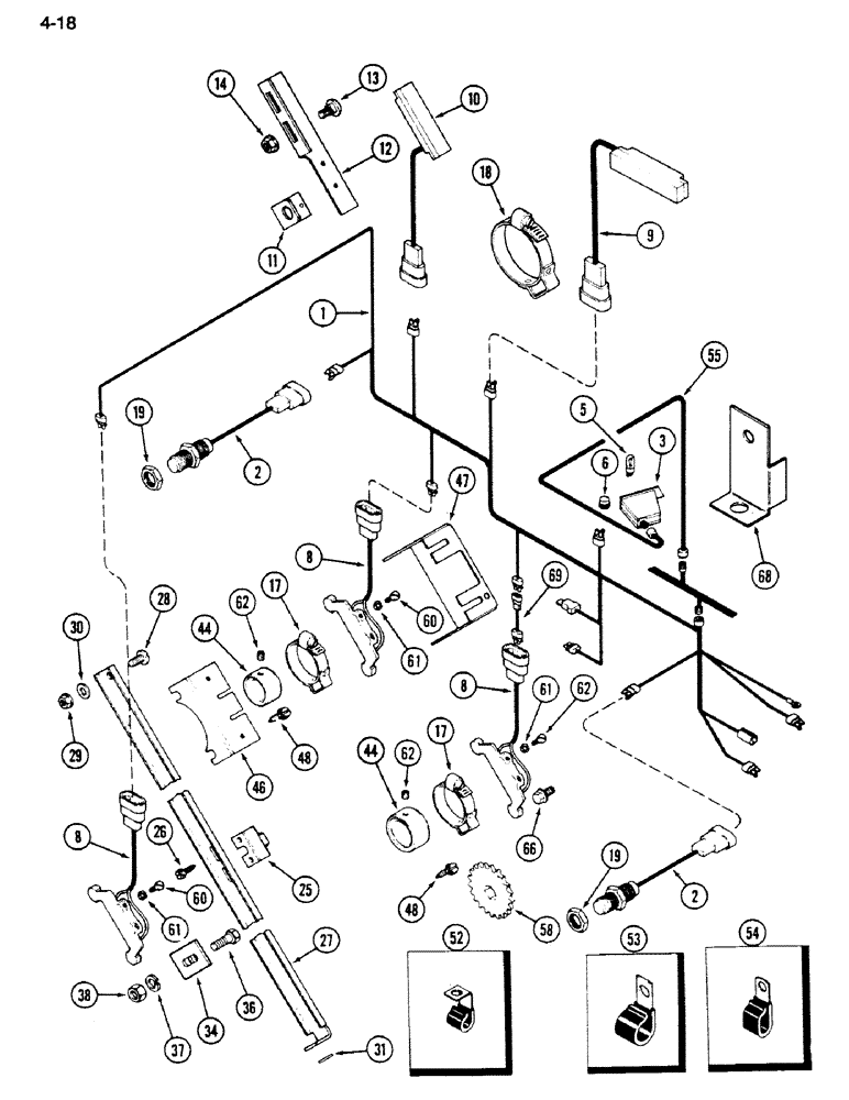
Запчасти Case IH 1620 (4-018) - SHAFT SPEED MONITOR CONTROL, COMBINES WITH STRAW CHOPPER (06) - ELECTRICAL

Схема запчастей Case IH 1620 - (4-018) - SHAFT SPEED MONITOR CONTROL, COMBINES WITH STRAW CHOPPER (06) - ELECTRICAL
19
62
44
6
69
14
54
2
5
60
36
52
28
68
2
8
44
48
17
12
29
55
47
25
18
3
48
9
30
46
19
61
66
8
8
13
58
26
62
11
53
34
1
17
60
62
27
10
37
38
61
61
31
FIT
1:1
100%

Артикул

Название

Примечание

Количество

1

245238C1

HARNESS

HARNESS ASSEMBLY - shaft speed rear

1шт.

2

245193C2

SENSOR

TRANSDUCER - pickup (For straw spreader and feeder)

2шт.

3

245275C91

CASE ASSY.

MONITOR ASSEMBLY - shaft speed (With decal), Includes: Ref. 5

1шт.

3

1935072C1

REMAN-ELECT MONITOR

1620 CASE IH AXIAL-FLOW COMBINE (NORTH AMERICA), MONITOR ASSEMBLY, shaft speed (with decal), COMBINES W/ STRAW CHOPPER (1/86-12/92)

1шт.

3

1935071C1

CORE-MONITOR

Return Number

1шт.

5

28628R1

BULB,C2F, #73, 14V

LAMP - trade No. 73, 14 volt

1шт.

6

178876C1

SUPPRESSOR

SUPPRESSOR - audible alarm

1шт.

8

245365C1

TRANSMITTER

TRANSMITTER - monitor control (For rotary air screen, tailings auger, clean grain sensor)

3шт.

9

245410C1

TRANSMITTER

TRANSMITTER - monitor control (For straw chopper)

1шт.

10

245364C1

SWITCH

TRANSMITTER - monitor control (For shoe)

1шт.

11

187996C1

MAGNET

MAGNET ASSEMBLY - sensor (For shoe)

1шт.

12

187998C1

SUPPORT

SUPPORT - shoe transmitter

1шт.

13

111-229

CARRIAGE BOLT,Short NK, 5/16"-18 x 1/2", G2

BOLT - round head square neck, 5/16 NC x 1/2 inch

2шт.

14

938017R1

FLANGE NUT,Flg, USR, 5/16"-18

NUT - hex flange lock, 5/16 inch NC

2шт.

17

178800C1

CLAMP

MAGNET ASSEMBLY - sensor (For clean grain and tailings auger)

2шт.

18

178799C1

CLAMP,44.45mm - 63.5mm

MAGNET ASSEMBLY - sensor (For straw chopper)

1шт.

19

84116C1

NUT

NUT - hex jam, 3/8 inch NC

1шт.

25

196987C1

MAGNET

MAGNET ASSEMBLY - sensor (For rotary air screen)

1шт.

26

125932

SELF-TAP SCREW,Sl Pan Hd, #8 x 1/2"

SCREW, SELF TAPPING, Slotted Pan Hd, #8 x 1/2"

2шт.

27

1329865C1

CHANNEL

CHANNEl - rotary air screen sensor mounting

1шт.

28

135270

SERRATED SCREW,5/16" - 18 x 3/4"

SCREW - slotted truss head, 5/16 NC x 3/4 inch

3шт.

29

938017R1

FLANGE NUT,Flg, USR, 5/16"-18

NUT - hex flange lock, 5/16 inch NC

3шт.

30

179454C1

RUBBER WASHER

WASHER - rubber

1шт.

31

195-521

WASHER,5/16", SAE

WASHER - flat, 11/32 x 11/16 x 3/64 inch

1шт.

34

1301560C1

SUPPORT

ANGLE - rotary air screen sensor adjustment

1шт.

36

113-102

BOLT,Hex, 5/16" - 18 x 3/4", Gr 5

BOLT, Hex, 5/16"-18 x 3/4", G5, Full Thd

1шт.

37

192-20

LOCK WASHER,Helical Spring, 0.318" ID, CST, ZND

WASHER, LOCK, 5/16"

1шт.

38

9635082

NUT,5/16" - 18, Gr 5

NUT, 5/16"-18, G5

1шт.

44

178801C1

COLLAR

COLLAR - clean grain and tailings elevator shaft locking

2шт.

46

187615C2

BRACKET

BRACKET - tailings sensor

2шт.

47

187616C1

SUPPORT

COVER - tailings sensor bracket

1шт.

48

23986R1

SELF-TAP SCREW,Hex Wash Hd, 1/4" x 1/2"

SCREW, SELF TAPPING, Hex Wash Hd, 1/4" x 1/2"

4шт.

52

370383R1

CLIP

CLIP - harness, long

1шт.

53

362120R1

CLAMP,9.53mm ID, 10.32mm Bolt Hole, P Type

CLIP - harness (1-3/8 inch long)

1шт.

53

363444R1

CLAMP,J, 9/16" Insul, 3/8" Bolt

CLIP - harness (1-1/2 inch long)

1шт.

54

362666R1

CLIP

CLIP - harness, long

1шт.

55

245242C1

HARNESS

HARNESS ASSEMBLY - shaft speed front

1шт.

58

1317973C2

SPROCKET ASSY.

SPROCKET - feeder sensor (Combines without rock trap or feeder reverser)

1шт.

60

436693

SCREW,Slotted Pan Hd, #8-32 x 3/8"

SCREW - slotted machine, No. 8-32 x 3/8 inch

3шт.

61

121841

LOCK WASHER,#8

WASHER, LOCK, #8

3шт.

62

125735

SET SCREW,Hex Skt, 1/4"-20 x 3/8"

SET SCREW, Hex Soc, 1/4"-20 x 3/8"

2шт.

66

174856C1

BOLT,Hex Serr, 5/16" - 18 x 1/2"

BOLT - hex flange, 5/16 NC x 1/2 inch

2шт.

68

1317950C1

SUPPORT

SUPPORT - feeder sensor (With rock trap or feeder reverser)

1шт.

69

245235C1

HARNESS

HARNESS - clean grain adapter

1шт.

Выбрано товаров: 44