Запчасти Case IH 1620 (8-004) - HYDRAULIC RESERVOIR DRAIN CIRCUIT (07) - HYDRAULICS

Схема запчастей Case IH 1620 - (8-004) - HYDRAULIC RESERVOIR DRAIN CIRCUIT (07) - HYDRAULICS
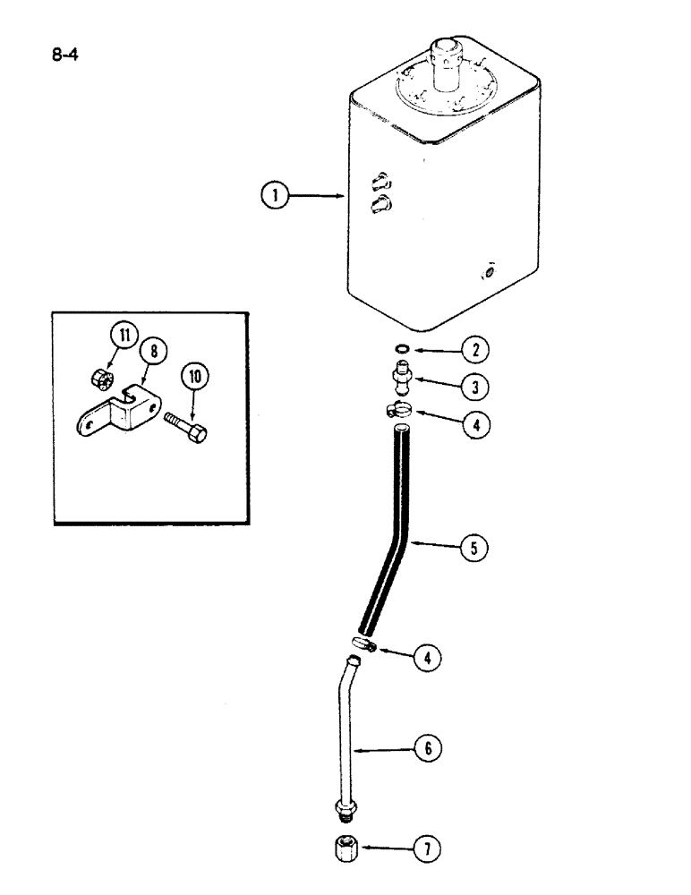
4
8
10
11
3
2
6
1
7
5
4
FIT
1:1
100%

Артикул

Название

Примечание

Количество

1

REF

INSTRUCTION

RESERVOIR ASSEMBLY - hydraulic, see Figure 8-002

1шт.

2

237-6008

O-RING,0.087" Thk x 0.644" ID, -908, Cl 6, 90 Duro

8-1, 90 Duro, .644" ID x .087" Thk, 1/2" OD tube

1шт.

3

196816C1

FITTING

CONNECTOR - drain hose

1шт.

4

214-259

HOSE CLAMP,#32, 1.56" - 2.5", Type F Worm

CLAMP - hose, No. 12, Type F

2шт.

5

NSS

NOT SOLD SEPARAT

HOSE - 5/8 inch ID oil, 11-1/2 inch (Cut from bulk roll 180719C1)

1шт.

6

187822C1

HYD TUBE,5/8" OD, 14, 1.2" Length

TUBE - drain

1шт.

7

218-756

CAP,37 Degree, 7/8"-14

Tube, Drain tube 37º, 7/8"-14

1шт.

8

196447C1

CLAMP

- reservoir drain tube

1шт.

10

113-17

BOLT,Hex, 1/4" - 20 x 1-1/4", Gr 5

1шт.

11

938016R1

FLANGE NUT,Flg, USR, 1/4"-20

- hex flange lock, 1/4 inch NC

1шт.

Выбрано товаров: 10