Запчасти Case IH 1620 (8-010) - OIL COOLER (07) - HYDRAULICS

Схема запчастей Case IH 1620 - (8-010) - OIL COOLER (07) - HYDRAULICS
4
11
7
2
3
11
5
8
1
9
13
13
10
7
FIT
1:1
100%

Артикул

Название

Примечание

Количество

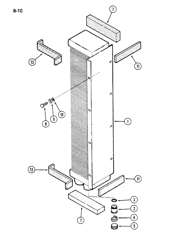
1

1265691C91

COOLER ASSY.

COOLER ASSEMBLY - oil, Includes: Ref. 2 - 5

1шт.

2

146547C1

VALVE

- check

1шт.

3

610547C1

O-RING,0.07" Thk x 0.864" ID, -20, Cl 7, 75 Duro

- 7/8 x 1 x 1/16 inch

1шт.

4

61222C1

SPRING

- check valve

1шт.

5

444679

PLUG

- pipe

1шт.

7

NSS

NOT SOLD SEPARAT

GASKET - foam, 6 inch (Order 73222C1 and, Serial Range: cut-length)

2шт.

8

113-102

BOLT,Hex, 5/16" - 18 x 3/4", Gr 5

Hex, 5/16"-18 x 3/4", G5, Full Thd

8шт.

9

195-521

WASHER,5/16", SAE

- flat, 11/32 x 11/16 x 3/64 inch

1шт.

10

192-20

LOCK WASHER,Helical Spring, 0.318" ID, CST, ZND

WASHER, LOCK, 5/16"

8шт.

11

188062C1

STRIP

SEAL - oil cooler

2шт.

13

NSS

NOT SOLD SEPARAT

SEAL - oil cooler, 18 inch (Order 1338025C1 and, Serial Range: cut-length)

4шт.

Выбрано товаров: 0