Запчасти Case IH 1620 (9-244) - CONDENSER COIL AND SUPPORTS (10) - CAB & AIR CONDITIONING

Схема запчастей Case IH 1620 - (9-244) - CONDENSER COIL AND SUPPORTS (10) - CAB & AIR CONDITIONING
1
7
6
1
8
6
3
5
3
6
6
7
7
2
2
4
9
4
FIT
1:1
100%

Артикул

Название

Примечание

Количество

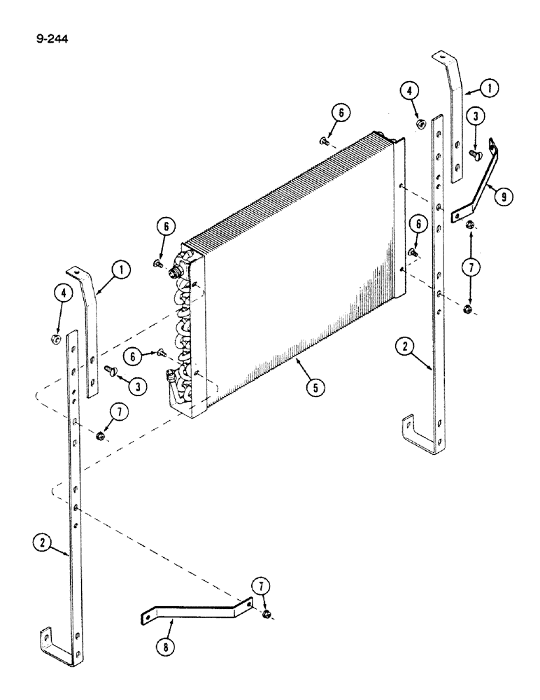
1

1281758C2

BRACKET

SUPPORT - upper

2шт.

2

1281759C2

BRACKET

SUPPORT - lower

2шт.

3

477-73108

SERRATED SCREW,Sl Truss Hd, 5/16" - 18 x 1/2"

- slotted truss head, 5/16 NC x 1/2 inch

8шт.

4

938017R1

FLANGE NUT,Flg, USR, 5/16"-18

- hex, 5/16 inch NC

8шт.

5

183901C2

CONDENSER

COIL - condenser

1шт.

6

937059R1

SCREW,Serr, M10 x 70mm, Cl 10.9

- slotted truss head, 1/4 NC x 1/2 inch

4шт.

7

938016R1

FLANGE NUT,Flg, USR, 1/4"-20

- hex, 1/4 inch NC

4шт.

8

1329921C1

BRACKET

BRACE - right

1шт.

9

1329922C1

BRACKET

BRACE - left

1шт.

Выбрано товаров: 9