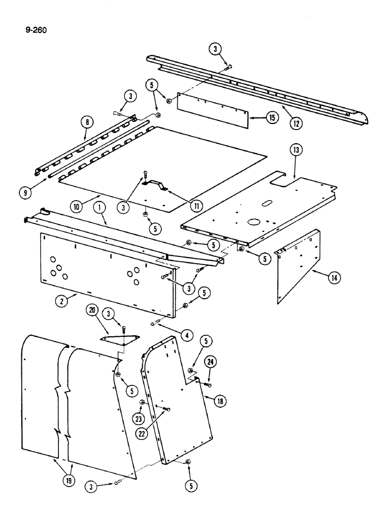
Запчасти Case IH 1620 (9-260) - ENGINE SHIELDS (12) - CHASSIS

Схема запчастей Case IH 1620 - (9-260) - ENGINE SHIELDS (12) - CHASSIS
8
5
13
5
5
3
3
5
12
18
5
3
3
5
14
3
11
1
24
20
19
23
5
10
4
22
15
5
2
9
3
FIT
1:1
100%

Артикул

Название

Примечание

Количество

1

1338072C1

SUPPORT

ASSEMBLY - door and hood (With decals)

1шт.

2

195286C1

SUPPORT

SHEET - cover

1шт.

3

477-73108

SERRATED SCREW,Sl Truss Hd, 5/16" - 18 x 1/2"

- slotted, 5/16 NC x 1/2 inch

54шт.

4

161945C1

SERRATED SCREW,Sl Truss Hd, 5/16" - 18 x 1"

- slotted, 5/16 NC x 1 inch

2шт.

5

938017R1

FLANGE NUT,Flg, USR, 5/16"-18

- hex, 5/16 inch NC

57шт.

8

195277C2

HINGE

- cover

1шт.

9

169674C1

ROD

- hinge

1шт.

10

1300916C91

DOOR SEAL

DOOR ASSEMBLY - rotor

1шт.

11

160638C1

HANDLE

- door

1шт.

12

1317844C1

SHEET

- trim, right

1шт.

13

1317863C2

SUPPORT

- engine

1шт.

14

1321891C1

SUPPORT

- air cleaner

1шт.

15

1329866C1

PLATE ASSY.

PLATE - chute

1шт.

18

195262C1

SUPPORT ASSY.

FILLER - shield, rear left

1шт.

19

195264C2

SHIELD

- trim, upper rear left

1шт.

20

186419C1

PLATE

- reinforcement, upper

1шт.

22

477-73812

SERRATED SCREW,Truss HD, 3/8" - 16 x 3/4"

- slotted truss head, 3/8 NC x 3/4 inch

3шт.

23

482256R1

BEARING LOCK NUT,Flg, USR, 3/8"-16

- hex, 3/8 inch NC

3шт.

24

135270

SERRATED SCREW,5/16" - 18 x 3/4"

- slotted truss head, 5/16 NC x 3/4 inch

2шт.

Выбрано товаров: 19