Запчасти Case IH 1620 (9-266) - SEPARATOR HOOD (12) - CHASSIS

Схема запчастей Case IH 1620 - (9-266) - SEPARATOR HOOD (12) - CHASSIS
20
2
16
10
11
15
10
12
11
10
4
11
14
5
23
2
14
21
11
3
8
10
3
10
3
9
11
3
22
11
14
1
12
18
19
6
17
11
11
2
14
FIT
1:1
100%

Артикул

Название

Примечание

Количество

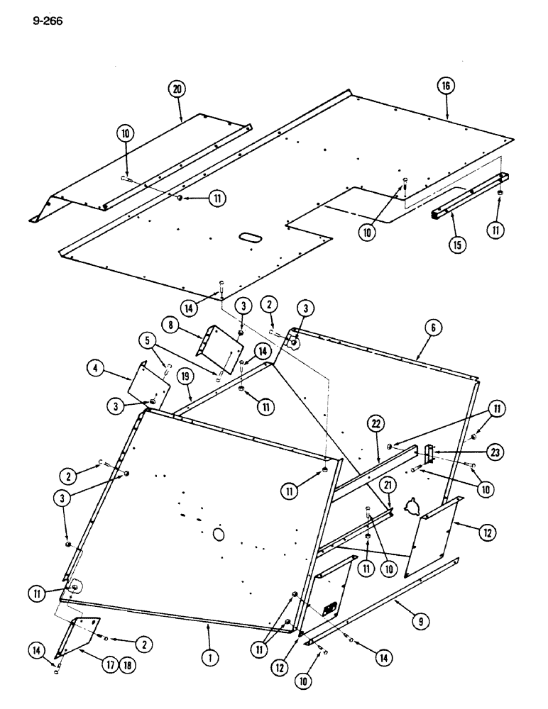
1

186278C2

SUPPORT

PANEL - side, left

1шт.

2

477-73812

SERRATED SCREW,Truss HD, 3/8" - 16 x 3/4"

- slotted, 3/8 NC x 3/4 inch

20шт.

3

482256R1

BEARING LOCK NUT,Flg, USR, 3/8"-16

- hex, 3/8 inch NC

26шт.

4

185104C1

SUPPORT

- sheet, left

1шт.

5

154273C1

BOLT,Hex Serr, 3/8" - 16 x 1", Spcl

SCREW - slotted, 3/8 NC x 1 inch

6шт.

6

1303353C93

SHEET

PANEL ASSEMBLY - side, right (With decal)

1шт.

8

185105C1

SUPPORT

- sheet, right

1шт.

9

194877C1

ANGLE

RAIL - rear

1шт.

10

135270

SERRATED SCREW,5/16" - 18 x 3/4"

- slotted, 5/16 NC x 3/4 inch

40шт.

11

938017R1

FLANGE NUT,Flg, USR, 5/16"-18

- hex, 5/16 inch NC

100шт.

12

1303107C91

SUPPORT

PANEL ASSEMBLY - hood, rear (With decal)

2шт.

14

477-73108

SERRATED SCREW,Sl Truss Hd, 5/16" - 18 x 1/2"

- slotted, 5/16 NC x 1/2 inch

40шт.

15

186971C1

ANGLE

SUPPORT - deck

1шт.

16

1317869C1

SUPPORT ASSY.

PANEL - deck

1шт.

17

186276C1

SUPPORT

PLATE - hood, left

1шт.

18

186277C2

PLATE

- hood, right

1шт.

19

194880C1

SUPPORT

DEFLECTOR - discharge

1шт.

20

194883C1

SUPPORT ASSY.

EXTENSION - engine deck

1шт.

21

194887C1

ANGLE

- deflector

1шт.

22

183033C2

BAR

CHANNEL - ladder

1шт.

23

194311C1

ANGLE

- channel

2шт.

Выбрано товаров: 21