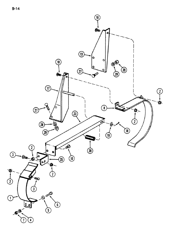
Запчасти Case IH 1620 (9-014) - SEPARATOR DRIVE SHIELDS (13) - FEEDER

Схема запчастей Case IH 1620 - (9-014) - SEPARATOR DRIVE SHIELDS (13) - FEEDER
10
10
2
18
27
19
28
28
3
29
23
10
4
1
17
2
3
13
25
5
2
7
29
6
20
27
8
2
2
FIT
1:1
100%

Артикул

Название

Примечание

Количество

1

1308774C1

GUARD ASSY.

SHIELD - drive pulley

1шт.

2

482256R1

BEARING LOCK NUT,Flg, USR, 3/8"-16

- flanged hex lock, 3/8 inch NC

9шт.

3

477-73816

SERRATED SCREW,Sl Truss Hd, 3/8" x 1"

- slotted truss, 3/8 NC x 1 inch

3шт.

4

192-21

LOCK WASHER,3/8"

WASHER, LOCK, 3/8"

2шт.

5

195-104

WASHER,3/8"

- flat, 3/32 x 1 x 3/64 inch

2шт.

6

113-207

BOLT,Hex, 3/8" - 16 x 1", Gr 5

2шт.

7

129-103

NUT,Hex, 3/8" - 16, Gr 5

NUT, 3/8"-16, G5

2шт.

8

185395C91

SHIELD

ASSEMBLY - driven pulley (With decal)

1шт.

10

477-73812

SERRATED SCREW,Truss HD, 3/8" - 16 x 3/4"

- slotted truss, 3/8 NC x 3/4 inch

6шт.

13

181168C1

SUPPORT

- belt drive outer

1шт.

17

181169C1

SUPPORT ASSY.

SUPPORT - drive belt guide

1шт.

18

132-344

COTTER PIN,3/16" x 1"

PIN, SPLIT (COTTER), 3/16" x 1"

1шт.

19

25710R1

WASHER

- flat, 17/32 x 1-1/16 x 3/32 inch

1шт.

20

NSS

NOT SOLD SEPARAT

HOSE - separator channel, 4-1/2 inch (114 mm) long (Cut from bulk hose 526602R1)

1шт.

23

19161C1

SUPPORT - drive belt drive

1шт.

25

193686C1

ANGLE

- belt guide channel support

1шт.

27

111-541

CARRIAGE BOLT,Short NK, 1/2"-13 x 1 1/4", G5, Full Thd

BOLT, CARRIAGE, Short NK, 1/2"-13 x 1 1/4", G5, Full Thd

6шт.

28

192-23

LOCK WASHER,1/2"

WASHER, LOCK, 1/2"

6шт.

29

129-105

NUT,Hex, 1/2" - 13, Gr 5

6шт.

Выбрано товаров: 19