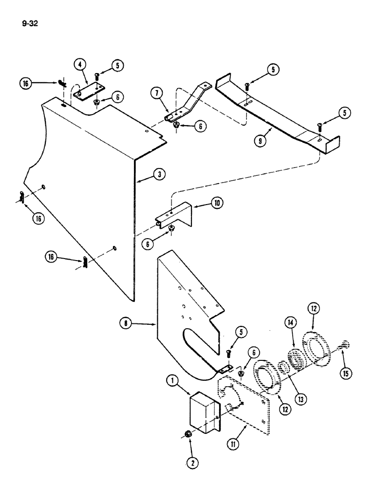
Запчасти Case IH 1620 (9-032) - FEEDER JACKSHAFT DRIVE SHIELDS (13) - FEEDER

Схема запчастей Case IH 1620 - (9-032) - FEEDER JACKSHAFT DRIVE SHIELDS (13) - FEEDER
6
4
16
5
2
9
5
12
16
7
16
6
15
1
6
6
5
5
14
8
3
12
10
13
11
FIT
1:1
100%

Артикул

Название

Примечание

Количество

1

1322339C1

SHIELD

- drive shaft

1шт.

2

131-930

FLANGE NUT,Hex Serr, 1/2" - 13, Gr 5

- hex flange lock, 1/2 inch NC

2шт.

3

1322504C1

SUPPORT ASSY.

SHIELD - rear

1шт.

4

1327945C1

SUPPORT ASSY.

SUPPORT - shield, upper rear

1шт.

5

135270

SERRATED SCREW,5/16" - 18 x 3/4"

- slotted truss head, 5/16 NC x 3/4 inch

11шт.

6

938017R1

FLANGE NUT,Flg, USR, 5/16"-18

- hex flange lock, 5/16 inch NC

11шт.

7

1327940C1

SUPPORT ASSY.

SUPPORT - shield, lower rear

1шт.

8

1322499C2

SHIELD

- front

1шт.

9

1327947C1

SHIELD

- drive belt

1шт.

10

1322653C1

SUPPORT ASSY.

SUPPORT - shield, lower front

1шт.

11

REF

INSTRUCTION

SUPPORT - bearing, see Figure 9-030

1шт.

12

REF

INSTRUCTION

FLANGE - bearing, see Figure 9-030

2шт.

13

REF

INSTRUCTION

COLLAR - bearing, locking, see Figure 9-030

1шт.

14

REF

INSTRUCTION

BEARING - right, see Figure 9-030

1шт.

15

REF

INSTRUCTION

BOLT - round head square neck, see Figure 9-030

4шт.

16

480523R1

HAIR PIN COTTER

quick attachable

3шт.

Выбрано товаров: 16