Запчасти Case IH 1620 (9-042) - FEEDER CONVEYOR (CONTD) (13) - FEEDER

Схема запчастей Case IH 1620 - (9-042) - FEEDER CONVEYOR (CONTD) (13) - FEEDER
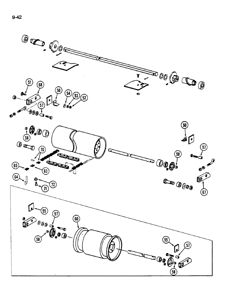
67
57
53
57
70
58
50
55
58
64
65
71
72
60
54
52
55
58
58
63
57
50
51
57
68
FIT
1:1
100%

Артикул

Название

Примечание

Количество

50

187364C2

ANGLE

- stop, upper

2шт.

51

598819R1

CARRIAGE BOLT,Sq Nk, 5/8" - 11 x 2 1/4", Gr 5

BOLT - round head square neck, 5/8 NC x 2-1/4 inch

2шт.

52

129-107

NUT,5/8"-11, G5

2шт.

53

192-25

LOCK WASHER,5/8"

WASHER, LOCK, 5/8"

2шт.

54

22810R1

SQ HOLE WASHER,41/64" x 1 1/4" x .060", Sq Hole

- flat, 21/32 square center x 1-1/4 x 3/64 inch

2шт.

55

187225C1

BAR

- stop, upper (With stone retarder) (With decal)

2шт.

57

187217C1

SPACER,7/8" Tube x 1 13/16"

- pivot, 7/8 x 1-13/16 inch

2шт.

58

11449P

SPACER,1 1/4" Pipe x 1/2"

- bearing, 1-1/4 x 1/2 inch

2шт.

60

1957439C1

DRUM

- conveyor (With stone retarder) (Replaces 187195C2)

1шт.

63

1324294C1

LINK,40.893mm Pitch

LINK ASSEMBLY - conveyor (With riveted pins) (Replaces 182094C1)

1шт.

64

1329837C1

PIN

- S Type (Replaces 23442R1)

2шт.

65

1324281C1

LINK,A557, Links x 41.4mm = mm

LINK ASSEMBLY - conveyor (Replaces 182090C1)

1шт.

67

1319875C1

BRACKET

ARM - feeder drum, left (Rice)

1шт.

68

1319876C1

BRACKET

ARM - feeder drum, right (Rice)

1шт.

70

1324835C1

OFFSET LINK

LINK ASSEMBLY - offset, conveyor (With roller) (Replaces 182187C1)

1шт.

71

113-207

BOLT,Hex, 3/8" - 16 x 1", Gr 5

1шт.

72

1306680C1

FLANGE NUT

NUT - hex flange collar lock

1шт.

Выбрано товаров: 0