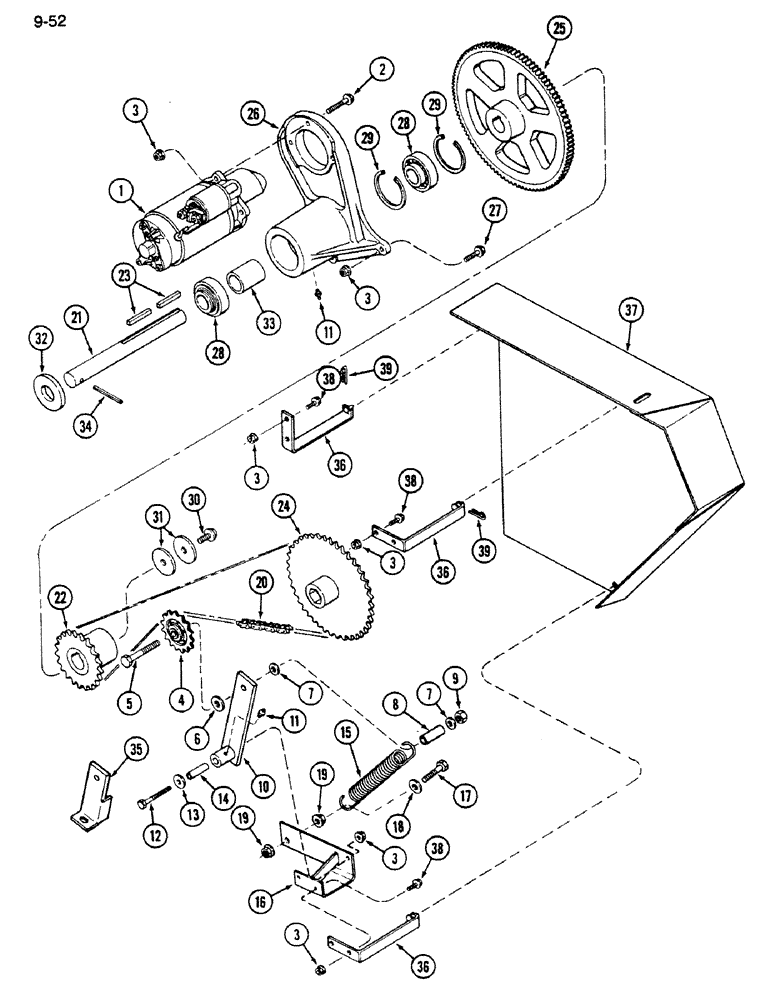
Запчасти Case IH 1620 (9-052) - FEEDER REVERSER, WITHOUT ROCK TRAP (13) - FEEDER

Схема запчастей Case IH 1620 - (9-052) - FEEDER REVERSER, WITHOUT ROCK TRAP (13) - FEEDER
3
39
11
11
31
28
10
5
3
17
27
3
35
22
9
21
38
32
3
1
36
2
19
24
29
7
6
28
38
33
37
23
19
8
16
25
36
39
7
36
14
12
4
26
3
38
18
29
20
15
30
3
13
34
FIT
1:1
100%

Артикул

Название

Примечание

Количество

1

REF

INSTRUCTION

MOTOR ASSEMBLY - feeder reverser, see Figure 4-046

1шт.

2

113-213

BOLT,Hex, 3/8" - 16 x 2-1/4", Gr 5

3шт.

3

482256R1

BEARING LOCK NUT,Flg, USR, 3/8"-16

- hex flange lock, 3/8 inch NC

12шт.

4

629972R91

DRIVE SPROCKET,15T

SPROCKET - idler, 15 teeth

1шт.

5

113-629

BOLT,Hex, 5/8" - 11 x 3-3/4", Gr 5

- hex, 5/8 NC x 3-3/4 inch

1шт.

6

25547R1

WASHER,21/32" x 1 5/16" x .188", HDN

- flat, 21/32 x 1-5/16 x 3/16 inch

1шт.

7

25976R1

WASHER,21/32" x 1 5/16" x .150", HDN

- flat, 21/32 x 1-5/16 x 5/64 inch

1шт.

8

UA17298

SPACER,7/8" Tube x 1 1/16"

- tube, 7/8 x 1-1/16 inch

1шт.

9

131-1219

LOCK NUT,5/8"-11, GC

NUT, LOCK, 5/8"-11, GC

1шт.

10

1321933C3

SUPPORT

- idler

1шт.

11

219-87

LUBE NIPPLE,1/4" - 28 NPTF

NIPPLE, LUBE, 1/4"-28 x .56" lg, Self-Tap

2шт.

12

113-241

BOLT,Hex, 3/8" - 16 x 3", Gr 5

1шт.

13

25553R1

WASHER,13/32" x 1 1/8" x .134", HDN

- flat, hardened, 13/32 x 1-1/8 x 9/64 inch

1шт.

14

221338H1

SPACER,10.3mm ID x 15.88mm OD x 50.8mm L

- tube, 5/8 x 2 inch

1шт.

15

1330032C1

SPRING

- return

1шт.

16

1957648C1

SUPPORT

- idler bar

1шт.

17

113-421

BOLT,Hex, 1/2" - 13 x 2", Gr 5

1шт.

18

25710R1

WASHER

- flat, 17/32 x 1-1/16 x 5/64 inch

1шт.

19

131-930

FLANGE NUT,Hex Serr, 1/2" - 13, Gr 5

- hex flange lock lock, 1/2 inch NC

2шт.

20

NSS

NOT SOLD SEPARAT

CHAIN - drive (Use 75 links from 10 foot roll marked 1793D and one link, 1317D)

1шт.

21

1321534C1

SHAFT

- reverser

1шт.

22

1329717C1

SPROCKET

- drive, 20 teeth

1шт.

23

Q51

KEY,3/8" Sq x 2 1/2", Par

2шт.

24

1329720C2

SPROCKET

- driven, 40 teeth

1шт.

25

1321537C91

FLYWHEEL

- reverser drive

1шт.

26

1321539C1

HOUSING

- shaft and motor

1шт.

27

187620C1

BOLT,Hex Serr Flg, 3/8" - 16 x 1 1/2"

- hex flange, 3/8 NC x 1-1/2 inch

2шт.

28

597537R91

BEARING ASSY,38.1mm ID x 80mm OD x 18mm W

BEARING - ball, shaft

2шт.

29

659676R1

SNAP RING,3.156", Int, #315

Ring, Snap, , brg 3.156", Int, #315

2шт.

30

174985C1

BOLT,Hex Serr, 1/2" - 13 x 1"

- hex flange, 1/2 NC x 1 inch

1шт.

31

22042R1

WASHER

- flat, 17/32 x 2 x 7/64 inch

4шт.

32

30190R1

WASHER,M39 x 78.5 x 7, HT

- flat, 39 x 78 x 7 mm

1шт.

33

1321523C1

SPACER

- feeder reverser

1шт.

34

28340R1

PIN,1/2" x 3", Coiled

1шт.

35

1317950C1

SUPPORT

- shaft speed monitor

1шт.

36

1321782C2

SUPPORT

- shield

3шт.

37

1321516C2

GUARD

SHIELD - feeder reverser

1шт.

38

154273C1

BOLT,Hex Serr, 3/8" - 16 x 1", Spcl

- hex lock, 3/8 NC x 1 inch

6шт.

39

480523R1

HAIR PIN COTTER

quick attachable

3шт.

Выбрано товаров: 39