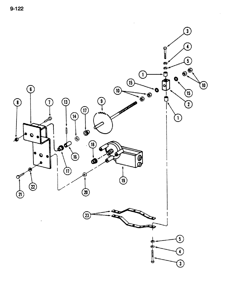
Запчасти Case IH 1620 (9-122) - CLEANING FAN DRIVE SPEED CONTROL (15) - BEATER & CLEANING FANS

Схема запчастей Case IH 1620 - (9-122) - CLEANING FAN DRIVE SPEED CONTROL (15) - BEATER & CLEANING FANS
21
14
13
4
15
15
4
8
10
17
18
22
2
20
5
23
9
1
3
7
1
10
16
5
19
6
17
3
FIT
1:1
100%

Артикул

Название

Примечание

Количество

1

27825R1

SPACER,8.5mm ID x 12.7mm OD x 12.7mm L

2шт.

2

181206C1

BLOCK

- fan speed control shaft

1шт.

3

113-103

BOLT,Hex, 5/16" - 18 x 1", Gr 5

2шт.

4

192-20

LOCK WASHER,Helical Spring, 0.318" ID, CST, ZND

WASHER, LOCK, 5/16"

2шт.

5

28588R1

WASHER

- flat, 11/32 x 11/16 x 3/64 inch

2шт.

6

181199C1

SUPPORT ASSY.

SUPPORT ASSEMBLY - speed control motor

1шт.

7

113-206

BOLT,Hex, 3/8" - 16 x 3/4", Gr 5, Full Thd

2шт.

8

482256R1

BEARING LOCK NUT,Flg, USR, 3/8"-16

- hex flanged, 3/8 inch NC

2шт.

9

181202C1

SHAFT ASSY.

STUD GEAR - shaft, adjusting

1шт.

10

129-107

NUT,5/8"-11, G5

4шт.

13

19928R1

PIN,3/16" x 3/4", Coiled

1шт.

14

22258R1

WASHER

- flat, 21/32 x 1 x 1/64 inch

1шт.

15

1302054C1

WASHER,15.95mm ID x 25.4mm OD x 1.52mm Thk

- fan control thrust

2шт.

16

181205C1

SPACER

- adjusting gear stud

1шт.

17

55826C1

BUSHING,15.9mm ID x 20.7mm OD x 12.7mm L

- fan speed control stud

2шт.

18

55825C1

BUSHING,8.03mm ID x 12.74mm OD x 9.65mm L

- fan speed control stud

1шт.

19

126573C1

MOTOR, ELECTRIC

MOTOR ASSEMBLY - fan variable speed

1шт.

20

22264R1

WASHER

- flat, 13/32 x 1 x 5/32 inch

3шт.

21

113-3

BOLT,Hex, 1/4" - 20 x 3/4", Gr 5

3шт.

22

192-19

LOCK WASHER,Helical Spring, 0.256" ID, CST, ZND

WASHER, LOCK, 1/4"

3шт.

23

REF

INSTRUCTION

SUPPORT - fan control, see Figure 9-120

2шт.

Выбрано товаров: 21